RMI,

https://blog.csdn.net/lx123010/article/details/125936857
以太网接口MII,RMII,SMII,GMII总线接口简介
所有的这些接口都从MII而来,MII是(MediumIndependent Interface)的意思,是指不用考虑媒体是铜轴、光纤、电缆等,因为这些媒体处理的相关工作都有PHY或者叫做MAC的芯片完成。
MII支持10兆和100兆的操作,一个接口由14根线组成,它的支持还是比较灵活的,但是有一个缺点是因为它一个端口用的信号线太多,如果一个8端口的交换机要用到112根线,16端口就要用到224根线,到32端口的话就要用到448根线,一般按照这个接口做交换机,是不太现实的,所以现代的交换机的制作都会用到其它的一些从MII简化出来的标准,比如RMII、SMII、GMII等。
RMII是简化的MII接口,在数据的收发上它比MII接口少了一倍的信号线,所以它一般要求是50兆的总线时钟。RMII一般用在多端口的交换机,它不是每个端口安排收、发两个时钟,而是所有的数据端口公用一个时钟用于所有端口的收发,这里就节省了不少的端口数目。RMII的一个端口要求7个数据线,比MII少了一倍,所以交换机能够接入多一倍数据的端口。和MII一样,RMII支持10兆和100兆的总线接口速度。
SMII是由思科提出的一种媒体接口,它有比RMII更少的信号线数目,S表示串行的意思。因为它只用一根信号线传送发送数据,一根信号线传输接受数据,所以在时钟上为了满足100的需求,它的时钟频率很高,达到了125兆,为什么用125兆,是因为数据线里面会传送一些控制信息。SMII一个端口仅用4根信号线完成100信号的传输,比起RMII差不多又少了一倍的信号线。SMII在工业界的支持力度是很高的。同理,所有端口的数据收发都公用同一个外部的125M时钟。
GMII是千兆网的MII接口,这个也有相应的RGMII接口,表示简化了的GMII接口。
上一章节讲到MII接口虽然很灵活,但是有一个缺点是因为它一个端口用的信号线有14根之多,如果一个 8 端口的交换机要用到 112 根线,16 端口就要用到 224 根线,到 32 端口的话就要用到 448 根线。一般按照这个接口做交换机是不太现实的。所以现代的交换机的制作都会用到其它的一些从 MII 简化出来的标准,比如 RMII、SMII、GMII等。
MII
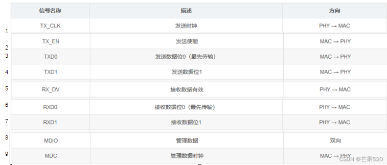
MII(Media Independent interface)即介质无关接口,它是IEEE-802.3定义的行业标准,是MAC与PHY之间的接口。MII数据接口包含16个信号和2个管理接口信号,如下图所示:

信号定义如下:

MAC 通过MII 接口读取PHY 状态寄存器以得知目前PHY 的状态。例如连接速度、双工的能力等。也可以通过 MII设置PHY的寄存器达到控制的目的。例如流控的打开关闭、自协商模式还是强制模式等。MII以4位半字节方式传送数据双向传输,时钟速率25MHz,其工作速率可达100Mb/s;当时钟频率为2.5MHz时,对应速率为10Mb/s。
RMII
RMII(Reduced Media Independant Interface),精简MII接口,节省了一半的数据线。RMII收发使用2位数据进行传输,收发时钟均采用50MHz时钟源。信号定义如下:
其中CRS_DV是MII中RX_DV和CRS两个信号的合并,当物理层接收到载波信号后CRS_DV变得有效,将数据发送给RXD。当载波信号消失后,CRS_DV会变为无效。
在100M以太网速率中,MAC层每个时钟采样一次RXD[1:0]上的数据,
在10M以太网速率中,MAC层每10个时钟采样一次RXD[1:0]上的数据,此时物理层接收的每个数据会在RXD[1:0]保留10个时钟。


SMII
SMII(Serial Media Independant Interface),串行MII接口。它包括TXD,RXD,SYNC三个信号线,共用一个时钟信号,此时钟信号是125MHz,信号线与此时钟同步。信号定义如下:
SYNC是数据收发的同步信号,每10个时钟同步置高一次电平,表示同步。TXD和RXD上的数据和控制信息,以10bit为一组。发送部分波形如下:
浙公网安备 33010602011771号