Ant Design of Vue 之 实现table表格组件实现隔行变色
背景
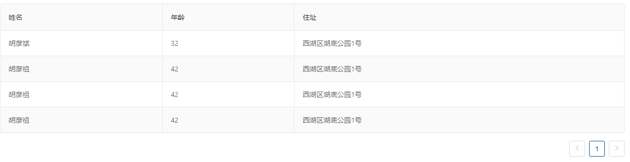
项目中需要基于ant vue 组件库 实现table 表格的隔行变色,具体如图。

具体实现
1.主要是通过/deep/实现,/deep/主要的运用的场景是在调用别人的组件时,想要修改部分的样式,但又不想影响组件在其他地方的使用。/deep/也可以替换成>>>。
/deep/ .ant-table-tbody .ant-table-row:nth-child(2n) {
background: #00060B;
}
2.第二种通过rowClassName表格行类目实现。效果如下图所示
<a-table :columns="tableColumn" bordered="" :rowclassname="rowClassName" align="center" :data-source="tableData">
</a-table>
rowClassName(record, index) {
let className = 'light'
if (index % 2 === 1) className = 'dark'
return className
}
------------------------------------

然后再写css样式。
/deep/ .light {
background: blue !important;
}
/deep/ .dark {
background: #262626 !important;
}

浙公网安备 33010602011771号