随着近几年人工智能的快速发展,人脸识别、视频结构化和大数据分析等技术不断完善,原本用途单一的安防产品功能逐步走向多元化。同时,安防产业开始与交通、社区、港务等多领域进行融合,安防的边界越来越模糊,安防产业已经进入一个全新的泛安防时代。

LiteCVR安防视频系统支持通过国标GB28181协议注册级联到第三方国标平台,同时也能进行实时云端存储、录像计划、检索与回看等功能。今天我们就来介绍下如何配置云端录像及查看录像。
1、配置开启录像(云端录像)
在LiteCVR【配置中心】—【录像计划】中,编辑录像计划,如图:

用户可以根据自己的录像需求,选择需要录像的时间点与日期,这样就能在规定时段内进行录像,非规定时间内则不录像,节省资源。
2、查看录像
云端录像支持多方式查看,包括时间轴视图与列表视图。时间轴视图还能精确拖动,方便查看。
1)时间轴视图

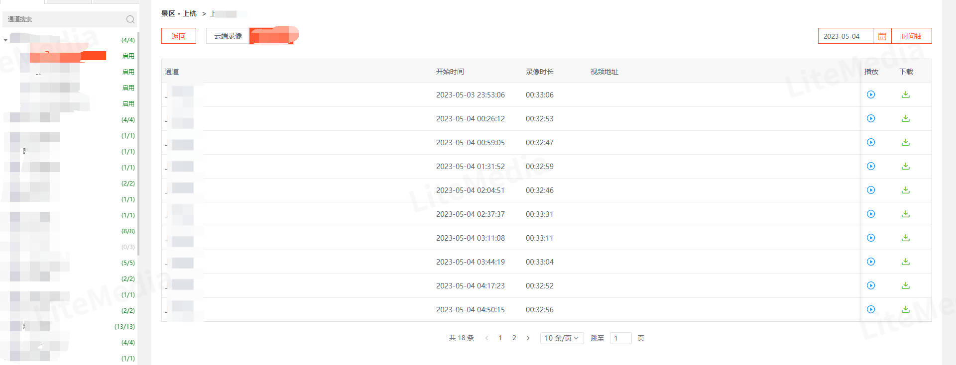
2)列表视图

3、录像接口
为了便于用户调用、集成与二次开发,我们也提供了丰富的API接口供用户使用,用户可以根据需求自由调用。

LiteCVR平台的视频能力可应用在多样化的场景上,包括城市“一网统管”建设、智慧工地风险预警、智慧工厂安全生产可视化监管、校园视频大数据综合管理等,结合AI智能分析网关,能实现人脸检测、人脸识别、车辆检测与识别、烟火识别、危险区域闯入检测、安全帽检测、消防通道占压检测、离岗睡岗检测等。

智能安防在向垂直领域不断拓展,基于视频图像应用的智慧能源、智慧工地、智慧园区、智慧港口等将迎来高速发展的时期。除了传统的交通、公安、社区等领域,视频监控未来在一些新兴领域会有更大发挥。
浙公网安备 33010602011771号