计算机毕设Java美容机构管理系统242i39(配套有源码 程序 mysql数据库 论文)
通过本套源码能够在文本联xi,先看具体架构功能演示视频领取,可分享源码参考。
通过随着互联网技术的飞速发展,传统美容机构的管理模式正面临着前所未有的挑战与机遇。过去,美容机构主要依赖于纸质记录和人工管理,这种方式不仅效率低下,而且容易出错。然而,如今通过计算机技术,特殊是Java语言的强大功能,我们能够构建一个高效、便捷且功能丰富的美容机构管理系统。这不仅能提升美容机构的运营效率,还能为客户提供更加个性化的服务体验。
在本任务中,大家设计并完成了一个基于Java的美容机构管理系统。该环境采用了先进的技术栈,包括Spring Boot框架、MySQL数据库以及Vue.js前端框架,确保了环境的高效性和稳定性。系统的首要功能模块包括:
用户管理:允许管理员添加、删除和修改用户信息,包括用户名、密码、角色等。
美容师管理:管理员行对美容师的信息进行管理,如工号、姓名、性别、联系电话、照片、执业年限等。
美容项目管理:支持对美容工程的全面管理,包括项目编号、名称、类型、封面、费用、美容师信息等。
美容产品管理:管理员可以添加、删除和修改美容产品的信息,如产品名称、分类、品牌、规格、价格、数量等。
项目预约管理:用户许可在线预约美容项目,管理员可以查看和管理预约信息。
系统管理:给予系统配置机制,如角色管理、权限设置等。
个人中心:用户可以查看和修改自己的个人信息,包括用户名、密码、头像等。
项目类型管理:管理员可以对美容计划的类型进行分类管理。
产品分类管理:拥护对美容产品的分类进行管理。
机构公告管理:管理员可以发布和管理机构的公告信息。
这些功能模块的设计旨在满足美容机构日常运营的多样化需求,从客户信息管理到服务预约,从产品库存到员工信息,系统都提供了全面的支持。利用该平台,美容机构允许实现信息化管理,提高工作效率,优化客户体验,从而在竞争激烈的市场中脱颖而出。
纯课题毕业设计效果介绍,并非实际开发完成,最终开发搞定的毕业设计程序以下面的的环境软件、功能图和界面为准。就是注:以上
系统所需的环境软件:idea、eclipse+mysql5.7、8.0+Navicat+JDK1.8+tomcat7.0
3.1可行性研究
凭借对系统研究目标及内容的分析审察后,提出可行性方案,并对其进行论述。主要从技术可行性出发,再进一步分析经济可行性和环境运行可行性分析、法律可行性分析等方面[8]。
3.1.1手艺可行性分析
手艺可行性分析基于现在web水平、软硬件水平能否开发出美容机构管理系统,经过对市面常见美容机构管理系统了解研究对比,以及此次美容机构管理系统的估测,预计在技术方面开发本美容机构管理系统是可行的。第一,JAVA语言发展成熟且市面十分流行,由JAVA完成本美容机构管理系统的开发、调试,结合市面成熟的集成开发软件辅助开发,且本电脑配置win10系统,足够满足本次美容机构管理系统开发。第二,验证技术发展迅速,使得本美容机构管理系统安全性很高。综上所诉,创建本美容机构管理系统完全可行[9]。
3.1.2 经济可行性分析
经济可行性分析,就是分析在现有经济情况下能否完成本美容机构管理系统的创建。下面对本框架开发、运行、维护的相关费用评估,以及投入到社会完成美容机构管理可能费用进行估算。网络资源丰富,本美容机构管理系统只需使用任选一开源服务器即可,此方面无需投入费用。开发阶段,由于本美容机构管理系统不属于大型系统,常规的电脑就可达成开发,不用购置相关硬件设备。软件方面,本美容机构管理系统只需使用网上免费下载的软件即可完成开发,这些软件在使用时轻松易懂,无需培训,因此此方面也无需投入费用。由于本美容机构管理系统不属于大型架构,运行时候电费许可忽略不记。美容机构管理系统作为自己毕设,由本人开发即可完成,无需人力费用。综上,整个系统创建花费很少,所以本美容机构管理系统在经济上可行[10]。
3.1.3 环境运行可行性分析
软件在能否在客户端使用并发挥效益的制约关键就是运行环境。计算机普及,现在人们接触各类系统频繁,日常生活使用计算机无障碍。并且该美容机构管理系统页面简单,通过显现页面引导即可完成本美容机构管理系统删除、增加、修改等功能。对计算机要求低,门槛低,通过常用浏览器即可使用本美容机构管理系统。因此在运行环境方面,本美容机构管理系统易于接受,是可行的[11]。
3.1.4 法律可行性分析
法律可行性分析,即分析本美容机构管理系统是否与各类法律相悖。本美容机构管理系统使用市面开源免费软件开发,且作为个人毕设,无商用,均为本人自主开发,并且页面设计合理,发布的信息要求符合常规。整个系统无抵触法律法规的问题。因此在法律上,本美容机构管理系统可行[12]。
3.2系统用例图
用例图,即以用户视角来描述本美容机构管理系统的作用,前面已经分析了本美容机构管理系统的总体设计,讨论了各个方面的需求。下面,将以管理员、用户、美容师为例。
管理员的用例图,如图3-1所示。

图3-1管理员用例图
用户的用例图,如图3-2所示。

图3-2 用户用例图
美容师的用例图,如图3-3所示。

图3-3 美容师用例图
3.3系统流程设计
3.3.1 系统编写流程
美容机构管理系统的设计和开发,首先要对用户的实际应用需求和具体情况进行细致的分析,分析出系统要搞定的全部功能,然后再针对整个系统的工作流程和能力进行设计,力求每个模块都能够达到用户的要求,最后通过测试来解决问题,保证系统的稳定和正常的运转,本系统的编写流程如图3-4所示。

图3-4系统开发流程图
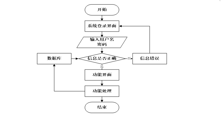
3.3.2 用户登录流程
登录流程实现了管理员和其他用户的登录,在登录页面需要用户填写自己的信息,前端页面会将信息传递给后端接口,然后查询数据库确定该身份有效后登录成功,否则此用户登录失败,要求重新填写信息,进行再次验证,如图3-5所示。

图3-5登录流程图
3.3.3 体系操控流程
确定的,这样一个规范的流程图行使开发者易于理解,高效的投入到接口开发中,从而提升系统开发效率。就是环境操作流程分析是软件开发过程中的一个关键环节,它是整个系统整体的运行过程,必须保证其中的每一个步骤都
同时,流程图还能减少开发者对系统操作流程产生歧义和降低沟通的成本,系统操作流程如图3-6所示。

图3-6体系操作流程图
3.3.4 添加信息流程
系统的正常运行离不开数据的支撑,因此,在本系统中添加了信息插入功能,数据库中数据的缺失,会直接影响到资料的查询结果,查询结果错误又会导致逻辑处理出现偏差,最终导致系统性错误或故障,所以在对系统进行资料添加处理时,必须要对数据进行合法性校验,确定此条数据是否有惟一的主关键字和字段是否允许为空等等,若数据库表中不允许某字段为空,而应用没有进行该字段非空逻辑校验,那么就会出现数据存储失败,可能因此造成严重系统后果。添加信息流程如图3-7所示。

图3-7添加信息流程图
3.3.5 修改信息流程
因为使系统的使用者是人,所以难免会有疏忽,从而造成系统输入的信息有误。或者由于其他原因导致数据发生改变,使得必须对系统内的数据进行相应的调整,所以在程序运行中,数据的修改处理是不可缺少的重要环节。
在进行数据更新时,必须要有一个惟一的主关键字,以便数据库能够查询到相应的数据;另外,还必须遵守数据插入过程的操作规范,以确保数据的正确性。修改信息流程图如图3-8所示。

图3-8修改信息流程图
3.3.6 删除信息流程
删除操控在系统中并非是必须的,可根据用户及系统的需要来决定是否添加删除功能,删除操作就是使用delete语句将数据库中的某一匹配数据删除,因为此操作会导致用户数据丢失,所以为了避免使用者误按删除键,应在用户点击删除按钮时添加一个提示确认弹窗,当用户确定要删除时,再进行数据库的操控,并且在删除运行完成后要对用户进行反馈。删除信息流程图如图3-9所示。

图3-9 删除信息流程图
4系统设计
4.1系统功能结构图
系统作用结构图是系统设计阶段,系统机制结构图只是这个阶段一个基础,整个系统的架构决定了系统的整体模式,是体系的根据。美容机构管理系统的整个设计结构如图4-1所示。

图4-1系统功能结构图
4.2系统数据库设计
对于美容机构管理系统而言,数据库中最核心的信息就是信息,并且有许多其他关联内容都储存于数据库中。随着时间推移,将发布大量信息于本系统中,届时数据库中也将蕴藏海量数据。一个优秀的数据库设计方案能在保证系统能够高效处理大量素材的同时保证系统的安全性。因此,在本美容机构管理系统设计方案中将数据库的设计摆在核心位置,将数据库设计视为系统设计的重要内容。
4.2.1数据库E-R图
E-R图,是经过用户的想法将一些数据形成一种关系结构,这种关系结构也可视为一种概念模型,而数据库的数据处理可以通过概念模型表现直观反映出来。由于E-R图是从用户的角度设立的模型,因此环境E-R图具有很强的实践意义。
美容师信息实体图如图4-2所示:

图4-2美容师信息实体图
用户信息实体图如图4-3所示:

图4-3用户信息实体图
美容产品实体图如图4-4所示:

图4-4美容产品实体图
美容项目实体图如图4-5所示:

图4-5美容项目实体图
5.1注册登录界面
用户需要输入正确的用户名和密码后才可能登录系统并正常使用。如果是第一次使用的新用户,应当先进行账户的注册。注册和登录的界面应当设置便捷的跳转按钮。当用户输入的信息不正确时应当进行相应的提示。如登录时输入的账户有误,应当提示用户该账户不存在。同样的,操作时应该提供积极的反馈,避免用户重复操作。如新用户注册账户时,要是注册成功应该提示“注册成功”的消息栏。
当用户成功登录后,应该进入到系统的导航界面。
否未登录状态。反之,假设该用户不存在,后台会返回对应的提示信息。就是登陆界面利用表单输入,点击登录按钮会将表单通过相关接口提交给前台、后台验证通过会返回用户的对应Token信息,将Token信息存储到浏览器Session Stroge中,保证浏览器可以判断用户
注册界面由用户名,密码组成,填写完整后通过相关接口提交,后台会将该用户信息存入Mysql数据库中,建立相关的表结构,返回注册成功code。
5.2前台系统功能模块
当游客打开系统的网址后,首先看到的就是首页界面。在这里,游客能够看到美容机构管理系统的导航条显示首页、美容师、美容项目、美容产品、机构公告、后台管理、个人中心。系统首页界面如图5-1所示:

图5-1 系统首页界面
在系统首页点击中间的注册/登录按钮,然后页面跳转到注册登录界面,后来输入信息完成后,单击注册或者登录操作,如图5-2,5-3所示:

图5-2用户注册界面

图5-3用户登录界面
用户点击美容师,在美容师页面的搜索栏输入美容师工号、美容师姓名等信息,进行查询,查看美容师工号、美容师姓名、性别、联系电话、照片、执业年限等信息,进行点我收藏或评论等操作。如图5-4所示:

图5-4美容师页面
用户点击美容项目,在美容项目页面的搜索栏输入项目名称、项目类型、美容师姓名等信息,进行查询,查看项目编号、项目名称、项目类型、工程封面、项目费用、美容师工号、美容师姓名、点击次数等信息,进行点我收藏或在线预约等操作,如图5-5所示:

图5-5美容工程界面
5.3管理员功能模块
管理员登录,利用登录页面输入用户名、密码、角色等信息,进行登录操作,如图5-6所示。

图5-6管理员登录界面图
管理员登录进入美容机构管理系统可以查看系统首页、个人中心、用户管理、项目类型管理、产品分类管理、美容师管理、美容项目管理、项目预约管理、美容产品管理、系统管理等信息,进行相应操作,如图5-7所示。

图5-7管理员功能界面图
管理员点击用户管理;在用户管理页面中输入用户名、姓名、性别、年龄、手机号、头像等内容,进行查询、新增或者删除用户信息等运行;如图5-8所示。

图5-8用户管理界面图
管理员点击美容师管理;在美容师管理页面中输入美容师工号、美容师姓名、性别、联系电话、照片、执业年限等内容,进行查询、新增或者删除美容师信息等操作;如图5-9所示。

图5-9美容师管理界面图
管理员点击任务类型管理;在项目类型管理页面中输入项目类型等内容,进行查询、新增或者删除项目类型等操作;如图5-10所示。

图5-10项目类型管理界面图
管理员点击产品分类管理;在产品分类管理页面中对产品分类等内容,进行查询、新增或者删除产品分类等处理;如图5-11所示。

图5-11产品分类管理界面图
管理员点击美容项目管理;在美容项目管理页面中对项目编号、项目名称、项目类型、项目封面、计划费用、美容师工号、美容师姓名、点击次数等信息,进行查询、新增或者删除美容工程等处理;如图5-12所示。

图5-12美容项目管理界面图
管理员点击美容产品管理;在美容产品管理页面中对产品名称、产品分类、品牌、规格、封面、价格、数量等内容,进行查询、新增或者删除美容产品等操作;如图5-13所示。

图5-13美容产品管理界面图
5.4用户功能模块
用户点击后台管理,然后页面跳转到系统主页面,主要包括对系统首页、个人中心、项目预约管理等机制进行操作。如图5-14所示:

图5-14 用户能力主界面
5.5美容师功能模块
在框架上美容师点击登录按钮,在登录界面填写信息搞定后,单击登录操作,如图5-15所示:

图5-15美容师登录界面
源码无偿分享,文未领取
浙公网安备 33010602011771号