Socket+华为云 实现广域网五子棋在线对战
几天前本人刚入门了Socket通信编程,粗略地理解了代码段的含义便迫不及待地把以前写的五子棋程序改成了联机版。但联机版程序只能在局域网下使用(也就是只能在一个wifi下联机),与其这样,还不如两个人使用一台电脑玩线下版呢。所以想进一步升级,使其在广域网下也可联机,而这后面的过程,差点没把我整猝死。去百度搜索如何实现广域通信,大多是内网穿透,云服务器。用了花生壳,路由侠映射端口,不行;设置了路由器,也不行;最后采用云服务器的办法,也是活生生搞了一整天才解决问题,真的是身心俱疲。写这篇文章是想给大家指明雷区,避免踩坑,同时也算是记录自己的成长吧。
一.代码改动
先放上本人之前写的五子棋代码:C语言实现简单的五子棋 。下面主要讲解代码的改动部分和云服务器的设置,五子棋代码不必详细看,几个月前写的了,太嫩,模块之间还没什么独立性,现在看着就想吐。
前后代码主要改动如下:
服务器端(第280行左右):
(前)
(后) 注意上面的红箭头,用宏替代具体ip,这也是折磨了我一天的地方,华为云才如此,阿里云不必! 此处bug是由csdn用户春休夏末 帮我花了一下午加一晚上才发现并修改的,十分感谢! 端口不固定,最好在5000到60000之间,且客户端与服务器端的端口必须相同!
上面的代码是Socket通信编程的基础,不再赘述,详细见下网址(强烈推荐!):
(前)
(后)
客户端仅仅将上右图中的count%2==1改成了count%2==0 代码解释:count%2==1说明服务器端先走棋(奇数步时走棋),getch()读入字符,把方向存入move,同时将move的内容send到client(客户)端。当步数为偶数时,服务器端便进入recv()函数,因为recv()是阻塞模式的函数,只有收到了client端的信息,才会继续下一步动作,所以这样就实现了客户端和服务器端的实时同步。
二.华为云设置
- 去华为云官网购买云服务器ECS(价格很实惠,早上10点也有免费领取的机会)

- 配置云服务器(关键!)

- 按以上顺序点击后进入到安全组,点击default的配置规则
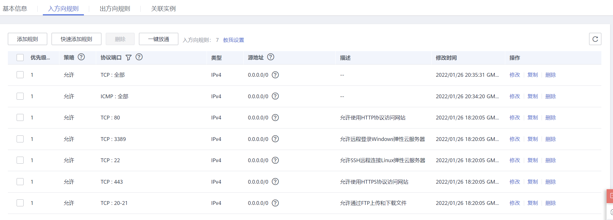
然后配置修改成如下图(入方向和出方向都要改!!!):

- 回到控制台界面,点击下图箭头所指按钮
默认为default
- 切换到桌面,按Win+R组合键,输入mstsc,运行后,在框内输入步骤2图中的公网ip,并点击右下角的显示选项 ,然后按下图顺序进行点击 ,最后点击连接

- 将本机VS2019 release模式下运行后生成的exe文件放入本机C盘,然后进入云服务器的镜像C盘,找到刚才我们放入的exe文件,双击运行。

点击此exe文件后,大多数系统会提示找不到dll文件,别慌,看下面连接:
7.在服务器端等待时,运行其他电脑或本机上的客户端即可!
二.附上详细代码
由于代码篇幅过长,不太好直接放在此处,需要的同学们自行点击下面链接进行下载吧。 详细代码下载
提取码:gzwb
多说的话:这两天本人为解决这个问题掉了不少头发,深深体会到在这条路上自学的不易,所以希望朋友们如果看见别人问了你所擅长的或经历过的东西,都请尽力地帮助他们解答,共同营造国内IT学习的良好氛围!

(前)
(后)
(前)
(后)
浙公网安备 33010602011771号