宝塔SQL数据库误删恢复
参考
https://blog.csdn.net/similing/article/details/105915208
https://blog.csdn.net/weixin_34637857/article/details/113350078
两步结合
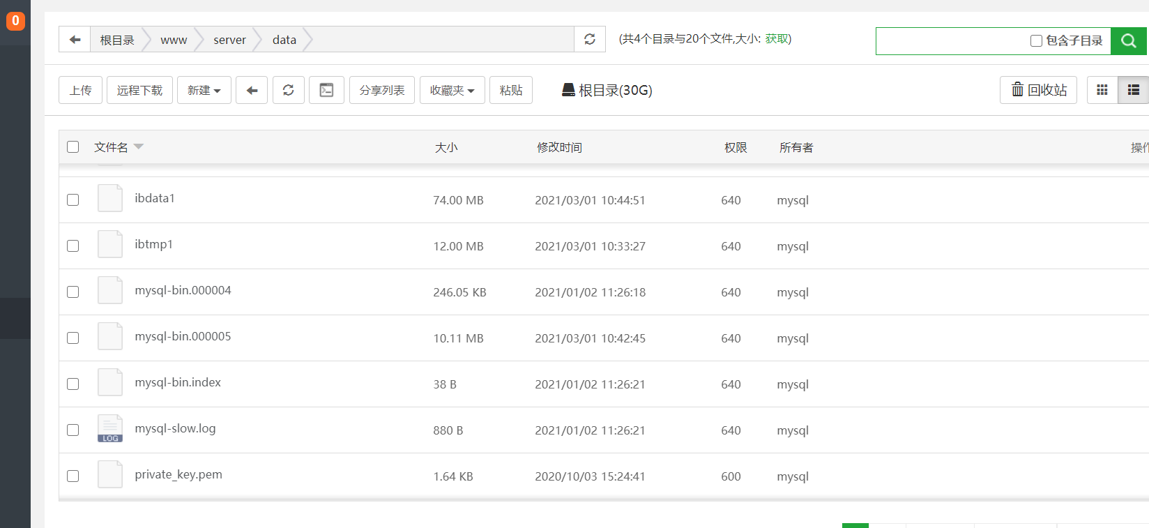
找到/www/server/data下mysql-bin.000005字样的文件,说明你还有救
cd /www/server/data
后输入下面的命令
/www/server/mysql/bin/mysqlbinlog --base64-output=DECODE-ROWS -v mysql-bin.000005 > /www/1.txt
/www/server/mysql/bin/mysqlbinlog --base64-output=DECODE-ROWS -v mysql-bin.000006 > /www/2.txt
我的最新版是000005

把1.txt用ide打开,找到了两个drop database之间夹着的所有sql语句,虽然也有很多乱七八糟的东西,另外复制粘贴保存到了1.sql
在1.sql的目录下执行
mysql -uroot -p -f 数据库名 < 1.sql
可算是恢复了
过程中可能出现很多error,但是应该不会有问题的
如出现unknown database 数据库名的样式,先自己创建一个吧
ps: 宝塔这个按钮一定要打开

浙公网安备 33010602011771号