会员
众包
新闻
博问
闪存
赞助商
HarmonyOS
Chat2DB
所有博客
当前博客
我的博客
我的园子
账号设置
会员中心
简洁模式
...
退出登录
注册
登录
板栗+
想要看到更远的风景,只有不断的攀爬!
博客园
首页
新随笔
联系
管理
订阅
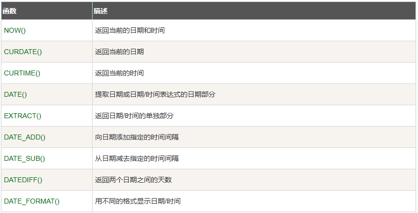
MySql时间函数
MySql重要的内建时间函数列表如下:
示例:
越努力,越幸运! 转载请注明出处,商用需征得作者同意,谢谢!
posted @
2025-06-19 12:04
板栗+
阅读(
12
) 评论(
0
)
收藏
举报
刷新页面
返回顶部
公告