【每日一题】20250311
【每日一题】
-
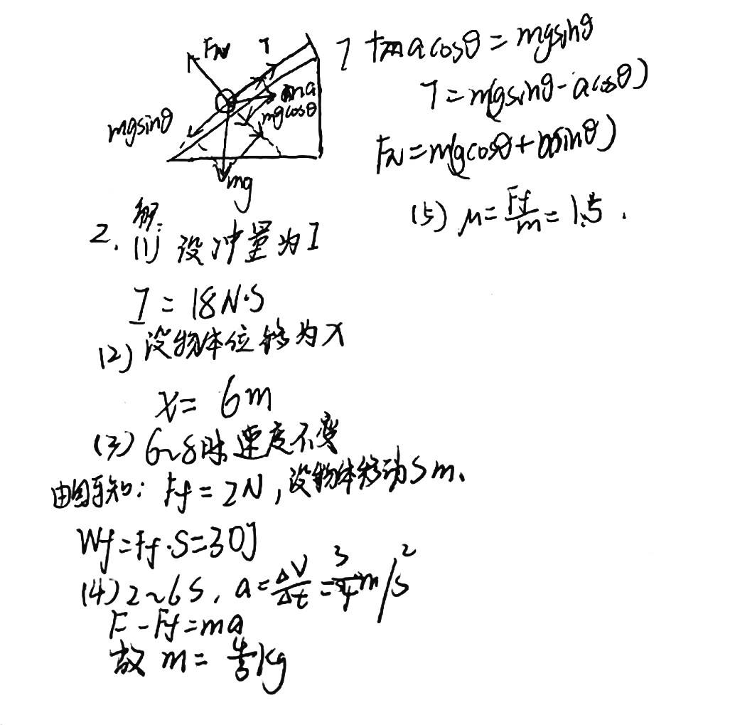
如图所示,细线的一端系一质量为 \(m\) 的小球,另一端固定在倾角为 \(\theta\) 的光滑斜面体顶端, 细线与斜面平行.在斜面体以加速度 \(a\) 水平向右做匀加速直线运动的过程中,小球始终静止在斜面上,小球受到细线的拉力 \(T\) 和斜面的支持力 \(F_N\) 分别为(重力加速度为 \(g\))
A. \(T=m(g\sin\theta+a\cos\theta)\),\(F_N=m(g\cos\theta-a\sin\theta)\)
B. \(T=m(g\cos\theta+a\sin\theta)\),\(F_N=m(g\sin\theta-a\cos\theta)\)
C. \(T=m(a\cos\theta-g\sin\theta)\),\(F_N=m(g\cos\theta+a\sin\theta)\)
D. \(T=m(a\sin\theta-g\cos\theta)\),\(F_N=m(g\sin\theta+a\cos\theta)\)
![image]()
-
(14分)
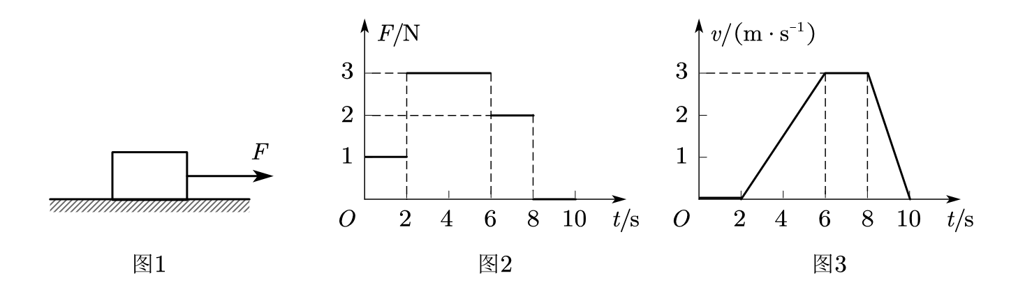
\(\hspace{0.7cm}\)一物体放在水平地面上,如图 \(1\) 所示,已知物体所受水平拉力 \(F\) 随时间 \(t\) 的变化情况如图 \(2\) 所示,物体相应的速度 \(v\) 随时间 \(t\) 的变化关系如图 \(3\) 所示.求:
\(\hspace{0.7cm}\)(1)\(0{\sim}8{ \; \mathrm{s}}\) 时间内,拉力的冲量;
\(\hspace{0.7cm}\)(2)\(0{\sim}6{ \; \mathrm{s}}\) 时间内,物体的位移;
\(\hspace{0.7cm}\)(3)\(0{\sim}10{ \; \mathrm{s}}\) 时间内,物体克服摩擦力所做的功;
\(\hspace{0.7cm}\)(4)物体的质量;
\(\hspace{0.7cm}\)(5)物体与水平地面之间的动摩擦因数.
![image]()
[试题来源:2013年安徽卷]
【每日一言】
我的掌上捧了一颗光明,
我想不到这个光明又给了我一个黑暗,
——
从此我才忠实于人间的光阴。
-《我认得人类的寂寞》废名

【学生撰写过程】

【答案】

未完待续~
2025-03-11 20:36:51 星期二

我的掌上捧了一颗光明,
我想不到这个光明又给了我一个黑暗,
——
从此我才忠实于人间的光阴。


浙公网安备 33010602011771号