【每日一题】20241217
【每日一题】
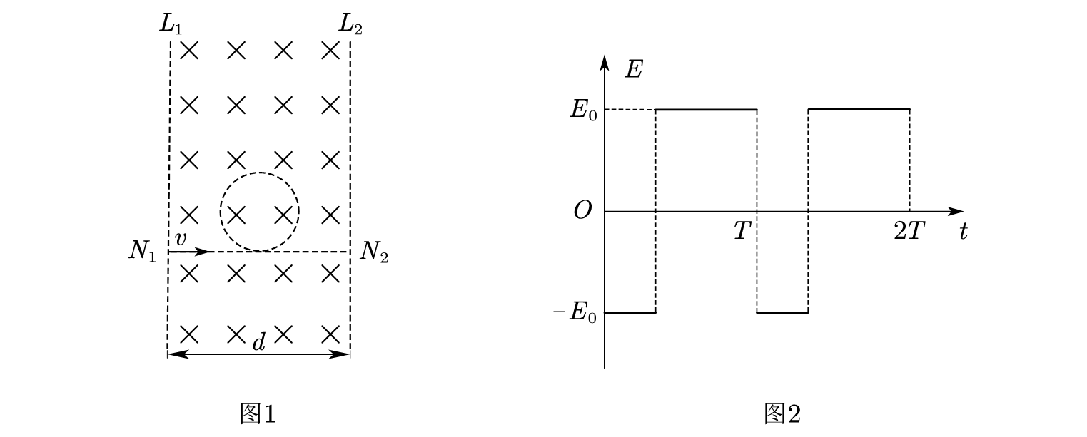
1.(14分)
\(\hspace{0.7cm}\)如图 \(1\) 所示,宽度为 \(d\) 的竖直狭长区域内(边界为 \(L_1\)、\(L_2\)),存在垂直纸面向里的匀强磁场和竖直方向上的周期性变化的电场(如图 \(2\) 所示),电场强度的大小为 \(E_0\),\(E>0\) 表示电场方向竖直向上.\(t=0\) 时,一带正电、质量为 \(m\) 的微粒从左边界上的 \(N_{1}\) 点以水平速度 \(v\) 射入该区域,沿直线运动到 \(Q\) 点后,做一次完整的圆周运动,再沿直线运动到右边界上的 \(N_{2}\) 点.已知 \(Q\) 为线段 $ N_1N_{2}$ 的中点,重力加速度为 \(g\).上述 \(d\)、\(E_0\)、\(m\)、\(v\)、\(g\) 为已知量.
\(\hspace{0.7cm}\)(1)求微粒所带电荷量 \(q\) 和磁感应强度 \(B\) 的大小;
\(\hspace{0.7cm}\)(2)求电场变化的周期 \(T\);
\(\hspace{0.7cm}\)(3)改变宽度 \(d\),使微粒仍能按上述运动过程通过相应宽度的区域,求 \(T\) 的最小值.

[试题来源:2010年安徽卷]
【每日一言】
每个人的生命中总有那么一刻决定他们将成为什么样的人。要是你不了解那个故事,就不了解那个人。-《一个叫欧维的男人决定去死》弗雷德里克.巴克曼

【学生撰写过程】

【答案】

未完待续~
2024-12-17 11:01:32 星期二

每个人的生命中总有那么一刻决定他们将成为什么样的人。要是你不了解那个故事,就不了解那个人。
浙公网安备 33010602011771号