IOTOS物联中台开发驱动支持NB-IoT气体感应报警器设备
本文章为原创,转载请注明出处!
账号:iotos_test 密码:iotos123
代码地址:
目录
-
前言
窄带物联网(Narrow Band Internet of Things, NB-IoT)成为万物互联网络的一个重要分支。NB-IoT构建于蜂窝网络,只消耗大约180kHz的带宽,可直接部署于GSM网络、UMTS网络或LTE网络,以降低部署成本、实现平滑升级。NB-IoT的设备可以连接至三大运营商的IoT平台,方便了设备的对接
-
驱动目的
将连接至电信平台的NB气体感应报警器的数据拿到并上云展示
-
适用范围
品牌为JT-TCN,型号为5010的气体感应报警器 ,能将设备绑定在电信平台
-
使用示例
- 进入
- 进入
- 填好网关名称后点击确认
- 创建设备示例点击【我的设备】 -> 【通信网关】 -> 【设备实例】->【创建设备】
- 填写【设备名称】、选择刚刚创建的【模板驱动】和【通信网关】。
- 创建数据点,点击【系统设备】 -> 【通信网关】 -> 【设备实例】 -> 【数据点】,并在【设备实例】下拉列表选择刚刚创建的设备实例
- 点击右边的创建数据点,填写名称
- 并在高级配置中配置数据点的相关标志,“参考信号接收功率 ”,“燃气检测状态 ”,这两个为接收数据的两种数据类型的第一个点,配置"private"属性用于驱动识别,分别配置为show_data,gas_event,例如“参考信号接收功率”这个点的配置:
- 其他数据数据点中的属性需要填写"point"和"index",第一种类型的数据点中的point填写"参考信号接收功率"该数据的oid,第二类数据点中的point填写"燃气检测状态"该数据点的oid,第一类数据点中燃气AD值、IMEI、小区位置信息、物理小区标识、继电器状态、设备状态、信号与干扰加噪声比、无线信号覆盖等级、数据上报时间。index分别填写9、8、7、......、1。第二类数据点中报警时间。index填写1。例如,”报警时间“:
- 在【系统设备】 -> 【通信网关】中找到刚才创建的网关,点击【高级】
- 开启云网关,密码为账号密码
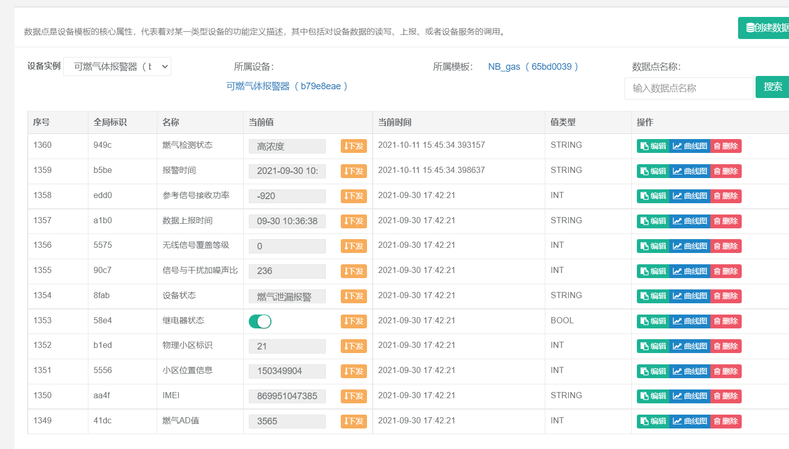
- 点击 【系统设备】 -> 【通信网关】 -> 【设备实例】->【数据点】,选择刚才创建的设备实例
- 即可查看数据已经上报成功
-
驱动代码













