IOTOS物联中台开发驱动支持NB-IoT光电感烟火灾探测报警器设备
本文章为原创,转载请注明出处!
账号:iotos_test 密码:iotos123
代码地址:
目录
- 
前言
 
窄带物联网(Narrow Band Internet of Things, NB-IoT)成为万物互联网络的一个重要分支。NB-IoT构建于蜂窝网络,只消耗大约180kHz的带宽,可直接部署于GSM网络、UMTS网络或LTE网络,以降低部署成本、实现平滑升级。NB-IoT的设备可以连接至三大运营商的IoT平台,方便了设备的对接
- 
驱动目的
 
将连接至电信平台的NB光电感烟火灾探测报警器的数据拿到并上云展示
- 
适用范围
 
品牌为JTY-GD-TCN,型号为2010或者1010的光电感烟火灾探测报警器 ,能将设备绑定在电信平台
- 
使用示例
 - 进入
 
- 进入
 
- 填好网关名称后点击确认
 
- 创建设备示例点击【我的设备】 -> 【通信网关】 -> 【设备实例】->【创建设备】
 
- 填写【设备名称】、选择刚刚创建的【模板驱动】和【通信网关】。
 
- 创建数据点,点击【系统设备】 -> 【通信网关】 -> 【设备实例】 -> 【数据点】,并在【设备实例】下拉列表选择刚刚创建的设备实例
 
- 点击右边的创建数据点,填写名称
 
- 并在高级配置中配置数据点的相关标志,“烟雾报警时小区位置信息”,“防拆报警时小区位置信息”,“电池电量”这三个为接收数据的三种数据类型的第一个点,配置"private"属性用于驱动识别,分别配置为smoke_event,tamper_event,show_data,例如“烟雾报警时小区位置信息”这个点的配置:
 
- 其他数据数据点中的属性需要填写"point"和"index",第一种类型的数据点中的point填写"电池电量"该数据的oid,第二类数据点中的point填写"防拆报警时小区位置信息"该数据点的oid,第三类数据点中的point填写"烟雾报警时小区位置信息"该数据点的oid,第一类数据点IMSI、ICCID、物理小区标识、硬件版本、电池电压、参考信号接收功率、终端型号、IMEI、厂家名称、信号与干扰加噪声比、无线信号覆盖等级、心跳周期、数据上传时间、软件版本、小区位置信息。index分别填写15、14、13、.........、1。第二类数据点防拆报警时间、防拆报警时信号强度、防拆报警时终端发射功率、防拆报警、防拆报警时信噪比。index分别填写5、4、3、2、1。第三类数据点烟雾报警时间、烟雾报警时信号强度、烟雾报警时终端发射功率、烟雾报警时信噪比、烟雾浓度、烟雾报警。index分别填写6、5、4、3、2、1。例如烟雾报警:
 
- 在【系统设备】 -> 【通信网关】中找到刚才创建的网关,点击【高级】
 
- 开启云网关,密码为账号密码
 
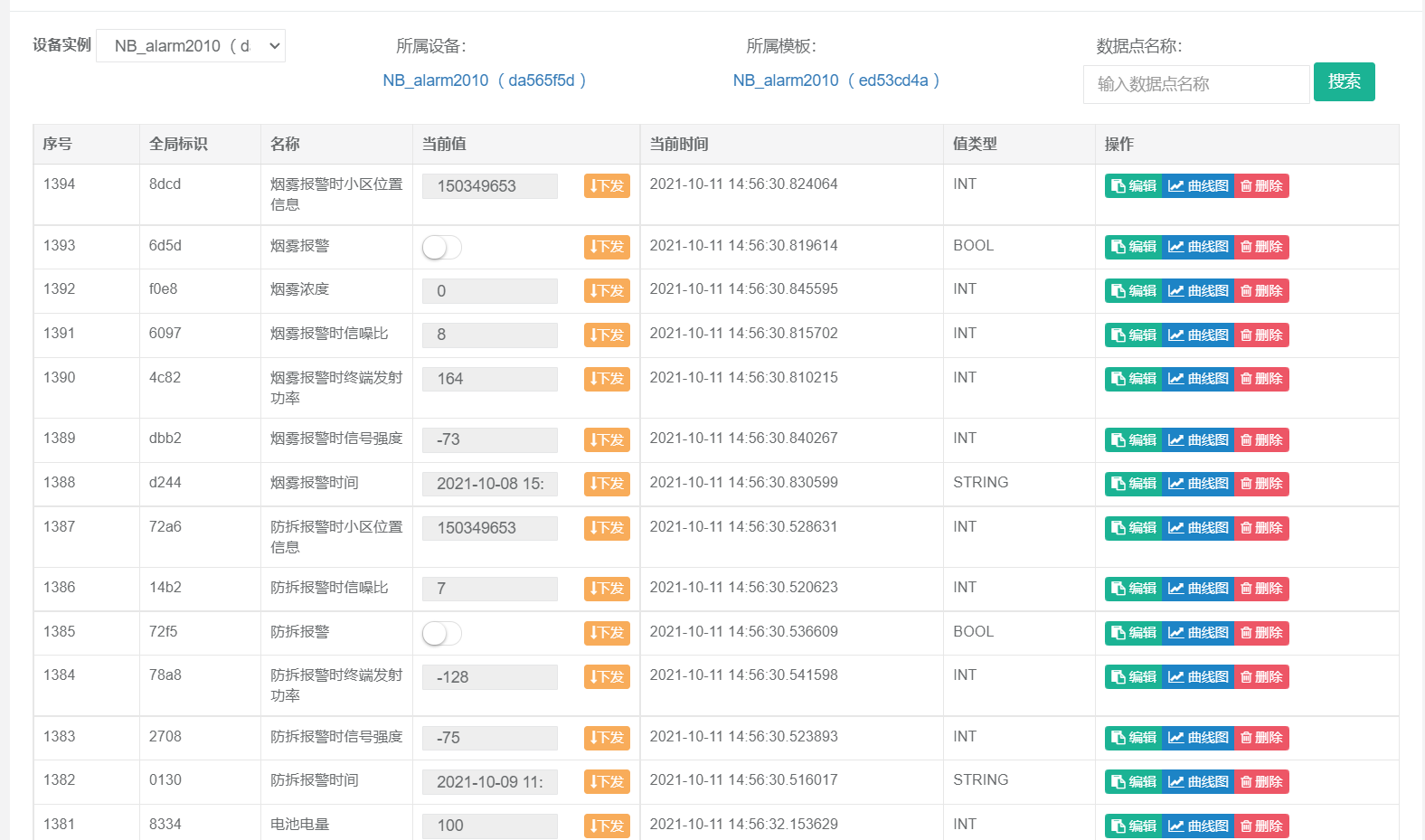
- 点击 【系统设备】 -> 【通信网关】 -> 【设备实例】->【数据点】,选择刚才创建的设备实例
 
- 即可查看数据已经上报成功
 
- 
驱动代码
 
                    
                











