小程序接口
接口json内容
login
登录接口
url: /xxsc/wx_login,
method: post,
data: {
openid
}
,接受一个参数openid,作为用户的标识
返回data {
openid: 接受到的openid:
}
history
查询历史订单接口
url: /xxsc/order_history,
method: get,没有参数
返回data[{
order_id,
create_time,
goods_title,
goods_name,
search_data: 【这条订单的查询结果】
}
]
首页获取所有工具
url: '/xxsc/tools_list' ,method: 'get', params: {}
data: {
tools: [{
id: 1,
name: 'phone_iden',
img: 'https://www.tongchaba.com/img/icon/tc_online.png',
title: '手机号实名制验证',
text: ' 手机号实名认证查询产品是通过输入姓名,手机号,来验证是否一致,以此来判断该手机号是否实名制。'
price: 0,
request_url: '/xxsc/phone_iden',
url: '/pages/tools/tool?tool=phone__iden'
}, {
id: 2,
name: 'id_info',
img: 'https://www.tongchaba.com/img/icon/tc_zmxy.png',
title: '身份证实名制验证',
text: '身份证实名制查询,输入身份证姓名和号码来进行身份证实名验证。'
price: 0,
request_url: '/xxsc/id_info',
url: '/pages/tools/tool?tool=id_info'
} {
id: 3,
name: 'company_info',
img: 'https://www.tongchaba.com/img/icon/tc_pcssq.png'
title: '企业信工商息查询',
text: ' 企业信息综合报告是根椐企业全称获取该企业信息综合报告,报告内容包含企业主要人员,股东信息,股权控制路径等。'
price: 0,
request_url: '/xxsc/company_info',
url: '/pages/tools/tool?tool=company_info'
}, {
id: 4,
name: 'vin'
img: 'https: //www.tongchaba.com/img/icon/tc_newpro.png',
title: '车架号查询车辆信息',
text: ' 传入车辆识别码(车架号)VIN即可获取车辆的品牌、型号、出厂日期、发动机类型、排量等车辆参数.',
count: 1982,
price: 0
request_url:'/xxsc/vin'
url: '/pages/tool/tool?tool=vin'
}, {
id:5,
name:'dishonest_person'
img: 'https://www.tongchaba.com/img/icon/tc_swsjyz.png',
title: '失信被执行人查询',
text: '失信被执行人查询是通过姓名、手机号和身份证号,查询全国失信被执行人名单。',
price: 0,
count: 398,
request_url:'/xxsc/dishonest_person'
url: '/pages/tool/tool?tool=dishonest_person '
}
]
}
各个工具接口
phone_iden
url: ' / xxsc / tool ' method: ' get ', params: {
tool: phone_iden
}
data: { {
"id": 1,
"title": "手机号实名认证查询",
"price": "5元/次",
"text": "手机号实名制查询产品是通过输入姓名,身份证号,手机号,来验证是否一致,以此来判断该手机号是否实名制。本产品只能验证身份证、手机号与姓名匹配真伪的功能,不能查询用户地址及其他信息。",
"img": "https://www.tongchaba.com/img/icon/tc_online.png",
"introduce": [
"1、产品功能",
" 手机号实名制查询产品是通过输入姓名,身份证号,手机号,来验证是否一致,以此来判断该手机号是否实名制。本产品只能验证身份证、手机号与姓名匹配真伪的功能,不能查询用户地址及其他信息。",
"2、数据内容包含",
"省份、城市、区县、性别、生肖、星座、手机号归属省份、手机号归属城市、手机号运营商。",
"3、量级及覆盖范围",
"支持移动、电信、联通三大运营商实体店做过实名认证的用户,数据更新周期:联通T+1 、电信T+3 、移动T+3 ,均为工作日",
],
"tip": "数据来自第三方数据供应商,结果显示常规公开项,不含个人隐私信息。",
"url": "/pages/tool/tool?tool=phone_iden",
"request_url": "/xxsc/tool_phone_iden",
"form_data_format": [{
"id": 1,
"name": "name",
"label": "名字",
"tip": "",
"required": true
}, {
"id": 2,
"name": "phone",
"label": "手机号",
"tip": "",
"required": true
}, {
"id": 3,
"name": "id",
"label": "身份证号",
"tip": "",
"required": true
}
],
"example": [{
key: ' 姓名 ',
value: ' 张三 '
}, {
key: ' 身份证号 ',
value: ' 340421198010145412 '
}, {
key: ' 信息匹配 ',
value: ' 身份证信息匹配 '
}, {
key: ' 身份证籍贯 ',
value: ' 安徽省淮南市凤台县 '
}, {
key: ' 生日 ',
value: ' 1907年10月14日 '
}, {
key: ' 性别 ',
value: ' 男 '
}, {
key: ' 年龄 ',
value: ' 42 '
},
]
}
}
-
输入数据参数:
-
手机号
-
姓名
-
身份证号
-
返回前端查询结果数据:
成功例子 :
{
"respCode": "0",
"respMessage": "成功",
"result": {
"res": "1", //验证结果 1:一致 2:不一致 3:无记录 -1:异常
"查询的手机号": "15014310020",
"姓名": "郭暹鑫",
"身份证号": "440582199908204295",
"验证结果": "一致",
"性别": "男",
"出生日期": "19990820",
"地址": "广东省汕头市潮阳市"
}
}
失败例子:
{
"respCode": "20010",
"respMessage": "身份证为空或不标准",
"result": null
}
respCode + respMessage 的对应提示信息表:

预想结果:
id_iden
url: ' / xxsc / tool ' method: ' get ' params: {
tool: id_iden
}
返回data: {
"id": 2,
"name": "id_iden",
"title": "身份证实名制查询",
"price": "5元/次",
"text": "身份证实名制查询,输入身份证姓名和号码来进行身份证实名验证。",
"img": "https://www.tongchaba.com/img/icon/tc_zmxy.png",
"introduce": [
" 1、产品功能" ,
"身份证实名制查询, 输入身份证姓名和号码来进行身份证实名验证,本产品只能验证身份证与姓名匹配真伪的功能,不返回个人头像和地址信息。",
"2、数据内容包含:",
"姓名、身份证号、身份证籍贯、出生日期、性别、星座、属相和匹配结果。",
],
"tip": "数据来自第三方数据供应商,结果显示常规公开项,不含个人隐私信息。",
"url": "/pages/tool/tool?tool=id_iden",
"request_url": "/xxsc/toolid_iden",
"form_data_format": [{
"id": 1,
"name": "name",
"label": "名字",
"tip": "",
"required": true
}, {
"id": 2,
"name": "id",
"label": "身份证",
"tip": "",
"required": true
}
],
"example": [{
key: ' 手机号 ',
' value : ' 17600123456 '
}]
}
- 输入数据参数:
- 姓名
- 身份证号
返回前端查询结果数据:
成功例子 :
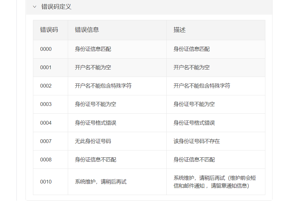
{
"respCode": "0000",
"respMessage": "身份证信息匹配",
"result": {
"查询的姓名": "郭暹鑫",
"身份证号码": "440582199908204295",
"身份证籍贯": "广东省汕头市潮阳区",
"出生日期": "1999-08-20 ",
"年龄": 23,
"性别": "M",
"星座": "狮子座",
"生肖": "龙"
}
}
失败例子:
{
"respCode": "0008",
"respMessage": "身份证信息不匹配",
"result": {
"查询的姓名": "郭郭",
"身份证号": "440582199908204295"
}
}
respCode + respMessage 的对应提示信息表:

预想结果

company_info
url: ' / xxsc / tool ' method: ' get ' params: {
tool: company_info
}
返回data: {
"id": 3,
"name": "company_info",
"title": "企业工商信息查询",
"price": "5元/次",
"text": "通过企业详细名称(精准全称)查询企业的工商注册信息、主要成员等信息。使用本系统查询的企业必须是在国内注册的企业(不包含港澳台企业)",
"img": "https://www.tongchaba.com/img/icon/tc_pcssq.png",
"introduce": [
" 1、产品功能:",
" 通过企业详细名称(精准全称)查询企业的工商注册信息、主要成员等信息。使用本系统查询的企业必须是在国内注册的企业(不包含港澳台企业)",
"2、数据内容包含:", "工商详情、经营状态、注册资本、企业类型、登记日期、经营期限、企业地址、经营范围、股东信息、成员信息、分支机构、对外投资、联系信息等。(部分刚成立的企业因为年报信息或者数据更新问题,可能查询不到联系方式,敬请见谅。)",
],
"tip": " 数据来自第三方数据供应商,结果显示常规公开项,不含个人隐私信息。 ",
" url": "/pages/tool/tool?tool=company_info ",
"request_url": "/xxsc /tool_company_info",
"form_data_format": [{
"id": 3,
"name": "company_name ",
"label": "企业全称",
"tip": " ",
"required": true
},
],
"example": [{}, ]
}
vin
url: ' / xxsc / tool ' method: ' get ' params: {
tool: vin
}
返回data: {
" id ": 4,
" name ": " vin ",
" title ": " 车架号查询’车辆信息",
" price ": " 5元 / 次 ",
" text ": " 传入车辆识别码(车架号)VIN即可获取车辆的品牌、型号、出厂日期、发动机类型、排量等车辆参数。 ",
'img': 'https: //www.tongchaba.com/img/icon/tc_newpro.png',
" introduce ": [
" 1、产品功能: "
" 车架号查询车辆信息是根据车架号VIN码查询车辆信息 "
" 2、数据内容包含: "
" 车辆品牌、车辆型号、车辆类型、发动机号、进气形式、VIN码、上市年份、停产日期、驱动类型、燃料类型、排量等",
" 3、收费标准: "
" 按单次查询扣费,2元 / 次; "
],
" tip ": " 数据来自第三方数据供应商,结果显示常规公开项,不含个人隐私信息。 ",
" url ": "/pages/tool/tool?tool=vin ",
" request_url ": "/xxsc/tool__vin ",
" form_data_format ": [{
" id ": 4,
" name ": " vin ",
" label ": " 车架号 ",
" tip ": " ",
" required ": true
},
],
}
dishonest_person
url: ' / xxsc / tool ' method: ' get ' params: {
tool: dishonest_person
}
返回data: {
" id ": 5,
" name : ”dishonest_person ",
" title ": " 失信被执行人查询 ",
" price ": " 5元 / 次 ",
" text ": "失信被执行人查询是通过姓名、手机号和身份证号,查询全国失信被执行人名单。",
" img ": ' https: //www.tongchaba.com/img/icon/tc_swsjyz.png',
" introduce ": [
" 1、产品功能: ",
" 失信被执行人查询是通过姓名和身份证号,查询全国失信被执行人名单 ",
" 2、数据内容包含: ",
" 案号、姓名、执行法院、判决法院、省份、被执行人的履行情况、发布时间、身份证号、失信被执行人行为具体情形。 ",
],
" tip ": " 数据来自第三方数据供应商,结果显示常规公开项,不含个人隐私信息。 ",
" url ": "/pages/tool/tool?tool=dishonest_person ",
" request_url ": "/xxsc/tool_dishonst_person ",
" form_data_format ": [{
" name ": " name ",
" label ": " 名字 ",
" tip ": " ",
" required ": true
}, {
" name ": " id ",
" label ": " 身份证 ",
" tip ": " ",
" required ": true
}
]
}
浙公网安备 33010602011771号