运算放大器的扩压扩流电路(一)
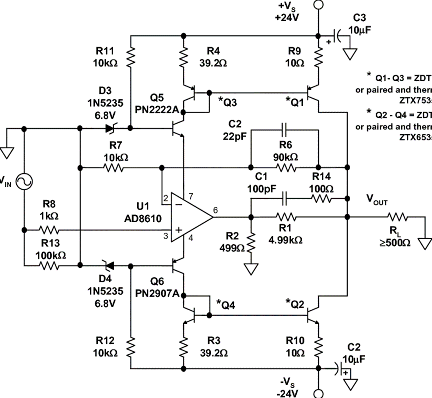
网络上可以搜索到的扩压扩流电路的结构如下:

简单更改一下,将后级的比例电流源改成驱动MOS管,这样既可以提升电压,也扩压加大电流,如下图所示。

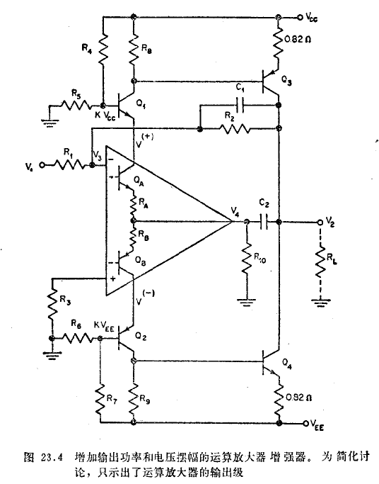
如果不理了解运算放大器的内部电路,则这种电路结构较难理解;但如果了解运算放大器的内部结构,参考《运算放大器电路设计手册》,如果配合上运算放大器的内部结构,则更容易理解这种电路结构。这种结构在《运算放大器电路设计手册》中称为运算放大器输出电压增强器(这本书比较古老),在网络上搜索Op Amp Voltage Boost Circuit或者Op Amp Current Boost Circuit都可以搜索到类似的结构。


浙公网安备 33010602011771号