【项目】工艺品展示系统——功能实现(后台)
后台登陆
后台的也是使用的md5的密码加密,默认用户名和密码都是admin。后台登录和首页界面如下图16、图17所示:

public function login(){
//获取username 和password的值
$username=I('post.username');
$password=I('post.password');
$map['username']=$username;
$user_info=$this->config_model->where($map)->find();
//判断用户是否存在
if(!$user_info){
$this->error('用户名不存在');exit;
}//判断密码是否正确
if($user_info['password']!=MD5($password)){
$this->error('密码错误');exit;
}
session("user_info",$user_info);
$this->success("登录成功",U('/Index/index'));
}
工艺品管理
后台的工艺品管理是对前台的工艺品进行添加,删除,修改,查询等操作。后台工艺品管理和编辑界面如图18、图19所示:

public function index(){
//搜索查询分类
$map['is_delete']=0;
$cat_list=$this->cat_model->get_all_cat($map,10000);
$this->assign('list',$cat_list);
$cat_id=I('get.cat_id')+0;
$keywords=I('get.keywords');
if($cat_id>0){
$map['cat_id']=$cat_id;
}
//按照关键字查询
if(!empty($keywords)){
$map['title']=array("like","%".$keywords."%");
}
//分页功能
$num=5;
$data['is_delete']=0;
$blog_count=$this->blog_model->where($data)->count();
$page=new Page($blog_count,$num);
$show=$page->show();
$this->assign("show",$show);
$limit=$page->firstRow.','.$page->listRows;
//取出列表按照sort_num排序的
$blog_list=$this->blog_model->where($map)->limit($limit)->order('sort_num desc')->select();
$this->assign("blog_list",$blog_list);
$this->display();
}

public function edit_art(){
$id=I('get.id');
$blog_info=$this->blog_model->find($id);
$this->assign("blog_info",$blog_info);
$map['is_delete']=0;
$cat_list=$this->cat_model->get_all_cat($map,10000);
$this->assign('list',$cat_list);
$this->display();
}
public function save_art(){
$cat_id=I('post.cat_id');//接受分类id
$content=I('post.content');//接受内容
$title=I('post.title');//接受标题
$sort_num=I('post.sort_num');//接受排序
$pv=I('post.pv');//点击
$author=I('post.author');//作者
$state=I('post.state');//状态
$subtitle=I('post.subtitle');//状态
$data=compact("cat_id","title","content","sort_num","pv","author","state","subtitle");
$data['add_time']=time();//接受时间
if (is_uploaded_file ( $_FILES ['img'] ['tmp_name'] )) {
$icon = $_FILES ['img'];
$iconPath = "Public/images/blogimg/" . time () . $icon ['name'];
$data ["img"] ="/blog/$iconPath";
move_uploaded_file ( $icon ['tmp_name'], $iconPath );
}
//接受 博文的id 并且取整
$id=I('post.id');
if($id>0){
$map['id']=$id;
$data['update_time']=time();
$res=$this->blog_model->where($map)->save($data);
if($res){
$this->success("编辑成功",U('/Art/index'));
}else{
$this->success("编辑失败",U('/Art/index'));
}
}else{
$res=$this->blog_model->add($data);
if($res){
$this->success("添加成功",U('/Art/index'));
}else{
$this->success("添加失败",U('/Art/index'));
}
}
}
//删除
public function del_art(){
$id=I('get.id');
$map["id"]=$id;
$res=$this->blog_model->where($map)->delete();
if($res){
$this->success("删除成功",U('/Art/index'));
}else{
$this->success("删除失败",U('/Art/index'));
}
}
//批量删除
public function del_all_art(){
$id=trim(I('get.id'),",");
if($id==""){
$this->error("参数丢失");
exit;
}
//这里将参数整合在一起二维数组
$id_list=explode(',',$id);
$map['id']=array("in",$id_list);
$data['is_delete']=1;
$res=$this->blog_model->where($map)->save($data);
if($res){
$this->success("删除成功");
}else{
$this->success("删除失败");
}
}
用户管理
后台的用户管理,对前台的用户的登录权限进行管理。如图20所示:

public function person(){
$num=8;
$data['is_forbid']=0;
$blog_count=$this->person_model->where($data)->count();
$page=new Page($blog_count,$num);
$show=$page->show();
$this->assign("show",$show);
$limit=$page->firstRow.','.$page->listRows;
$person_list=$this->person_model->limit($limit)->select();
$this->assign('person_list',$person_list);
$this->display();
}
public function forbid(){
$map['id']=I('get.id');
$obj = M("Person");
$data['is_forbid']=1;
if($obj->where($map)->save($data)){
$this->success("修改成功",U('/Art/person'));
}else{
$this->success("修改成功",U('/Art/person'));
}
}
public function unforbid(){
$map['id']=I('get.id');
$obj = M("Person");
$data['is_forbid']=0;
if($obj->where($map)->save($data)){
$this->success("修改成功",U('/Art/person'));
}else{
$this->success("修改成功",U('/Art/person'));
}
}
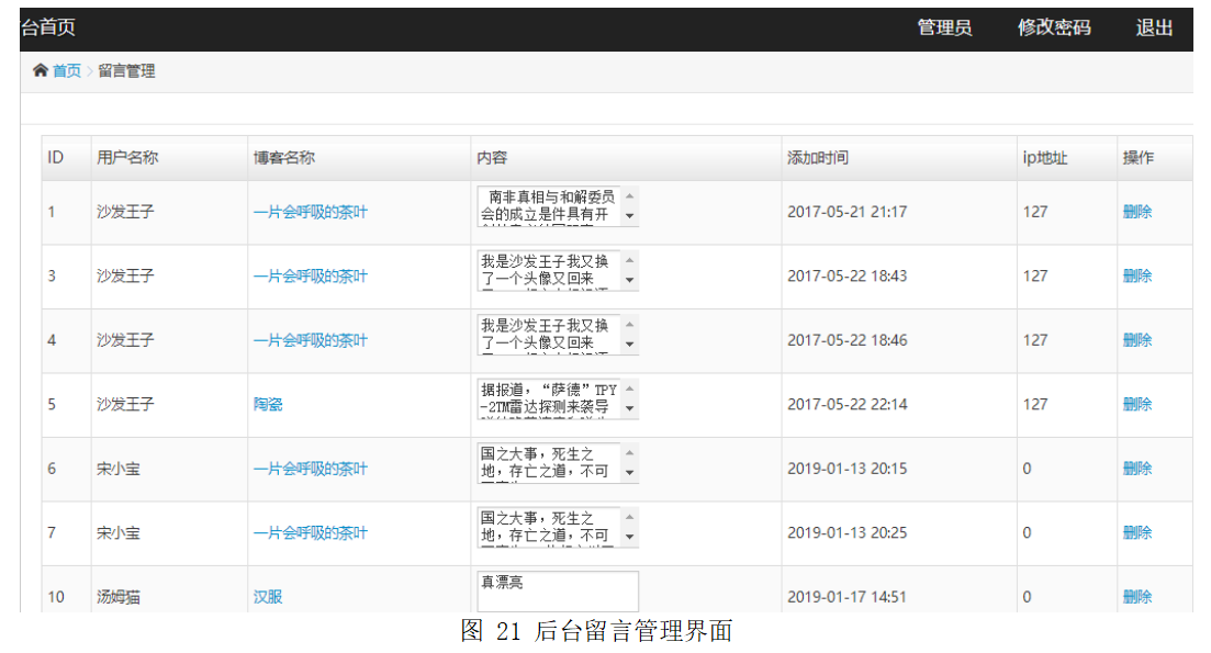
留言管理
对前台的违法的留言信息进行管理操作。如图21所示
public function message(){
$num=6;
$data['is_delete']=0;
$blog_count=$this->message_model->where($data)->count();
$page=new Page($blog_count,$num);
$show=$page->show();
$this->assign("show",$show);
$limit=$page->firstRow.','.$page->listRows;
$map['is_delete']=0;
$message_list=$this->message_model->where($map)->select();
foreach($message_list as $key => $val ){
$map1['id']=$val['bid'];
$map2['id']=$val['uid'];
$message_list[$key]['title']= $this->blog_model->where($map1)->getField('title');
}
$this->assign('message_list',$message_list);
$this->display();
}
public function mess_delete(){
$map['id']=I('get.id');
$data['is_delete']=1;
$obj = M("Message");
if($obj->where($map)->save($data)){
$this->success("修改成功",U('/Art/message'));
}else{
$this->success("修改成功",U('/Art/message'));
}
}
系统管理
系统管理对管理员密码进行修改和网站的站长信息进行设置,包括联系邮箱、联系人、备案号、地址信息等。系统管理界面如图22所示:
public function config(){
if(IS_POST){
$data['email']=I('post.email');
$data['link_user']=I('post.link_user');
$data['address']=I('post.address');
$data['icp']=I('post.icp');
$res=$this->config_model->where(array('id'=>1))->save($data);
$this->success("修改成功");
exit;
}
$info=$this->config_model->get_config();
$this->assign("info",$info);
$notice=$this->notice_model->select();
$this->assign("notice",$notice);
$this->display();//系统设置
}

|
🐳 作者:hiszm 📢 版权:本文版权归作者和博客园共有,欢迎转载,但未经作者同意必须保留此段声明,且在文章页面明显位置给出原文连接,万分感谢。 💬 留言:同时 , 如果文中有什么错误,欢迎指出。以免更多的人被误导。 |
![]() |


浙公网安备 33010602011771号