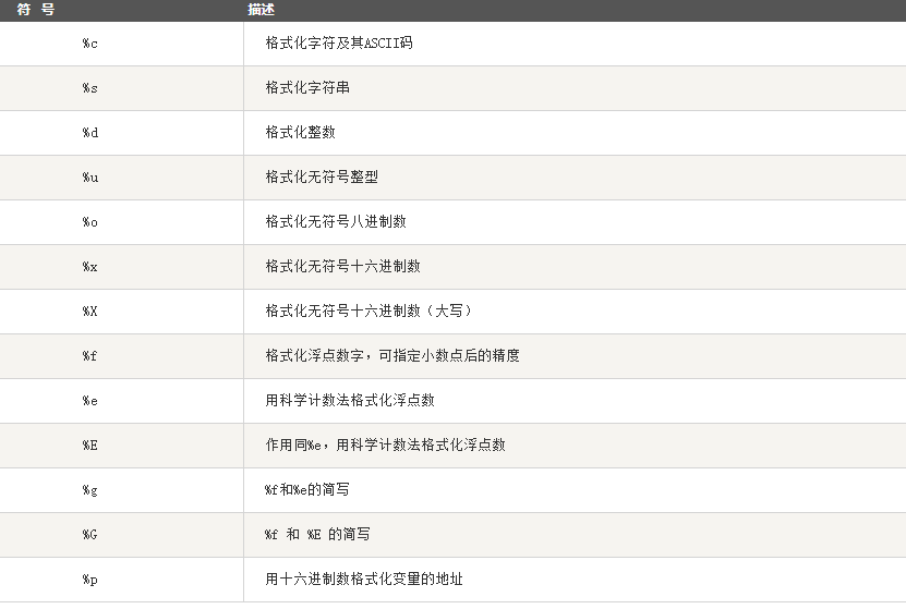
字符串
字符串格式化符号

实例
print("my name is %s she is %d " % ("faker",10)) #输出my name is faker she is 10
name = "faker"
print(f"i am {name}") #输出i am faker
print(f"i am {1+2}") #输出i am 3
name = "faker"
print(name.capitalize()) #输出Faker 将字符串第一个字母大写
print(name.count("f")) #输出1 返回参数里字符串的出现次数
print(name.encode()) #输出b'faker' 编码成byte对象
print(name.find("f")) #输出0 返回参数字符串是否存在,成功返回参数的位置,失败返回-1
print(name.replace("f","c",1)) #输出caker 替换函数,数字参数是替换的次数
print(name.rstrip()) #删除字符串里的空格
print(name.split("a")) #输出['f', 'ker'] 将参数作为分隔符,分隔后返回数组
print(name.swapcase()) #将字符串大小写互相转换
print(name.upper()) #将字母小写变成大写
列表
访问列表里的值
list = [1,2,3,4]
print(list[0]) #输出1
print(list[-1]) #输出4
print(list[0:3]) #输出[1, 2, 3] 从第0位置取3个值
list = [[1,2,3],[4,5]]
print(list[0][1]) #输出2
列表相关函数
list = [1,2,3,4]
list.append(1) #往列表添加内容
print(list) #输出[1, 2, 3, 4, 1]
del list[0] #删除列表里的内容
print(list) #输出[2, 3, 4, 1]
print(len(list)) #输出4 返回列表内容的长度
print(list+[1,2]) #输出[2, 3, 4, 1, 1, 2] 列表内容组合
print(max(list)) #返回列表最大值
print(min(list)) #返回列表最小值
print(list.count(1)) #返回参数在列表里出现的次数
list.extend([1,2,3]) #在列表末尾添加多个内容
print(list.index(1)) #返回参数的位置
print(list.pop(1)) #移除列表里参数位置的值,并返回被移除的值
list.reverse() #将列表内容顺序反向
list.clear()#清空列表
元组
访问元组
tup = (1,2,3,4)
print(tup[1]) #输出2,元组的访问和列表差不多
元组修改
tup1 = (1,2,3,4)
tup2 = (5,6,7)
print(tup1+tup2) #输出(1, 2, 3, 4, 5, 6, 7) 元组里的值默认是不能被修改的,只能重新再弄个元组
删除元组
tup = (1,2,3,4)
del tup
tup1 = (1,2,3,4)
print(list(tup1))
print(len(tup1))
print(max(tup1))
print(min(tup1))
字典
修改字典内容
dist = {"name":"test","year":10}
dist["name"] = "bug" #修改字典内容
del dist["name"] #删除字典内容
字典相关函数
dist = {"name":"test","year":10}
print(dist.items()) #输出([('name', 'test'), ('year', 10)])
print(dist.clear()) #清空字典里的内容
dist1 = {"name":"test","year":10}
dist2 = {"name":"bug","year":9}
dist1.update(dist2) #将dist2的内容更新到dist1中
print(dist1)
集合
test = {1,2,3,4,3}
print(test) #输出{1, 2, 3, 4} 集合是无序且无重复的
test = {1,2,3,4}
test.add("5") #集合添加内容
test.update([1,2]) #参数可以是列表、元组、字典
test.remove(1) #移除元素,若不存在会发生错误
test.discard(1) #移除元素,若不存在不会发生错误