一、正则表达式(REGEXP)
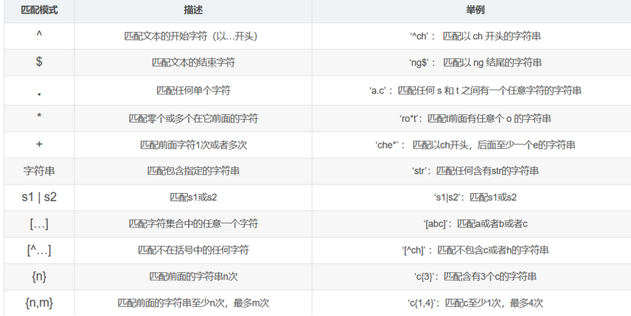
1.1 正则表达式匹配符

1.2 正则表达式示例
建立下面mysql表,方便测试使用:

示例1:查找name中包含字符串’凯’的数据
SELECT * FROM basketball WHERE name REGEXP '凯';

示例2:查找age中年龄是3开头的数据
SELECT * FROM basketball WHERE age REGEXP '^3';

示例3:查找value中1和0之间是任意字符的数据
SELECT * FROM basketball WHERE value REGEXP '1.0';

示例4:查找value中包含80的,且0可以是任意个的数据
SELECT * FROM basketball WHERE value REGEXP '110*';

示例5:查找age中年龄是29或者33岁的数据

示例6:查找value中身价为0到3开头的数据

二、存储过程
存储过程是组为了完成特定功能的SQL语句集合。
存储过程在使用过程中是将常用或者复杂的工作预先使用SQL语句写好并用–个指定的名称存储起来,这个过程经编译和优化后存储在数据库服务器中。当需要使用该存储过程时,只需要调用它即可。存储过程在执行上比传统SQL速度更快、执行效率更高。
2.1 存储过程的优点
1、执行一次后,会将生成的二进制代码驻留缓冲区,提高执行效率;
2、SQL语句加.上控制语句的集合,灵活性高;;
3、在服务器端存储,客户端调用时,降低网络负载
5、可完成所有的数据库操作,也可控制数据库的信息访问权限
2.2 创建、调用和查看存储的过程
1)创建存储过程
DELIMITER $$ #将语句的结束符号从分号;临时改为两个$$ (可以是自定义)
CREATE PROCEDURE proc() #创建存储过程,过程名为Proc, 不带参数
-> BEGIN #过程体以关键字BEGIN开始
-> SELECT * FROM football; #过程体语句(自己根据需求进行编写)
-> END $$ #过程体以关键字END结束
DELIMITER ; #将语句的结束符号恢复为分号
示例:

2)调用存储过程
CALL proc;

3)查看存储过程
SHOW CREATE PROCEDURE [数据库.] 存储过程名; 查看某个存储过程的具体信息(如果在指定库中,库名可以省略)
SHOW CREATE PROCEDURE athlete.proc; 未省略库名
SHOW CREATE PROCEDURE proc; 省略库名
SHOW CREATE PROCEDURE STATUS [LIKE '%proc%'] \G 竖列查看

4)删除存储过程
DROP PROCEDURE IF EXISTS proc;

2.3 存储过程的参数
IN输入参数: 表示调用者向过程传入值(传入值可以是字面量或变量)
OUT输出参数: 表示过程向调用者传出值(可以返回多个值)(传出值只能是变量)
INOUT输入输出参数: 既表示调用者向过程传入值,又表示过程向调用者传出值(值只能是变量)
CREATE PROCEDURE proc1(IN inname CHAR(10))
-> BEGIN
-> SELECT * FROM football WHERE name = inname;
-> END $$
mysql> DELIMITER ;
mysql> CALL proc1('沃克');

2.4 存储过程的控制语句
2.4.1 条件控制语句 if-then-else … end if
DELIMITER $$ #修改默认结束符为$$
CREATE PROCEDURE proc2(IN pro int) #创建存储过程proc2,参数为pro,类型为int
-> BEGIN #过程体以关键字BEGIN开始
-> DECLARE var int; #定义变量var为int类型
-> SET var=pro*3; #设置变量var等于传入参数的3倍
-> if var>=10 then #如果变量var大于10,则执行下面过程体
-> UPDATE football SET id=id+10; #设置表football中的id加10
-> else #如果变量var不大于10,则执行下面过程体
-> UPDATE football SET id=id-10; #设置表football中的id减10
-> end if; #结束if语句
-> END $$ #创建存储过程结束
DELIMITER ; #重新修改默认结束符为原始的;
CALL proc2(4); #调用proc2存储过程,并传入参数4
1)查看原始数据

2)创建含有控制语句存储过程并调用

3)查看调用存储过程之后的数据

浙公网安备 33010602011771号