一、NFS简介
NFS是一种基于TCP/IP传输的网络文件系统协议。通过使用NFS协议,客户机可以像访问本地目录一样访问远程服务器中的共享资源。
对于大多数负载均衡群集来说,使用NFS协议来共享数据存储是比较常见的做法,NFS也是NAS存储设备必然支持的一种协议。但是由于NFS没有用户认证机制,而且数据在网络上明文传输,所以安全性很差,一般只能在局域网中使用。
NFS 服务的实现依赖于 RPC(Remote Process Call,远端过程调用)机制,以完成远程到本地的映射过程。所以需要安装 nfs-utils、rpcbind 软件包来提供 NFS共享服务,前者用于 NFS 共享发布和访问,后者用于 RPC 支持。
二、NSF服务
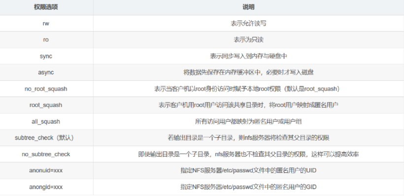
1、/etc/exports 配置文件
共享目录位置 客户机地址(权限选项)
2、服务器使用NFS发布共享资源
①安装 nfs-utils、rpcbind 软件包

②、设置共享目录



③、启动NFS服务

④、查看本机发布的 NFS共享目录

3、在客户机中访问NFS共享资源
①、安装nfs-utils、rpcbind 软件包,并开启服务

②、查看NFS服务器端共享的目录

③、手动挂载NFS共享目录

④、设置自动挂载

⑤、查看自动挂载是否设置成功

总结:这里我们要用到 nfs-utils、rpcbind软件包
注意启动服务顺序
要清楚在/etc/exports 配置共享目录文件 再开启rpcbind,nfs服务,记得关闭防火墙
浙公网安备 33010602011771号