一.题目描述
最大连续子数组和(最大子段和)
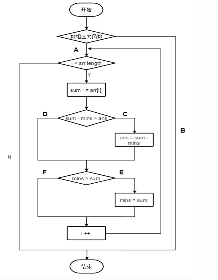
给定n个整数(可能为负数)组成的序列a[1],a[2],a[3],…,a[n],求该序列如a[i]+a[i+1]+…+a[j]的子段和的最大值。当所给的整数均为负数时定义子段和为0,依此定义,所求的最优值为: Max{0,a[i]+a[i+1]+…+a[j]},1<=i<=j<=n
例如,当(a[1],a[2],a[3],a[4],a[5],a[6])=(-2,11,-4,13,-5,-2)时,最大子段和为20。
--引用自《百度百科》
二.运行环境
vs2017
三.代码清单

https://coding.net/u/LiLiLiNa/p/MAXADD/git/tree/ef6218b49d26498cb397b0194142a18800d0ccd5?public=true
四.覆盖方法比较
1).语句覆盖:使程序中的每个语句至少被执行一次。
2).条件覆盖:针对判断语句里面案例的取值都要去一次,不考虑条件的取值。

3).判定覆盖:针对判断语句,在设定案例的时候,要设定True和False的两种案例;与语句覆盖不同的是增加了False的情况。

4).组合覆盖:使每个判定中条件的各种可能组合都至少出现一次 。

五.流程图

六.测试
1.测试过程

2.测试结果

七.总结
多动手,多尝试,有耐心,学习新技术。
浙公网安备 33010602011771号