CSRF与XSS

Wordpress(低版本)与XSSer

 

 

复现过程

 

首先在虚拟机上搭建wordpress

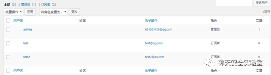
在wordpress的管理用户界面,可以看到只有admin一个用户

添加用户,并利用burp抓包

使用burp 自带的csrf插件

会生成一个可以利用的CSRF页面,更改标签中的参数,防止参数重复添加失败

在浏览器中打开,测试

 

可以看到,成功的添加了另一个用户

到此,就可以证明存在csrf漏洞并且已经成功利用csrf漏洞

 

那么如何与XSS漏洞结合起来实现呢?

搭建XSSer平台并且新建一个项目,根据抓包的内容编写项目代码

打开之前搭建的wordpress,将XSS项目的playload写入评论中

留言成功之后如下图:当管理员查看留言时,就会触发XSS漏洞,执行创建用户的操作

抓包查看:

成功执行了XSS中的恶意代码,添加了test5用户

修复建议

目前防御 CSRF 攻击主要有三种策略:

  • 验证 HTTP Referer 字段

  • 在请求地址中添加 token 并验证

  • 在 HTTP 头中自定义属性并验证

(1)验证 HTTP Referer 字段

       根据 HTTP 协议,在 HTTP 头中有一个字段叫 Referer,它记录了该 HTTP 请求的来源地址。在通常情况下,访问一个安全受限页面的请求来自于同一个网站,比如访问

http://bank.example/withdrawaccount=bob&amount=1000000&for=Mallory,

http://www.gendan5.com

用户必须先登陆 bank.example,然后通过点击页面上的按钮来触发转账事件。这时,该转帐请求的 Referer 值就会是转账按钮所在的页面的 URL,通常是以 bank.example 域名开头的地址。而如果黑客要对银行网站实施 CSRF 攻击,他只能在他自己的网站构造请求,当用户通过黑客的网站发送请求到银行时,该请求的 Referer 是指向黑客自己的网站。因此,要防御 CSRF 攻击,银行网站只需要对于每一个转账请求验证其 Referer 值,如果是以 bank.example 开头的域名,则说明该请求是来自银行网站自己的请求,是合法的。如果 Referer 是其他网站的话,则有可能是黑客的 CSRF 攻击,拒绝该请求。

       然而,这种方法并非万无一失。Referer 的值是由浏览器提供的,虽然 HTTP 协议上有明确的要求,但是每个浏览器对于 Referer 的具体实现可能有差别,并不能保证浏览器自身没有安全漏洞。使用验证 Referer 值的方法,就是把安全性都依赖于第三方(即浏览器)来保障,从理论上来讲,这样并不安全。事实上,对于某些浏览器,比如 IE6 或 FF2,目前已经有一些方法可以篡改 Referer 值。如果 bank.example 网站支持 IE6 浏览器,黑客完全可以把用户浏览器的 Referer 值设为以 bank.example 域名开头的地址,这样就可以通过验证,从而进行 CSRF 攻击。

(2)在请求地址中添加 token 并验证

  CSRF 攻击之所以能够成功,是因为黑客可以完全伪造用户的请求,该请求中所有的用户验证信息都是存在于 cookie 中,因此黑客可以在不知道这些验证信息的情况下直接利用用户自己的 cookie 来通过安全验证。要抵御 CSRF,关键在于在请求中放入黑客所不能伪造的信息,并且该信息不存在于 cookie 之中。可以在 HTTP 请求中以参数的形式加入一个随机产生的 token,并在服务器端建立一个拦截器来验证这个 token,如果请求中没有 token 或者 token 内容不正确,则认为可能是 CSRF 攻击而拒绝该请求。

       这种方法要比检查 Referer 要安全一些,token 可以在用户登陆后产生并放于 session 之中,然后在每次请求时把 token 从 session 中拿出,与请求中的 token 进行比对,但这种方法的难点在于如何把 token 以参数的形式加入请求。对于 GET 请求,token 将附在请求地址之后,这样 URL 就变成 http://url?csrftoken=tokenvalue。而对于 POST 请求来说,要在 form 的最后加上 <input type=”hidden” name=”csrftoken” value=”tokenvalue”/>,这样就把 token 以参数的形式加入请求了。但是,在一个网站中,可以接受请求的地方非常多,要对于每一个请求都加上 token 是很麻烦的,并且很容易漏掉,通常使用的方法就是在每次页面加载时,使用 javascript 遍历整个 dom 树,对于 dom 中所有的 a 和 form 标签后加入 token。这样可以解决大部分的请求,但是对于在页面加载之后动态生成的 html 代码,这种方法就没有作用,还需要程序员在编码时手动添加 token。

(3)在 HTTP 头中自定义属性并验证

        这种方法也是使用 token 并进行验证,和上一种方法不同的是,这里并不是把 token 以参数的形式置于 HTTP 请求之中,而是把它放到 HTTP 头中自定义的属性里。通过 XMLHttpRequest 这个类,可以一次性给所有该类请求加上 csrftoken 这个 HTTP 头属性,并把 token 值放入其中。这样解决了上种方法在请求中加入 token 的不便,同时,通过 XMLHttpRequest 请求的地址不会被记录到浏览器的地址栏,也不用担心 token 会透过 Referer 泄露到其他网站中去。

总结思考

       CSRF单纯的利用起来其实是比较困难的,但是结合了XSS漏洞之后,它利用起来就相对来说比较简单了。从中我们不难看出CSRF的危害:

  • 配合XSS漏洞可造成蠕虫

  • 更改用户密码

  • 更改(商城)用户收货地址

一切用户可以操作的,黑客都可以操作,只需要构造PoC让受害者点击。通俗点就是说,B以A的身份执行了A可以执行的操作,当然,这里B是黑客,A是受害者,由此可见,CSRF漏洞的危害也是显著的,也是需要在安全工作中重视起来。

 

posted @ 2019-09-29 10:15  阿丘不秋  阅读(491)  评论(0)    收藏  举报