MIPI_CSI22_Xilinx IP - 实践
MIPI CSI-2 Tx Subsystem
参考Xilinx官方文档PG260
概述
a)该系统包含三个子系统,分别是:AXI-Crossbar(控制)+MIPI-CSI2-Tx-Controller(数据处理)+MIPI-DPHY(物理层传输)
1)MIPI-DPHY的工作流程如下:
①利用PPI接口接收来自MIPI CSI2 Tx Controller的并行数据,并将其转换为串行信号输出至外部MIPI接收器;
②通过AXI CrossBar接收AXI4-Lite接口的配置指令,支持动态调整传输参数(如通道数量和传输速率等)。
2)MIPI CSI-2 TX Controller主要功能包括:
①接收来自原生视频接口或AXI4-Stream接口的像素数据;
②按照MIPI CSI-2协议规范对数据进行封装处理:添加帧/行的起始/结束同步包、完成像素到字节的转换;
③生成校验信息:包头错误校正码ECC、载荷校验码CRC,生成多项式为x 16 + x 12 + x 5 + x 0 x^{16} + x^{12} + x^{5} + x^{0}x16+x12+x5+x0;
④通过AXI交叉开关接收AXI4-Lite接口的配置指令,协助动态调整:信息封装参数、传输参数(如虚拟通道、数据类型等)。
3)AXI-Crossbar负责对AXI4-Lite接口的控制请求进行地址路由,将寄存器的读写指令分发至对应的子核心(如MIPI CSI-2发送控制器、MIPI D-PHY),从而搭建对不同子模块的配置与控制信号交互。
b)CSI-2 Tx Subsystem的延迟由两部分组成:
1)CSI-2发送控制器延迟:指从AXIS接口的tlast信号有效到PPI接口tx_requesths信号上升沿的时间间隔;
2)PHY延迟:指从PPI接口tx_requesths信号上升沿有效到串行线路上检测到HS-REQ(即LP-01状态)的时间间隔。
端口描述(7系列)
a)DPHY Interface Shared Logic in the Core:将子系统关键时钟管理模块(MMCM/PLL)和基础辅助功能逻辑集成到MIPI CSI-2 TX子系统的核心内部,而非置于子系统外部或用户自定义逻辑中。此种核心集成方式使子系统直接管理相关模块,并通过PPI接口输出适配外部电路的关键信号,从而简化用户设计。
①txclkesc_out(PPI输出):D-PHY在低功耗模式(LP模式:数据包间低功耗;ULPS模式:超低功耗)下,经过逃逸时钟传输控制信号(如ULPS进入/退出指令)。此信号是保障MIPI低功耗特性的基础时钟源。
②oserdes_clk_out(PPI输出):输出OSERDES专用时钟,用于连接外部OSERDES芯片的时钟引脚。时钟频率 = line_rate/2。
③txbyteclkhs(PPI输出):输出D-PHY TX的字节时钟,作为D-PHY并行内容的字节级同步时钟。时钟频率 = line_rate/8.0。
④system_rst_out(PPI输出):输出高电平有效的系统复位信号,供外部数据源或控制器启用。
⑤mmcm_lock_out(PPI 输出):输出MMCM的锁定指示信号,用于告知外部电路子系统时钟已稳定。
⑥mipi_phy_if(PPI 输出):输出D-PHY串行接口信号。
b)AXI4-Stream Input Interface
①s_axis_aclk(System输入):为AXI4-Stream数据传输提供时序基准,必须与AXI4-Lite接口的时钟同源同频(确保控制指令与数据传输时序同步)。
②s_axis_aresetn(System输入):复位时长需至少保持40个dphy_clk_200M周期。
③s_axis_tready(S_AXIS输出):当信号为高电平时表示子系统内部的Line Buffer有空闲空间,可接收外部输入的s_axis_tdata。
④s_axis_tvalid(S_AXIS输入):若该信号为高且对应每行第一个像素,需同步使能 s_axis_tdest(虚拟通道标识)、s_axis_tuser[47:32](行号)、s_axis_tuser[63:48](包长度) 等边带信号,确保子系统获取完整的帧/行配置信息。
⑤s_axis_tlast(S_AXIS输入):仅在每行最终一个像素传输时置为高电平,其他时刻为低。子系统检测到该信号后,会自动封装Line End包,并更新内部行计数(与Line Count寄存器安装的行数比对,用于判断帧是否结束)。
⑥s_axis_tdest(S_AXIS输入):虚拟通道标识VCID,用于区分不同的数据流。
⑦s_axis_tuser(S_AXIS输入)
c)Native Video Interface
①vid_vsync、vid_hsync:系统在vid_vsync上升沿捕获帧号,搭建帧同步;在vid_hsync上升沿采集行号和长包长度,确保行数据对齐。
②vid_enable
③vid_pxl:端口宽度 = 字节对齐(C_CSI_MAX_BPC×3×像素模式)。其中C_CSI_MAX_BPC表示单分量最大位数、像素模式可选1/2/4像素/beat,该参数由像素类型(如RAW12、RGB565)和像素模式共同决定。
④vid_di:标识像素数据格式,是子系统封装CSI-2数据包头部的关键参数。示例:RAW8=0x2A、RAW12=0x2C、YUV422 10-Bit=0x20。
⑤vid_linenum、vid_framenum:在vid_hsync/vid_vsync的上升沿采样,仅当接收端需要同步时部署,子系统仅作透传处理。
⑥vid_wc:当前行对应的CSI-2长包字节数,是子系统封装CSI-2长包的必需参数。在vid_hsync的上升沿 采样,确保包长度与当前行数据量匹配。
d)中断信号
该信号实质上是子系统的状态告警通道,不负责数据传输,仅凭借电平变化来向外部系统发出子系统需关注的提示。具体的异常类型或状态细节,需要通过AXI4-Lite接口读取相关寄存器来确认。这一设计是子系统故障诊断和运行状态监控的关键机制。
像素编码
a)s_axis_tdata/vid_pxl端口宽度=(单分量最大位数参数C_CSI_MAX_BPC×3×像素模式)的字节对齐结果。
b)
1)采用单像素模式(1像素/时钟周期),单像素分量的最大位宽为14位,对应端口总宽度为48位([47:0])。该宽度计算方式为:14位×3通道×1像素=42位,经字节对齐后扩展至48位。
2)需明确定义各类像素分量在48位端口(s_axis_tdata/vid_pxl)中的位段分配。
c)
d)
e)
f)
g)
寄存器空间
a)地址映射划分为以下两个区域:MIPI CSI-2 TX Controller core、MIPI D-PHY core。每个IP核心分配有4KB的地址空间,子系统总地址空间为8KB。
b)MIPI CSI-2 TX Controller core寄存器
1)Core Configuration Register
① 该寄存器用于配置控制器的所有核心功能(包括启停控制、低功耗模式设置和复位操作),同时提供控制器的关键就绪状态反馈。这是软件与控制器进行交互的首要操作寄存器。
②需满足32位字对齐(仅支持完整32位信息读写,不支持字节/半字访问),不支持WSTRB写选通,写入时需传输完整32位数据。
③控制器启动的流程: 读取Controller Ready,确认其为1,控制器硬件就绪→写入Core Enable为1,启用控制器→若需低功耗,空闲状态下写入ULPS Mode为1,传输状态下写入ULPS Mode为0。
④修改关键安装的流程:若需调整依赖控制器状态的参数,需先将Core Enable置0,禁用控制器,修改完成后再置1重新启用。控制器启用时,部分配置参数不可修改。
⑤当检测到异常时的流程:读取中断状态寄存器确认异常原因→写入Soft Reset为1,清空中断状态→确认Interrupt信号低电平,完成复位。
⑥软复位仅清空中断状态寄存器的所有置位状态,使Interrupt信号恢复低电平,不涉及控制器的FIFO、资料封装逻辑、D-PHY联动逻辑,无破坏性、无业务中断,复位过程中,控制器可正常接收和处理数据,仅中断状态标记被清空,不会导致数据丢失或传输暂停。
⑦硬复位范围包括:控制器内部的Line Buffer、通用短包FIFO、所有部署寄存器(含核心配置寄存器、协议配置寄存器)、数据封装逻辑、中断系统(含全局中断使能寄存器),甚至会联动MIPI D-PHY的物理层逻辑复位。复位期间,控制器停止所有数据接收与传输。所有配备参数恢复默认值,需重新配置后才能恢复工作。
2)Protocol Configuration Register
,所有部署修改必须在控制器禁用状态下进行,启用后部分参数将被锁定不可更改。就是①该寄存器用于配置MIPI CSI-2发送控制器的核心协议参数,主导包含三类关键功能:数据传输格式控制、通道数量配置和短包生成使能。必须注意的
②只读位段:像素模式、最大通道数是IP定制时根据硬件需求(如传输带宽、FPGA资源)确定的底层约束,软件仅能读取确认,避免因修改导致硬件不兼容。
③可读写位段:活动通道数允许软件根据实际带宽需求调整(如低带宽场景用1条通道,高带宽场景用4条),无需重新定制IP。行短包生成使能提供自动/手动短包管理两种模式(复杂传输场景可禁用自动生成采用手动控制,简单场景则启用自动生成功能)。
3)Global Interrupt Enable Register
①MIPI CSI-2 TX Controller core中断系统的开关,用于统一控制子系统是否允许向外输出中断请求。
②它与中断使能寄存器(0x28,选通特定事件)、中断状态寄存器(0x24,捕获事件状态)构成三级中断管理逻辑。只有当全局中断使能+ 对应事件使能+ 事件发生三者同时满足时,才会触发Interrupt信号,避免单一事件误触发中断。
③系统初始化/调试阶段:可屏蔽所有中断,避免调试过程中无关中断干扰核心安装。
④系统正常运行阶段:将Bit0置1,配合0x28寄存器选通关键事件(如数据欠载、通道错误),确保异常时能及时触发中断处理。
⑤故障排查阶段:若需临时关闭中断(如处理高优先级任务),无需逐一修改0x28的事件使能位,仅需将0x20 Bit0置0,操作更高效。
4)Interrupt Status Register
①清除状态时需向目标Bit写1(写0无效果)。
5)Interrupt Enable Register
6)Generic Short Packet Entry Register
①MIPI CSI-2协议中,行起始 / 结束、帧起始 / 结束等短包由控制器自动生成,但自定义控制指令(如设备唤醒、模式切换)、测试信号等非标准短包无法自动生成。该寄存器是软件手动发送这类短包的唯一入口,填补了自动短包生成的功能空白。
②该寄存器不直接发送短包,仅将配置信息写入通用短包FIFO。FIFO的存在允许软件一次性配备多个短包,控制器按FIFO顺序逐个发送,避免软件频繁写入寄存器。
7)Line Count Register for Virtual Channel - 0/1/2/3
①用于显式设置VC0/1/2/3传输一帧数据所需的总行数,控制器会根据该数值判断何时生成帧结束短包。
②必含行为图像有效数据行(如3840行像素信息)、嵌入非图像数据行(如元数据行)。可选行为空包行(无材料时填充)、水平消隐行(HBlank)。若VC0一帧含1080行有效图像信息+2行嵌入数据+1行空包行,总行数配置为1083。
8)Generic Short Packet Status Register
c)MIPI D-PHY寄存器
部署方法
a)Shared Logic
1)共享逻辑并非子系统的数据处理核心,而是为MIPI D-PHY物理层传输提供基础保障的辅助模块,核心包含:
①时钟管理模块:如MMCM、PLL,用于根据子系统调整的D-PHY 线速率,生成多组精准时钟信号(如txbyteclkhs、oserdes_clk),并确保时钟信号的低抖动(≤0.5ps峰峰值)与相位对齐(如txbyteclkhs与oserdes_clk呈90°相位差),避免串行传输误码;
②基础辅助模块:如BUFG、复位同步电路,BUFG用于优化时钟信号的扇出能力,防止多模块时钟延迟不均;复位同步电路则确保子系统全模块(控制器、FIFO、D-PHY)复位时序同步,避免局部复位导致的逻辑混乱。
2)Shared Logic in the Core:将上述时钟管理、基础辅助模块集成到MIPI CSI-2 TX子系统的核心内部。子系统自主完成时钟生成、复位状态管理,对外仅输出成品信号(如PPI接口的txbyteclkhs输出、mmcm_lock_out输出),用户无需在外部设计时钟或复位逻辑,仅需连接子系统输出的信号即可。
3)Shared Logic in Example Design:将时钟管理、基础辅助模块部署在子系统外部的示例设计中。子系统自身不具备时钟生成或复位管理能力,需从示例设计中输入关键信号(如PPI接口的txbyteclkhs_in输入、system_rst_in输入),用户需根据实际需求调整设计的MMCM/PLL 参数(如时钟频率、相位),自定义时钟与复位逻辑。
4)
5)
b)时钟/复位
1)txbyteclkhs(D-PHY高速字节时钟):为D-PHY高速数据传输提供基准时钟,频率计算公式为,txbyteclkhs频率=D-PHY线速率/8(如线速率为2.5Gbps时,txbyteclkhs频率为312.5MHz)。该时钟需通过共享逻辑中的MMCM/PLL生成,且抖动值需≤0.5ps(峰峰值),避免高速串行传输产生误码。
2)oserdes_clk(串行器时钟):仅用于7系列 FPGA(无原生MIPI IOB),为外部OSERDES提供驱动时钟,计算公式为,oserdes_clk频率=D-PHY线速率/2(如线速率2.5Gbps时,频率为1.25GHz)。需与txbyteclkhs保持固定相位差(通常为90°),确保串化数据时序对齐。
3)dphy_clk_200M(D-PHY控制时钟):为D-PHY物理层的控制逻辑(如ULPS模式切换、复位时序管理)供应固定200MHz时钟,由系统时钟源直接提供,无需动态调整。复位信号的最小保持时长40个周期需基于该时钟计算。
4)txclkesc(D-PHY逃逸时钟):用于D-PHY超低功耗(ULPS)模式下的低速通信,频率固定为20MHz,需与外部D-PHY芯片的逃逸时钟同步。该时钟可由共享逻辑中的时钟模块生成,或从外部直接输入。
5)AXI接口时钟(s_axi_aclk/s_axis_aclk):s_axi_aclk(AXI4-Lite控制接口时钟)与 s_axis_aclk(AXI4-Stream信息接口时钟)需同源同频,频率范围帮助100MHz~200MHz;时钟稳定性直接影响控制指令传输与像素数据接收的正确性,不允许跨时钟域交互。
c)软件启动流程
1)配置寄存器并启用core
①无论何时启用core(例如复位后或禁用core后),均需先读取core配置寄存器,确保控制器就绪位已置1,表示硬件就绪;
②借助寄存器编程配置所需参数(如活动通道数、像素模式等);
③启用core,并在输入接口上发送视频流;
④在整个流程中,需通过两种方式监控状态:要么持续轮询寄存器,要么等待外部中断,并读取中断状态寄存器,以获取上报的错误或状态信息。
2)禁用与重新启用core
①通过core配置寄存器禁用;
②等待,直至core配置寄存器中的控制器就绪位置1;
③重新启用core,将core使能位置1。
3)超低功耗模式ULPS进入与退出:
①使PHY通道进入ULPS模式:向core设置寄存器ULPS模式位写入1;
②对应的PPI接口信号(txrequestesc、txulpsesc)会发送至PHY,触发PHY进入ULPS状态;
③当PHY通道已进入ULPS状态(ulpsactivenot置低)后,中断状态寄存器会更新对应的状态信息;
④退出ULPS模式:向core配置寄存器ULPS 模式位写入0;
⑤对应的PPI接口信号(txulpsexit)会发送至PHY,触发PHY退出ULPS状态;
⑥在ulpsactivenot信号置高后的1毫秒内,PPI接口会置低txrequestesc信号。ULPS退出的状态会通过中断状态寄存器上报;
⑦等待1微秒后,清除中断状态寄存器中与ULPS相关的状态位。若在1微秒内尝试清除该状态位,会导致IP始终显示处于ULPS状态。
模型仿真
a)使用MIPI CSI-2 Tx Subsystem官方例程,使用Vivado仿真。例程使用PTG IP生成测试图案,经过MIPI TX IP输出后,使用MIPI RX IP接收,实现MIPI数据回环校验。
MIPI DPHY
参考Xilinx官方文档PG202
概述和特性
a)
b)符合MIPI联盟D-PHY规范标准(版本2.0):
1)高速模式下支持同步传输,比特率为80-3200Mb/s(具体取决于设备系列及速率等级);
2)TX配置支持1个时钟通道和最多4个数据通道;
3)RX配置支持1个时钟通道和最多8个数据通道;
4)低功耗模式下支持异步传输,比特率为10Mb/s;
5)时钟通道拥护超低功耗模式和高速模式;
6)数据通道帮助超低功耗模式、高速模式和逃逸模式;
7)提供PPI接口(PHY-Protocol Interface),用于连接CSI-2和DSI应用;
8)可选配AXI4-Lite接口,用于寄存器访问。
c)不拥护的特性
1)链路反转(Link turnaround,即反向数据通信);
2)低功耗竞争检测;
3)8B9B编码;
4)动态线速率变更。
d)在HS模式下,低摆幅差分信号(low-swing differential signal)协助80 Mb/s至3200 Mb/s的数据传输速率;在LP模式下,所有线路均作为单端线路(single-ended line)工作,可支持10 Mb/s的异步数据通信。
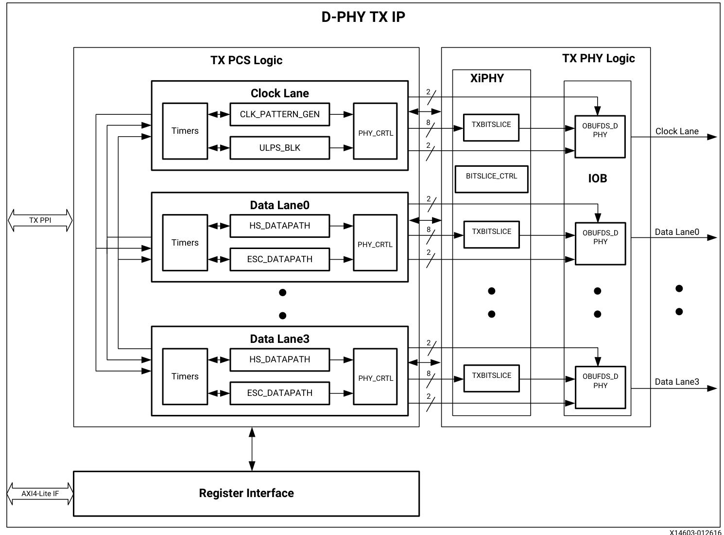
MIPI D-PHY TX(Master)Core结构
a)TX分为三个主要模块:
1)TX PCS Logic(物理编码子层逻辑):给予PPI接口、生成PHY通道运行控制信号、实现entry sequences生成、管理低功耗与高速模式切换、执行通道初始化;
2)TX PHY Logic(物理层逻辑):在native mode下集成位切片控制模块BITSLICE_CONTROL、发送位切片模块TX_BITSLICE,并包含兼容D-PHY的I/O模块;该模块负责串行化处理,且实现了PHY的时钟功能;
3)Register Interface(寄存器接口):可选的AXI4-Lite寄存器接口,用于控制必需的协议定时器与寄存器。
b)

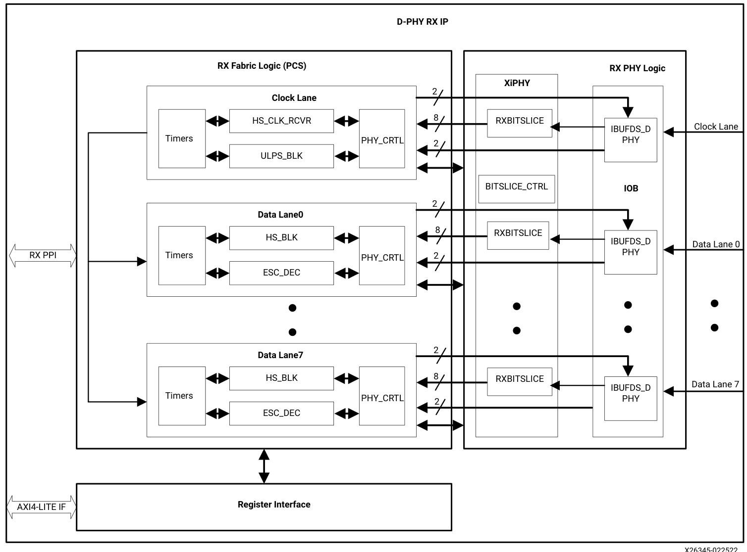
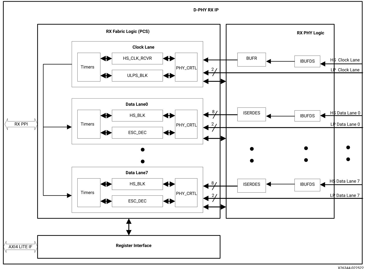
MIPI D-PHY RX(Slave)Core结构
a)RX分为三个主要模块:
1)RX Fabric Logic (物理编码子层):与PHY层对接,传输符合PPI规范的事务(如高速模式事务、逃逸模式下的低功耗数据传输LPDT数据包);同时负责通道初始化、传输起始(SoT,start-of-transmission)检测,以及逃逸模式下的时钟恢复(clock recovery);
2)RX PHY Logic (物理层逻辑):在高速模式下执行时钟恢复与解串行化;在native mode下集成位切片控制模块BITSLICE_CONTROL、接收位切片模块RX_BITSLICE,并具备兼容D-PHY的I/O模块;
3)Register Interface(寄存器接口):可选的AXI4-Lite寄存器接口,用于控制必需的协议定时器与寄存器。
b)

MIPI D-PHY Splitter Bridge模式
a)启用该模式后,可将接收到的PPI接收端RX输入数据,作为TX素材复制到多个D-PHY TX接口。最多可选择4个TX接口。适用于同一相机数据需由多个外部处理模块处理的场景。在此类场景中,AMD FPGA从外部数据源(如相机)接收MIPI流,并在多个输出MIPI流接口上复制该数据流,以供外部模块进一步处理。

性能和资源
a)最高频率:取决于所支持的线速率以及设备的速率等级。
b)延迟
1)MIPI D-PHY发送端的延迟:从数据通道的请求高速传输信号(requesths)断言开始,到高速传输就绪信号(readyhs)断言结束,这段时间即为TX核心延迟。
2)MIPI D-PHY接收端的延迟:从串行线路上出现传输起始(SoT,start-of-transmission)开始,到PPI上的高速接收活跃信号(activehs)断言结束,这段时间即为RX核心延迟。
c)吞吐量
1)MIPI D-PHY TX的吞吐量会随线速率、数据通道数量、时钟通道模式(连续模式或非连续模式)以及D-PHY协议参数的不同而变化。
2)吞吐量的测量方式如下:以PPI上传输的640×480分辨率图像作为帧数据,从时钟通道的请求高速传输信号(txrequesths)断言开始,到该信号解除断言(deassertion,即信号置低)结束,统计这段时间内传输的总字节数,进而计算吞吐量。在该测量中,数据通道txrequesths 与txreadyhs同时断言被视为一次1字节传输。
端口定义
a)PPI通用控制信号
1)
| 信号 | 方向 | 时钟域 | 描述 |
|---|---|---|---|
| cl_ stopstate、dl_stopstate | 输出 | 异步 | 通道处于Stop状态。该高有效信号表示通道模块(发送端TX / 接收端RX)当前处于Stop状态;同时,上层协议可通过该信号间接判断PHY线路电平是否处于LP-11状态(Stop状态对应电平)。注意:此信号与PPI接口的所有时钟均异步,无时钟同步关系。 |
| cl_enable、dl_enable | 输入 | 异步 | 通道模块使能。该高高效信号强制通道模块退出shutdown状态;当使能为低电平时,所有线路驱动器、接收器、终端匹配器及竞争检测器均关闭,且所有其他PPI输入被忽略、所有PPI输出驱动至默认非活跃状态。说明:使能为电平敏感(非边沿触发),不依赖任何时钟信号,仅由电平状态控制。 |
| cl_ulpsactivenot、dl_ulpsactivenot | 输出 | 异步 | 超低功耗ULP状态指示(低有效)。该信号被断言(置低)时,表示通道进入ULP状态:ULP状态启动时,此信号与rxulpsesc(数据通道)或 rxclkulpsnot(时钟通道)同步被断言;ULP状态退出时,此信号置高(恢复非活跃),表示已检测到Mark-1状态;后续经过 MIPI 标准规定的Twakeup时长后,rxulpsesc(数据通道)或 rxclkulpsnot(时钟通道)信号随之解除断言。对接收端而言,此状态即通道进入超低功耗模式。 |
| 2)MIPI DPHY的状态 | |||
| ① | |||
| 模式 | 状态 | 作用 | |
| – | – | :– | |
| LP模式(控制或低功耗场景) | LP-00 | 状态过渡间隔态(如进入HS/Escape模式前的中间状态)、争用检测基准。 | |
| LP模式(控制或低功耗场景) | LP-01 | HS模式进入的前置触发态(启动HS传输的第一步切换)。 | |
| LP模式(控制或低功耗场景) | LP-10 | Escape模式进入触发态、ULPS状态触发态。 | |
| LP模式(控制或低功耗场景) | LP-11 | Stop状态:HS模式、Escape模式、ULPS的进入必须从LP-11发起,退出后也必须回归LP-11。 | |
| HS模式(高速数据传输场景) | HS-0/1 | 数据0/1 | |
| 特殊低功耗状态 | ULPS(Ultra-Low Power State) | 极致省电态:PHY关闭大部分电路,仅保留唤醒检测。 |
②数据通道状态跳转
i)启动HS模式(高速数据传输):LP-11(Stop) → LP-01 → LP-00 → SoT(传输起始信号) → HS-0/HS-1(数据传输阶段)
ii)终止HS模式(高速传输结束):HS-0/HS-1(数据结束) → EoT(传输终止信号) → LP-11(Stop)
iii)进入Escape模式:LP-11(Stop) → LP-10 → LP-00 → LP-01 → LP-00 → 进入Entry Code
注:Escape模式采用Spaced-One-Hot编码实现自同步时钟,无需Clock Lane参与,适用于低速控制场景。
iv)退出Escape模式:当前模式(如LPDT/ULPS) → LP-10 → LP-11(Stop)
v)双向传输切换流程:LP-11 → LP-10 → LP-00 → LP-10 → LP-00(等待ACK)→ 接收端响应:LP-00 → LP-10 → LP-11
③时钟通道状态跳转
i)启动HS模式(时钟同步):LP-11(Stop) → LP-01(保持Tlpx时长) → LP-00(保持Tclk-prepare时长)→ HS-0(保持Tclk-zero时长) → HS时钟(差分信号,与数据通道同步)
注:Clock Lane需比Data Lane提前Tclk-pre时间进入HS模式,确保数据通道启动时时钟已稳定。
ii)终止HS模式:HS时钟 → HS-0(保持Tclk-trail时长) → LP-11(Stop)
注:需等待Data Lane完全退出HS模式(返回LP-11)后,延迟Tclk-post时长再关闭时钟通道,避免时钟中断。
iii)进入ULPS模式(超低功耗状态):LP-11(Stop) → LP-10 → LP-00
注:ULPS模式下仅维持唤醒检测电路,需通过LP-10(Mark-1状态)触发唤醒。
iv)退出ULPS模式:ULPS状态 → LP-10(保持≥1ms) → LP-11(Stop) → 进入HS模式/待机状态
④
i)只有HS模式需要Data Lane+Clock Lane协同工作,Escape/ULPS模式下Clock Lane均闲置或休眠;
ii)所有模式的起点/终点均为LP-11(Control Mode),不可跨模式直接跳转。
b)DPHY时钟通道_高速模式
1)
| 信号 | 方向 | 时钟域 | 描述 |
|---|---|---|---|
| cl_txrequesths | 输入 | txbyteclkhs | 高有效信号,当上层协议要求发送高速数据时,置高该信号,触发TX PHY启动时钟通道的HS模式初始化;数据传输结束后,置低该信号,触发时钟通道退出HS模式,回归LP-11。 |
| cl_txclkactivehs | 输出 | 高有效信号,用于异常场景(如数据传输错误、超时),无需等待cl_txrequesths置低,置高该信号可直接中断 HS 模式,让时钟通道迅速切换回 LP-11,避免错误时钟持续输出影响内容接收端。 |

浙公网安备 33010602011771号