mybatis学习1
1. Mybatis介绍
MyBatis 本是apache的一个开源项目iBatis, 2010年这个项目由apache software foundation 迁移到了google code,并且改名为MyBatis ,2013年11月迁移到Github。
MyBatis是一个优秀的持久层框架,它对jdbc的操作数据库的过程进行封装,使开发者只需要关注 SQL 本身,而不需要花费精力去处理例如注册驱动、创建connection、
创建statement、手动设置参数、结果集检索等jdbc繁杂的过程代码。
Mybatis通过xml或注解的方式将要执行的各种statement(statement、preparedStatemnt、CallableStatement)配置起来,并通过java对象和statement中的sql进行映射生
成最终执行的sql语句,最后由mybatis框架执行sql并将结果映射成java对象并返回。
iBATIS一词来源于“internet”和“abatis”的组合,iBATIS提供的持久层框架包括SQL Maps和Data Access Objects(DAO)
回顾使用jdbc操作步骤
1、 加载数据库驱动
2、 创建并获取数据库链接
3、 创建jdbc statement对象
4、 设置sql语句
5、 设置sql语句中的参数(使用preparedStatement)
6、 通过statement执行sql并获取结果
7、 对sql执行结果进行解析处理
8、 释放资源(resultSet、preparedstatement、connection)
使用jdbc的原始方法(未经封装)实现了查询数据库表记录的操作
存在的问题
1、 数据库连接创建、释放频繁造成系统资源浪费,从而影响系统性能。如果使用数据库连接池可解决此问题。
2、 Sql语句在代码中硬编码,造成代码不易维护,实际应用中sql变化的可能较大,sql变动需要改变java代码。
3、 使用preparedStatement向占有位符号传参数存在硬编码,因为sql语句的where条件不一定,可能多也可能少,修改sql还要修改代码,系统不易维护。
4、 对结果集解析存在硬编码(查询列名),表字段变化导致解析代码变化,系统不易维护,如果能将数据库记录封装成pojo对象解析比较方便。
Hibernate
优点:完全以面向对象的方式设计和访问,不用管底层是什么类型数据库的语法(例如:分页查询)便于理解。
缺点:处理复杂业务时,灵活度差, 复杂的HQL难写难理解,例如多表查询的HQL语句
适合于中小批量数据的操作,速度慢
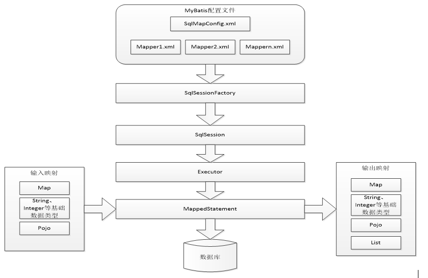
Mybatis架构

1、 mybatis配置SqlMapConfig.xml,此文件作为mybatis的全局配置文件,配置了mybatis的运行环境等信息。
mapper.xml文件即sql映射文件,文件中配置了操作数据库的sql语句,此文件需要在SqlMapConfig.xml中加载。
2、 通过mybatis环境等配置信息构造SqlSessionFactory即会话工厂
3、 由会话工厂创建sqlSession即会话,操作数据库需要通过sqlSession进行。
4、 mybatis底层自定义了Executor执行器接口操作数据库,Executor接口有两个实现,一个是基本执行器、一个是缓存执行器。
5、 Mapped Statement也是mybatis一个底层封装对象,它包装了mybatis配置信息及sql映射信息等。mapper.xml文件中一个sql对应一个Mapped Statement
对象,sql的id即是Mapped statement的id。
6、 Mapped Statement对sql执行输入参数进行定义,包括HashMap、基本类型、pojo,Executor通过Mapped Statement在执行sql前将输入的java对象映射至
sql中,输入参数映射就是jdbc编程中对preparedStatement设置参数。
7、 Mapped Statement对sql执行输出结果进行定义,包括HashMap、基本类型、pojo,Executor通过Mapped Statement在执行sql后将输出结果映射至java对象
中,输出结果映射过程相当于jdbc编程中对结果的解析处理过程。
Mybatis入门程序
下载地址:https://github.com/mybatis/mybatis-3/releases 下载jar包
1. 导包: 核心包 + 依赖包 + 驱动包
mybatis-3.2.7.jar mybatis的核心包
lib文件夹 mybatis的依赖包所在
同时还需要MySQL驱动包
2. 加入配置文件
创建confi文件夹,加入加入log4j.properties和SqlMapConfig.xml配置文件
log4j.properties mybatis默认使用log4j作为输出日志信息
# Global logging configuration
log4j.rootLogger=DEBUG, stdout
# Console output...
log4j.appender.stdout=org.apache.log4j.ConsoleAppender
log4j.appender.stdout.layout=org.apache.log4j.PatternLayout
log4j.appender.stdout.layout.ConversionPattern=%5p [%t] - %m%n
log4j.rootLogger=debug,stdout,logfile
log4j.appender.stdout=org.apache.log4j.ConsoleAppender
log4j.appender.stdout.layout=org.apache.log4j.SimpleLayout
log4j.appender.logfile=org.apache.log4j.FileAppender
log4j.appender.logfile.layout=org.apache.log4j.PatternLayout
log4j.appender.logfile.layout.ConversionPattern=%d{yyyy-MM-dd HH:mm:ss} %F %p %m%n
log4j.logger.com.ibatis=DEBUG
log4j.logger.com.ibatis.common.jdbc.SimpleDataSource=DEBUG
log4j.logger.com.ibatis.common.jdbc.ScriptRunner=DEBUG
log4j.logger.com.ibatis.sqlmap.engine.impl.SqlMapClientDelegate=DEBUG
log4j.logger.java.sql.Connection=DEBUG
log4j.logger.java.sql.Statement=DEBUG
log4j.logger.java.sql.PreparedStatement=DEBUG
SqlMapConfig.xml SqlMapConfig.xml是mybatis核心配置文件,配置文件内容为数据源、事务管理
<?xml version="1.0" encoding="UTF-8" ?> <!DOCTYPE configuration PUBLIC "-//mybatis.org//DTD Config 3.0//EN" "http://mybatis.org/dtd/mybatis-3-config.dtd"> <configuration> <!-- 和spring整合后 environments配置将废除 --> <environments default="development"> <environment id="development"> <!-- mybatis使用jdbc事务管理 --> <transactionManager type="JDBC" /> <!-- mybatis使用数据库连接池获取连接 --> <dataSource type="POOLED"> <property name="driver" value="com.mysql.jdbc.Driver" /> <property name="url" value="jdbc:mysql://localhost:3306/mybatis?characterEncoding=utf-8" /> <property name="username" value="root" /> <property name="password" value="root" /> </dataSource> </environment> </environments> </configuration>
oracle.driver=oracle.jdbc.driver.OracleDriver
oracle.url=jdbc:oracle:thin:@127.0.0.1:1521:orcl
oracle.username=scott
oracle.password=tiger
3. 创建pojo mybatis进行sql映射使用,po类通常与数据库表对应数据库表
Public class User { private int id; private String username;// 用户姓名 private String sex;// 性别 private Date birthday;// 生日 private String address;// 地址 get/set……
4.创建SQL映射文件
在config下的sqlmap目录下创建sql映射文件User.xml:
<?xml version="1.0" encoding="UTF-8" ?> <!DOCTYPE mapper PUBLIC "-//mybatis.org//DTD Mapper 3.0//EN" "http://mybatis.org/dtd/mybatis-3-mapper.dtd"> <!-- namespace:命名空间,用于隔离sql,还有一个很重要的作用,后面会讲 --> <mapper namespace="test"> </mapper>
5.在主配置文件中加入 加载映射文件
mybatis框架需要加载Mapper.xml映射文件
<mappers> <mapper resource="config/Users.xml" /> </mappers>
<?xml version="1.0" encoding="UTF-8" ?> <!DOCTYPE mapper PUBLIC "-//mybatis.org//DTD Mapper 3.0//EN" "http://mybatis.org/dtd/mybatis-3-mapper.dtd"> <!-- namespace:命名空间,用于隔离sql,还有一个很重要的作用,后面会讲 --> <mapper namespace="test"> <!-- id:statement的id 或者叫做sql的id--> <!-- parameterType:声明输入参数的类型 --> <!-- resultType:声明输出结果的类型,应该填写pojo的全路径 --> <!-- #{}:输入参数的占位符,相当于jdbc的? --> <select id="queryUserById" parameterType="int" resultType="cn.itcast.mybatis.pojo.User"> SELECT * FROM `user` WHERE id = #{id} </select> </mapper>
6.测试
步骤:
1. 创建SqlSessionFactoryBuilder对象
2. 加载SqlMapConfig.xml配置文件
3. 创建SqlSessionFactory对象
4. 创建SqlSession对象
5. 执行SqlSession对象执行查询,获取结果User
6. 打印结果
7. 释放资源
public class MybatisTest { private SqlSessionFactory sqlSessionFactory = null; @Before public void init() throws Exception { // 1. 创建SqlSessionFactoryBuilder对象 SqlSessionFactoryBuilder sqlSessionFactoryBuilder = new SqlSessionFactoryBuilder(); // 2. 加载SqlMapConfig.xml配置文件 也可以使用 Reader reader = Resources.getResourceAsReader("SqlMapConfig.xml"); InputStream inputStream = Resources.getResourceAsStream("SqlMapConfig.xml"); // 3. 创建SqlSessionFactory对象 this.sqlSessionFactory = sqlSessionFactoryBuilder.build(inputStream); } @Test public void testQueryUserById() throws Exception { // 4. 创建SqlSession对象 SqlSession sqlSession = sqlSessionFactory.openSession(); // 5. 执行SqlSession对象执行查询,获取结果User // 第一个参数是User.xml的statement的id,第二个参数是执行sql需要的参数; Object user = sqlSession.selectOne("queryUserById", 1); // 6. 打印结果 System.out.println(user); // 7. 释放资源 sqlSession.close(); } }
public static SqlSession getSqlSession(){ SqlSession sqlSession = threadLocal.get(); if(sqlSession == null){ sqlSession = sqlSessionFactory.openSession(); threadLocal.set(sqlSession); } return sqlSession; }
public static void closeSqlSession(){ SqlSession sqlSession = threadLocal.get(); if(sqlSession != null){ sqlSession.close(); threadLocal.remove(); // GC尽早回收 sqlSession } }
sqlSession.commit() 必须手动提交事务
sqlSession.rollback()
根据用户名模糊查询用户
SELECT * FROM `user` WHERE username LIKE '%王%'
方法一:
<!-- 如果返回多个结果,mybatis会自动把返回的结果放在list容器中 --> <!-- resultType的配置和返回一个结果的配置一样 --> <select id="queryUserByUsername1" parameterType="string" resultType="cn.itcast.mybatis.pojo.User"> SELECT * FROM `user` WHERE username LIKE #{username} </select>
public void testQueryUserByUsername1() throws Exception { // 4. 创建SqlSession对象 SqlSession sqlSession = sqlSessionFactory.openSession(); // 5. 执行SqlSession对象执行查询,获取结果User // 查询多条数据使用selectList方法 List<Object> list = sqlSession.selectList("queryUserByUsername1", "%王%"); // 6. 打印结果 for (Object user : list) { System.out.println(user); } // 7. 释放资源 sqlSession.close(); }
方法二:
在User.xml配置文件中添加如下内容
<!-- 如果传入的参数是简单数据类型,${}里面必须写value --> <select id="queryUserByUsername2" parameterType="string" resultType="cn.itcast.mybatis.pojo.User"> SELECT * FROM `user` WHERE username LIKE '%${value}%' </select>
public void testQueryUserByUsername2() throws Exception { // 4. 创建SqlSession对象 SqlSession sqlSession = sqlSessionFactory.openSession(); // 5. 执行SqlSession对象执行查询,获取结果User // 查询多条数据使用selectList方法 List<Object> list = sqlSession.selectList("queryUserByUsername2", "王"); // 6. 打印结果 for (Object user : list) { System.out.println(user); } // 7. 释放资源 sqlSession.close(); }
实现动态查询SQL
<?xml version="1.0" encoding="UTF-8" ?> <!DOCTYPE mapper PUBLIC "-//mybatis.org//DTD Mapper 3.0//EN" "http://mybatis.org/dtd/mybatis-3-mapper.dtd"> <mapper namespace="mynamespace"> <select id="dynaSQLwithSelect" parameterType="map" resultType="cn.itcast.javaee.mybatis.app11.Student"> select id,name,sal from students <where> <if test="pname!=null"> and name=#{pname} </if> <if test="psal!=null"> and sal=#{psal} </if> </where> </select> </mapper>
使用 map作为输入参数
查询的个数大于1的时候
理论上resultType要写List<Student>
但这里只需书写List中的类型即可,即只需书写Student的全路径名
动态更新SQL
<?xml version="1.0" encoding="UTF-8" ?> <!DOCTYPE mapper PUBLIC "-//mybatis.org//DTD Mapper 3.0//EN" "http://mybatis.org/dtd/mybatis-3-mapper.dtd"> <mapper namespace="mynamespace"> <update id="dynaSQLwithUpdate" parameterType="cn.itcast.javaee.mybatis.app12.Student"> update students <set> <if test="name!=null"> name=#{name}, </if> <if test="sal!=null"> sal=#{sal}, </if> </set> where id=#{id} </update> </mapper>
动态删除SQL
<mapper namespace="mynamespace"> <!-- item表示迭代的参数 --> <delete id="dynaSQLwithDelete"> delete from students where id in <!-- <foreach collection="array" open="(" close=")" separator="," item="ids"> ${ids} </foreach> --> <foreach collection="list" open="(" close=")" separator="," item="ids"> ${ids} </foreach> </delete> </mapper>
public void dynaSQLwithDelete(int... ids) throws Exception{ SqlSession sqlSession = MyBatisUtil.getSqlSession(); sqlSession.delete("mynamespace.dynaSQLwithDelete",ids); }
动态插入SQL
<mapper namespace="mynamespace"> <sql id="key"> <trim suffixOverrides=","> <if test="id!=null"> id, </if> <if test="name!=null"> name, </if> <if test="sal!=null"> sal, </if> </trim> </sql> <sql id="value"> <trim suffixOverrides=","> <if test="id!=null"> #{id}, </if> <if test="name!=null"> #{name}, </if> <if test="sal!=null"> #{sal}, </if> </trim> </sql> <insert id="dynaSQLwithInsert" parameterType="cn.itcast.javaee.mybatis.app14.Student"> insert into students(<include refid="key"/>) values(<include refid="value"/>) </insert> </mapper>
注意:这个insert/update/delete标签只是一个模板,在做操作时,其实是以SQL语句为核心的
即在做增/删/时,insert/update/delete标签可通用,
但做查询时只能用select标签,我们提倡什么操作就用什么标签
<!-- 当实体属性与表字段名不相同的时候,必须书写以下代码 当实体属性与表字段名相同的时候,以下代码可选 --> <resultMap type="cn.itcast.javaee.mybatis.app09.Student" id="studentMap"> <id property="id" column="students_id"/> <result property="name" column="students_name"/> <result property="sal" column="students_sal"/> </resultMap> <!-- mybatis会将查询出来的表记录和studentMap这个id所对应的映射结果相互匹配 --> <select id="findById" parameterType="int" resultMap="studentMap"> select students_id,students_name,students_sal from students where students_id = #{abc} </select>
表示在mysql中从第几条记录的索引号开始显示,索引从0开始
#{}和${}
#{}表示一个占位符号,通过#{}可以实现preparedStatement向占位符中设置值, 自动进行java类型和jdbc类型转换, #{}可以有效防止sql注入, #{}可以接收简单类型值或pojo属性值。
如果parameterType传输单个简单类型值,#{}括号中可以是value或其它名称。
会加上 单引号 名字可以是任何
${}表示拼接sql串, 通过${}可以将parameterType 传入的内容拼接在sql中且不进行jdbc类型转换, ${}可以接收简单类型值或pojo属性值, 如果parameterType传输单个简单类型值,
${}括号中只能是value。
${ value} 字符串拼接 是拼接 不会加上单引号 名字只能是value
select * from user where username like "%${value}%"
但是这样不能防止SQL注入 下面这种就可以防止SQL注入了
select * from user where username like "%"#{haha}"%"
默认需要自己提交事务
resultMap 手动映射 当表和bean 不一致的时候 使用
parameterType和resultType
parameterType:指定输入参数类型, mybatis通过ognl从输入对象中获取参数值拼接在sql中。
resultType:指定输出结果类型, mybatis将sql查询结果的一行记录数据映射为resultType指定类型的对象, 如果有多条数据, 则分别进行映射,并把对象放到容器List中
需要写上类的全名
selectOne和selectList
selectOne查询一条记录, 如果使用selectOne查询多条记录则抛出异常, selectList可以查询一条或多条记录
org.apache.ibatis.exceptions.TooManyResultsException
添加数据
INSERT INTO `user` (username,birthday,sex,address) VALUES ('黄忠','2016-07-26','1','三国')
<!-- 保存用户 --> <insert id="saveUser" parameterType="cn.itcast.mybatis.pojo.User"> INSERT INTO `user` (username,birthday,sex,address) VALUES (#{username},#{birthday},#{sex},#{address}) </insert>
public void testSaveUser() { SqlSession sqlSession = sqlSessionFactory.openSession(); //创建session对象// 创建需要保存的User User user = new User(); user.setUsername("张飞"); user.setSex("1"); user.setBirthday(new Date()); user.setAddress("蜀国"); sqlSession.insert("saveUser", user); session.insert("saveUser",user); System.out.println(user); // 需要进行事务提交 sqlSession.commit(); sqlSession.close(); }
但是id=0,需要解决id返回不正常的问题 怎么解决?
如果想要添加完数据之后 获取马上主键
<insert id="insertUser" parameterType="com.itheima.mybatis.pojo.User"> <selectKey keyProperty="id" resultType="Integer" order="AFTER"> select LAST_INSERT_ID() --这是数据库提供的语句 </selectKey> insert into user (username,birthday,address,sex) values (#{username},#{birthday},#{address},#{sex}) </insert>
After 整数主键 是之后 是因为插入数据之后 再插入主键
Before 字符为主键 是先生成 主键 后插入其他数据
<!-- 保存用户 --> <insert id="saveUser" parameterType="cn.itcast.mybatis.pojo.User"> <!-- selectKey 标签实现主键返回 --> <!-- keyColumn:主键对应的表中的哪一列 --> <!-- keyProperty:主键对应的pojo中的哪一个属性 --> <!-- order:设置在执行insert语句前执行查询id的sql,还是在执行insert语句之后执行查询id的sql --> <!-- resultType:设置返回的id的类型 --> <selectKey keyColumn="id" keyProperty="id" order="AFTER" resultType="int"> SELECT LAST_INSERT_ID() </selectKey>
INSERT INTO `user`(username,birthday,sex,address) VALUES
(#{username},#{birthday},#{sex},#{address})
</insert>
LAST_INSERT_ID():是mysql的函数,返回auto_increment自增列新记录id值
这样就可以返回正确的主键了
Mysql使用 uuid实现主键
需要增加通过select uuid()得到uuid值
<!-- 保存用户 --> <insert id="saveUser" parameterType="cn.itcast.mybatis.pojo.User"> <selectKey keyColumn="id" keyProperty="id" order="BEFORE" resultType="string"> SELECT LAST_INSERT_ID() </selectKey> INSERT INTO `user`(username,birthday,sex,address) VALUES (#{username},#{birthday},#{sex},#{address}) </insert>
注意这里使用的order是“BEFORE”
修改用户
根据用户id修改用户名
使用的sql:UPDATE `user` SET username = '赵云' WHERE id = 26
<!-- 更新用户 --> <update id="updateUserById" parameterType="cn.itcast.mybatis.pojo.User"> UPDATE `user` SET username = #{username} WHERE id = #{id} </update>
public void testUpdateUserById() { SqlSession sqlSession = sqlSessionFactory.openSession(); User user = new User(); user.setId(26); user.setUsername("关羽"); user.setSex("1"); user.setBirthday(new Date()); user.setAddress("蜀国"); sqlSession.update("updateUserById", user); sqlSession.commit(); sqlSession.close(); }
删除用户
使用的sql:DELETE FROM `user` WHERE id = 47
<!-- 删除用户 --> <delete id="deleteUserById" parameterType="int"> delete from user where id=#{id} </delete>
public void testDeleteUserById() { // 4. 创建SqlSession对象 SqlSession sqlSession = sqlSessionFactory.openSession(); // 5. 执行SqlSession对象执行删除 sqlSession.delete("deleteUserById", 48); // 需要进行事务提交 sqlSession.commit(); // 7. 释放资源 sqlSession.close(); }

浙公网安备 33010602011771号