操作流程:EasyCVR v3.3版本如何接入智能分析网关V3?
我们在此前的文章中介绍了EasyCVR新版本v3.3接入智能分析网关V1和V2的操作教程,感兴趣的用户可以翻阅往期文章进行了解。今天我们来介绍下新版本如何接入智能分析网关V3。

智能分析网关V3是我们近期推出的边缘计算AI硬件网关设备,它内置了20多种AI算法,可针对安全生产、通用园区、智慧食安、石油化工等场景,提供个性化的基于视频技术与AI智能检测技术的解决方案。在算法上,V3版本可实现人脸检测/识别、车辆检测/识别、安全帽检测、睡岗离岗检测、区域入侵检测、人体姿态检测、人员计数、人员越线等检测。
EasyCVR v3.3接入智能分析网关V3的步骤如下:
1)首先,添加AI算法的盒子,添加路径为:智能分析—新增盒子。
2)在点击【新增盒子】按钮后,会弹出对话框,按照提示输入相应的参数。

这里需要注意,盒子服务的地址需要填写盒子的访问地址,格式为:http://盒子ip:prot。
3)添加完成后,刷新页面,点击编辑按钮,会显示出推送服务地址,将该地址复制到盒子后台任务编号的上报地址输入框上。推送地址的前面,需要加上当前平台的服务访问地址。



4)再点击通道管理,编辑通道,将通道的国标通道编号填写成EasyCVR平台上要绑定的设备通道。

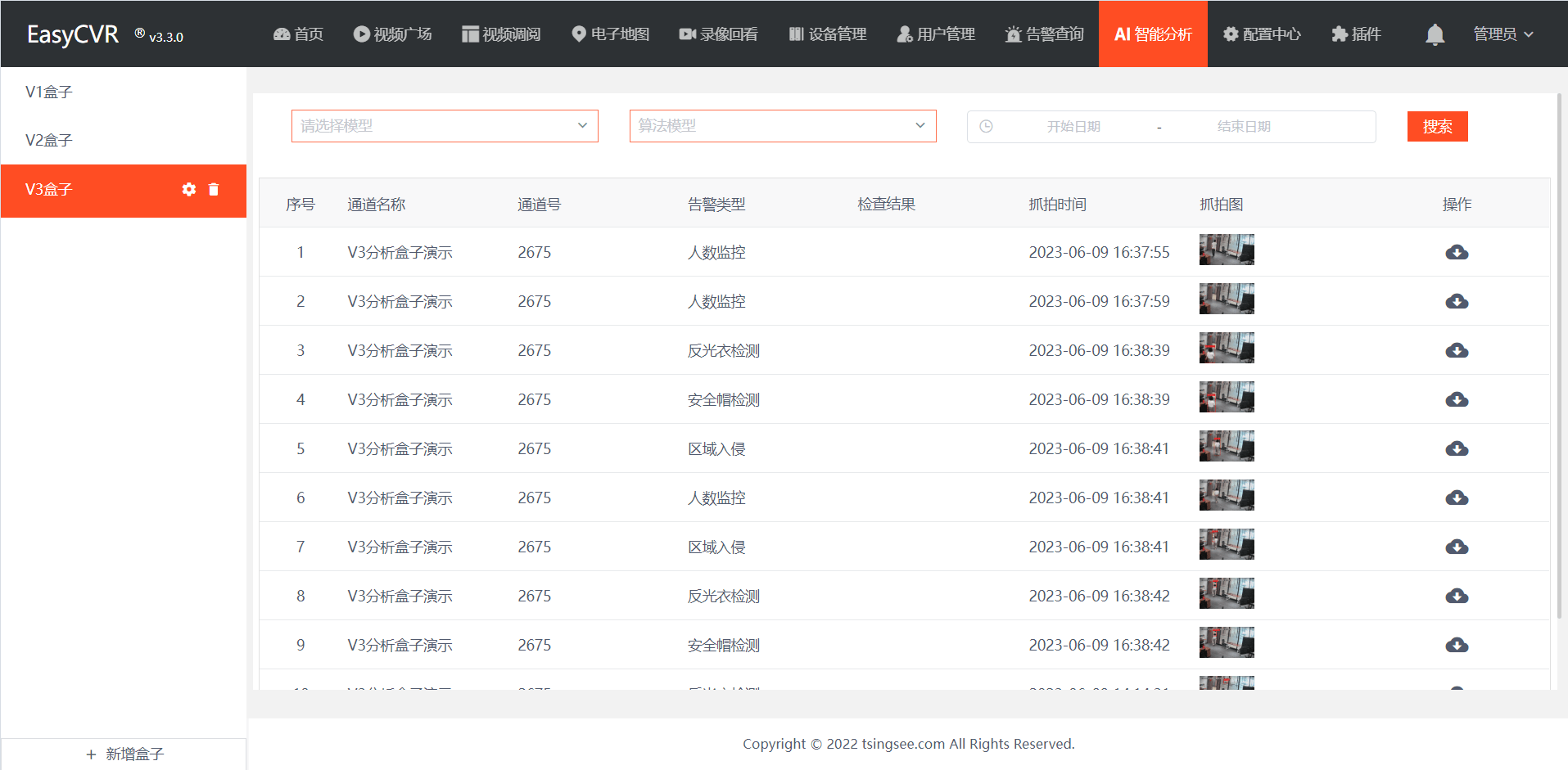
5)配置完成后,在EasyCVR平台上即可看到V3盒子分析的结果。

EasyCVR平台可以实现视频的汇聚管理,以及展示智能分析网关V3对监控场景检测的分析结果、告警信息等,比如检测到未佩戴安全帽的人、检测到有人员入侵等。平台支持分发多格式的视频流,包括RTMP、RTSP、HLS、HTTP-FLV、WS-FLV、WebRTC等格式的视频流,并支持H.264/H.265编码格式。感兴趣的用户可以前往演示平台进行体验或部署测试。
浙公网安备 33010602011771号