操作步骤:EasyCVR平台国标GB设备如何正确配置告警预案?
EasyCVR的告警预案是指,在告警配置中,用户可以根据告警类型、告警级别、告警方式、告警事件类型等信息,来具体分类获取告警信息。
在上期的文章中,我们介绍了关于EasyCVR平台告警预案功能的开发设计,感兴趣的用户可以查看这篇文章:AI人脸检测智能视频融合平台EasyCVR新增告警预案功能。
今天我们来具体介绍下,国标设备如何根据不同类型的告警,来分配不同的告警预案。
操作步骤如下:
1)依次点击【配置中心】-【告警预案】-【添加预案】:

2)新建告警预案,并设置告警的类型,如果未知设备告警类型,请全部选择“全部”,若无特殊要求,快照、告警录像的时间请使用默认配置,如下图:

3)关联相关通道,如下图:

4)打开启用按钮的开关,开启告警预案,如下图:

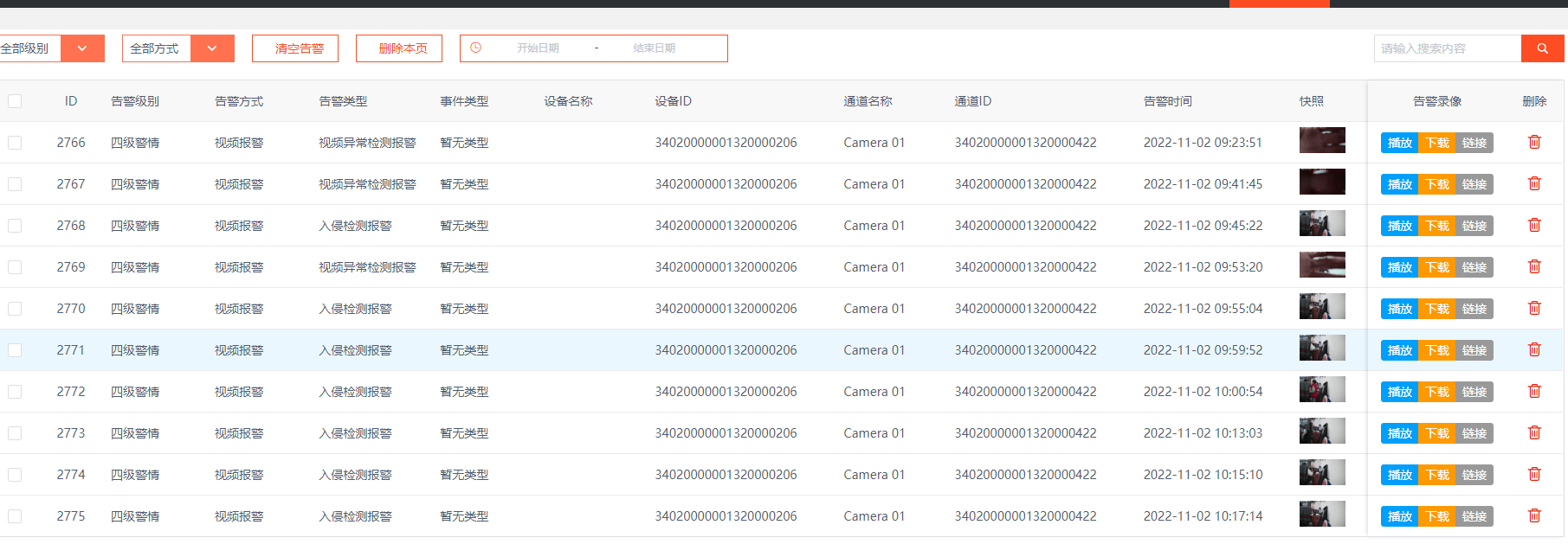
5)最后实现效果如下所示(该通道已设置接收全部告警):

EasyCVR平台的告警功能可以对监控设备上传的告警(离线、遮挡、故障等)及AI监测的异常情况进行及时告警,可抓取所有设备记录的告警状态与信息,获取告警时刻的视频截图,同时,平台还将告警消息通过语音、短信、APP、消息通知、微信、邮件等方式推送给管理人员,方便管理人员及时查看与处理。
随着安防市场的不断扩大及视频监控技术的不断应用,EasyCVR已经成为视频监控领域广受欢迎的视频融合及管理平台;而内置多种AI算法的智能分析网关,则针对行业视频智能分析需求,可提供丰富、完善、专业的平台功能,满足用户的多样化、个性化、场景化方案需求。
TSINGSEE青犀视频的智能分析网关/云平台,不仅融合了AI智能识别技术,同时依托云、边、端协同的架构优势,由终端负责数据感知,边缘负责局部的数据分析,而云端则汇集所有边缘的感知数据、业务数据以及互联网数据,最终完成场景下的态势感知、分析结果输出、数据分发等服务。AI项目也支持小批量试错,感兴趣的用户可以联系我们进行了解。
浙公网安备 33010602011771号