EasyCVR级联向上级注册时,上级平台通道显示为0是什么原因?
EasyCVR具备强大的视频接入、汇聚与管理、视频分发、设备管理、用户及角色权限管理等能力。平台可对前端接入的设备进行统一集中管理,并能支持采用设备树对设备进行分组、分级管理、设备状态监测、云端运维等,实现对海量接入资源的集中控制与权限分配。平台可将接入的流媒体进行处理、转码、分发、分析等,可分发的视频流包括RTSP、RTMP、FLV、HLS、WebRTC等格式。

有用户反馈,EasyCVR在向上级注册时,上级平台展示通道数为0,请求我们协助排查。

1)抓包查看下级EasyCVR在注册时,是否有传catlog消息:

2)如上图所示,EasyCVR的确有传输catlog的MESSAGE消息,通道数量为8个,实际传输也是8个。仔细分析报文发现,虽然传输的是8个通道,但是实际里面的内容只有四个,另外4个通道是重复的,如图所示:

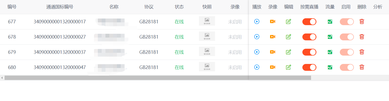
3)进入到EasyCVR国标级联的页面,查看数据是否有问题:

4)根据上图所示,我们发现用户设置的SIP认证用户ID重复了,里面各有4个相同通道,所以在向上级传catlog消息时,出现上述情况。我们可以根据数据库来查看:

5)将SIP用户ID改为唯一值,然后重新进行注册,此时通道已经恢复正常并注册成功:

EasyCVR平台在视频接入与输出上,支持设备通过国标GB28181、RTMP、RTSP/Onvif、海康SDK、大华SDK、Ehome等协议接入,平台可提供视频监控直播、云端录像、云存储、录像检索与回看、智能告警、平台级联、智能分析等视频服务。感兴趣的用户可以前往演示平台进行体验或部署测试。
浙公网安备 33010602011771号