海康摄像头通过Ehome协议接入EasyCVR视频结构化可视平台无法播放问题如何排查?
EasyCVR视频结构化安防视频智能分析平台支持多种协议设备的接入,其中包括Ehome、海康SDK、大华SDK协议等私有协议,现有的平台都已通过测试,并且我们仍在积极扩充其协议的兼容性,未来也将支持更多协议设备的接入。

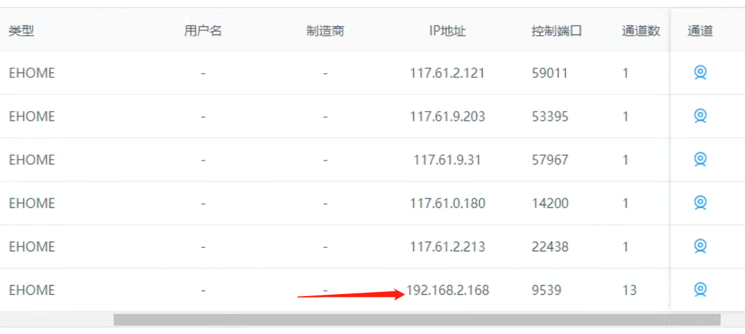
内网海康摄像头通过Ehome接入到公网EasyCVR平台,发现设备和获取通道信息,但是在播放时却无法播放,无法加载视频画面。

首先,我们需要检查EasyCVR中的平台是否正确,因此进入EasyCVR内Ehome配置界面检查,发现配置无误。
sms public host收流地址为公网地址,而且现场同一网络环境下只有一个设备无法播放,即我们在上图中箭头所指设备,结合获取到的设备IP地址为内网地址,经过网关后应该显示公网地址,可以判断是设备端配置的问题。
进入摄像头配置页面查看相关网络参数,发现没有配置网关。修改网关为192.168.2.1后设备通道正常播放。

EasyCVR的功能正在逐步完善,目前作为视频智能分析平台,在人脸识别和车牌识别领域也有了比较完善的研发成果,并且对于新需求的展现也在不断推进研发当中,可在TSINGSEE青犀视频官方网站直接下载最新版进行实际部署测试。
浙公网安备 33010602011771号