2020年重庆市普通高校专升本计算机统一选拔考试
2020年重庆市普通高校专升本统一选拔考试
大学计算机试题
注意事项:
1. 答题前,务必将自己的姓名、准考证号填写在试题和答题卡规定的位置上,并认真核对科目名称以及条形码信息。
2. 所有题目必须在答题卡上按要求作答,答在试题上无效。
3. 作答客观题时,必须使用2B铅笔填涂,如需改动,用橡皮擦擦干净后,再重新填涂。
4. 请按照答题卡上规定的题目在各题目的答题区域内作答,超过答题区域书写的答案无效。
5. 考试结束后,将试题,答题卡和草稿纸一并交回。
一、单项选择题(本大题共25小题,每小题2分,共50分)在每小题列出的四个备选项中有一个是最符合题目要求的,请将其选出并在答题卡上将相应代码涂黑。错涂、多涂或未涂均无分。
1.科学研究的三大方法对应着三大科学思维,其中以设计和构造为特征的思维是( )
A.理论思维 B.实验思维
C.计算思维 D.技术思维
2.声音数字化处理过程中不执行的操作是(
)
A.编码 B.量化
C.A/D转换 D.D/A转换
3.在Word 2010中,为一个Word文档设置打开文件的密码,下列操作正确的是( )
A.选择“开始”选项卡中的“编辑”命令,在弹出的对话框中设置
B.选择“文件”选项卡中的“保护文档”命令,在相应窗格中设置
C.选择“文件”选项卡中的“另存为”命令,在对话框中选择“工具”列表中的相应命令进行设置
D.选择“审阅”选项卡中的“限制编辑”进行设置
4.在Word文档中输入复杂的数学公式,可以执行命令( )
A.“格式”选项卡中的“字体” B.“插入”选项卡中的“公式”
C.“插入”选项卡中的“表格” D.“插入”选项卡中的“符号”
5.Word的页眉和页脚是指在文档顶部或底部加入的信息,页眉页脚的类型不包括( )
A.首页不同 B.奇偶页不同
C.节与节不同 D.域代码不同
6.设置幻灯片外观的方法主要有3种:母版、背景和( )
A.动画效果 B.切换效果
C.页面设置 D.主题
7.Excel的下列运算符中,优先级别最高的是( )
A.算数运算符 B.文字连接符
C.关系运算符 D.逻辑运算符
8.题8图中,Excel单元格Al和A2中的数据分别为“z3和z6”,选中单元格A1和A2,然后向下拖动填充柄直到单元格A5,则A3到A5中数据分别为( )

A.z3 z6 z3 B.z3 z3 z3
C.z6 z6 z6 D.z9 z12 z15
9.根据Excel数据表生成的题9图表中,不可以直接修改的是( )

A.图表标题的内容和图例的内容 B.图表区的颜色和图表区的大小
C.数据柱的长短 D.分类轴的刻度和单位
10.Excel中,根据设置的条件,动态显示有关格式的功能是( )
A.条件格式 B.分类汇总
C.分列功能 D.格式刷
11.在ISO 802标准中,组建无线局域网所采用的标准是( )
A.IEEE802.11 B.IEEE802.12
C.IEEE802.13 D.IEEE802.14
12.电子邮件地址xejzsb@sina.com中,字符@以前的字符串代表 ( )
A.邮箱名 B.发送邮件服务器的ID
C.接收邮件服务器的ID D.邮件服务提供商的子域名
13.已知IP地址为192.168.1.163(163的二进制数为10100011),子网掩码为5.255.255.224(224的二进制数为11100000),则子网地址为( )
A.192.168.1.32 B.192.168.1.64
C.192.168.1.128 D.192.168.1.160
14.Windows环境下,可用来查看本机IP协议配置信息的命令是( )
A.arp B.ipconfig
C.ping D.tracert
15.题15图描述了数据库系统组成,其中①处应填写的是( )

A.程序接口 B.数据库管理系统
C.中间件 D.防火墙
16.Access中,从表student中查询所有姓陈的学生,SQL语句是( )
A.select * from student
where姓名like“陈*”
B.select * from student
where姓名like“陈?”
C.select * from student
where姓名like“陈&”
D.select * from student
where姓名like“陈#”
17.计算机图像处理中,表示量化色彩值所需的二进制位数称为量化字长,真彩色图像的量化字长最少需要( )
A.8位 B.16位
C.24位 D.32位
18.Linux操作系统中,默认对整个系统拥有完全控制权的用户是( )
A.root B.guest
C.administrator D.supervisor
19.面向对象的系统中,程序的运行机制是(
)
A.事件驱动 B.顺序执行
C.定时触发 D.自动选择
20.名为students的数据表内容如题20-1图所示,要求按专业统计学生人数,并以题20-2图所示格式输出,需要使用的SQL语句是( )


A.select专业,count (*) as人数from students combine by专业
B.select专业,count (*) as人数from students join by专业
C.select专业,count (*) as人数from students order by专业
D.select专业,count (*) as人数from students group by专业
21.一段5分钟的立体声音乐需要在网络上实时传播,其采样频率为44.1KHz,量化精度为16位,压缩比为10:1,则需要的最小网络带宽是( )
A.70.56kbps B.141.12kbps
C.705.6kbps D.1411.2kbps
22.密码破解时,通过连接产生不重复的候选密码,然后逐一对其进行正确性试探,此算法是( )
A.穷举法 B.迭代法
C.递归法 D.回溯法
23.在面向对象的系统中,对象之间联系时传递的是( )
A.事件驱动 B.属性
C.消息 D.方法
24.在面向对象的程序设计中,描述对象行为的是( )
A.对象名 B.属性
C.状态 D.方法
25.区块链核心技术不包括( )
A.中心化账本 B.密码学
C.共识机制 D.智能合约
二、判断题(本大题共10小题每小题1分,共10分)
判断下列各题的正误,正确的在答题卡的相应题号后将代码“A”涂黑,错误的在答题卡相应的题号后将代码“B”涂黑。错涂、多涂和未涂均无分。
26.( )逻辑运算主要包括3种基本运算:逻辑非、逻辑与和逻辑或。题26图所示的开关电路可以表示电灯L点亮与开关A、B闭合之间的逻辑关系,这种逻辑关系称为“逻辑与”。

27.( )与CPU封装在一起的cache可以看作主存的延伸,与主存统一编址,接受CPU的访问,但速度比主存快。
28.( )由于IP地址是网络中设备的唯一ID,所以一台计算机无法配置多个IP地址。
29.( )黑客攻击的常用方法有密码破解、IP嗅探、网络钓鱼和端口扫描等。
30.( )一旦数据库的表中已存在大量数据,就无法再对表结构进行修改。
31.( )在关系型数据库系统中,一个关系可以对应多个二维表,因而可以处理复杂的逻辑事务。
32.( )常用的文件压缩软件包括WinZip和WinRAR,为了提高文件的压缩率,都采用了有损压缩方法。
33.( )MIDI文件存放的不是声音采样信息,而是记录的音符数字,所以同样的一段音乐占用的存储空间比wav或MP3等文件小得多。
34.( )PowerPoint中,幻灯片的编号可以采用任意起始值。
35.( )大数据是具有海量、高增长率和多样化特征的信息资产。
三、填空题(本大题共10小题,每小题2分,共20分)
36.将带有无线网卡的计算机接入无线网络的设备是 。
37.Window7系统中的账户有三种类型:来宾账户、标准账户和管理员账户。实现账户管理的途径是选择 进入“用户账户”。
38.目前手机、个人电脑、服务器等设备使用的 广泛采用多核技术,对提高处理速度具有显著作用。
39.Excel中单元格A2中的数据为“5”,对A2单元格的引用除了A2、$A2、A$2以外,还可以引用 。
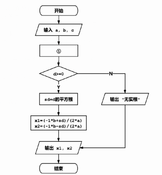
40.题40图用来计算一元二次方程ax2+bx+c=0的实数根,其中a(a≠0),b,c为已知,流程图中①处应该填写 。

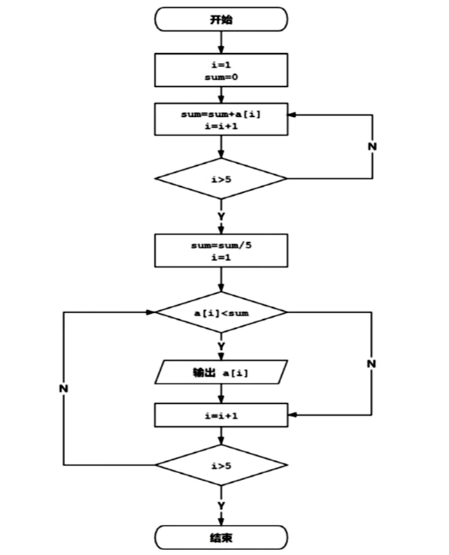
41.已知一维数组a的内容为:35,42,58,59,61,数维下标从1开始,执行题41图流程的程序之后,所有的输出是 。

42.下面SQL语句是把students和score表的内容按学号进行关联,使之在同一个表中输出。请填写①处缺失的内容。
select * from students, score ① students.学号=score.学号
43.模拟音频的数字化涉及声音的 、量化和编码过程。
44.我国的超级计算机有:天河二号、神威太湖之光、曙光TC600、深腾X8800等。到2020年1月中国超级计算机排行榜中,第一名是 。
45.题45图Excel数据表中,需要计算每位学生总分对应的名次,单元格I3应该填入的公式是 。

四、简答题(本大题共4小题,每小题5分,共20分)
46.题46图所示的Excel数据表,已输入10份问卷调查数据,每套问卷8道题,每道题有A、B、C、D四个备选项,要求统计出全部问卷每道题选择ABCD的数量和百分比,并呈现在数据表已有数据的下方,请完成:
(1)单元格B12的公式是
(2)单元格B13的公式是
(3)单元格B16的公式是
(4)单元格B17的公式是
(5)其余单元格公式生成的操作方法

47.如题47图所示,其中无线路由器一台(WAN口一个,LAN口4个,路由器的IP地址为192.168.20.1),台式电脑4台(不带无线网卡),笔记本电脑4台(带有线和无线网卡),智能手机4部。假设:本网的IP地址范围192.168.20.20到192.168.20.40,子网掩码为255.255.255.0,DNS服务器61.128.128.68,各设备通过DHCP自动获取地址。请设计这个办公网络,保证该网络的每个设备能正常上网。

(1)完成该网络必要的连线。
(2)在下表A、B、C处填上通过DHCP获取的地址(可以获取的地址有多个,只填写其中一个即可)。
|
设备 |
IP地址 |
子网掩码 |
默认网关 |
|
台式电脑第1台 |
A |
|
|
|
笔记本电脑第2台 |
|
B |
|
|
手机第3部 |
|
|
C |
48.在题48-1图所示Excel数据表中需要计算职工的实发工资,并统计各职务人员基本工资、津贴、奖金、实发工资的平均值。请简述基本步骤。
注:实发工资=基本工资+津贴-奖金扣款+高温补贴;所有人的高温补贴都是I2单元格的值;操作辅助图如题48-2图、题48-3图所示;最终统计结果如题48-4图所示。

题48-1图

题48-2图

题48-3图

题48-4图
49.用户要在Windows系统中访问某文件夹,在资源管理器中点击该文件夹时,发现没有访问权限,请结合题49图,说明修改某一文件夹权限的步骤。
题49图
五、设计题(本大题共4小题,每小题5分,共20分)
50.已知李明的银行存款为5000元,银行理财的年利率为3.5%,并且利息可以作为下一年度的本金。请编写程序,求存款达到10000元的目标需要多少年?请画出实现此功能的流程图。
51.求任意两个正整数的最大公约数,请画出算法流程图。
算法如下:输入任意两个不相等的正整数,大的存入M,小的存入N;接下来用M除以N取余为K,再把N赋值给M,K赋值给N;重复以上过程直到K为0;最后输出M。
52.程序要求把用字符串表示的任意长度的二进制整数转换成十进制整数(例如“1101”转换成13),并输出。画出完成程序所要求功能的流程图。
53.某售货电子秤的秤盘上放置有重量为16.38公斤物体时,计算机获得的连续不断的字符串如下:
......6.38=00016.3800-016.38000=0016.380=0016.38=001......
其中,字符串按从左到右的顺序输入到计算机,以“=”作为数据项的起始符和结束符。程序要求:当秤盘上放置任意物体时,从字符串中提取表示物体重量的数据,并按每公斤5元的价格计算销售金额,显示在设备屏幕上。请画出实现此功能的流程图。

浙公网安备 33010602011771号