2021年重庆专升本考试计算机真题及其答案
2021年重庆市普通高校专升本统一选拔考试计算机真题及其答案
计算机考试试题
注意事项:
1. 本试卷由众本院团队整理,如需使用请注明出处。
2. 本试卷提供配套网课,微信公众号“众本院”->“在线学习”->“系列课”->报名“计算机历年真题解读”课程。
3. 能否给一个公众号的二维码以及老师的联系方式,行!扫描下方的二维码即可:
一、单项选择题(每小题 2 分,共 50分)
1.负数-5在计算机中的补码是( )
A、11000001
B、11100001
C、11110101
D、11111011
2.下列选项中,不属于智能处理器特征的是( )
A、采用睿频加速技术,接负载提升主频,高效节能
B、采用超线程技术,提升CPU的并行处理能力双能
C、集成高频显卡,大幅提升3D性能
D、集成声卡,大幅提升声音音质
3.如下图所示, 选中EXCEL中B2到C4区域,其中活动单元格是( )。
A、B2
B、B2:C4
C、B2: B4
D、D4
4. 在电子表格中,活动单元格地址在混合引用,绝对引用,相对引用中,可以相互切换的快捷键( )。
A、F2
B、F3
C、F4
D、F5
5.电子表格如图,单元格F10已求得平均工资,要求对高于平均工资的文员,在工资情况栏显示“高工资”,否则不显示任何信息,为了用公式快捷完成所有人员的工资情况显示,在G2单元格显示( )。
A、=IF (F2>=$F$10, " 高工资"," ")
B、=IF (F2<=$F$10," ","高工资")
C、=IF (F2<$F$10," ", "高工资")
D、=IF (F2>$F$10,"高工资"," ")
6. 在电子表格中如图6所示分类汇总表,可分析出表中的分类字段名为( )
A、性别
B、年龄
C、职称
D、工资
7.在EXCEL中,要求表中数学大于80的人数,则公式应表示为( )
A、=COUNT(D2:D7,”>=80”)
B、=COUNT(D2:D7,”>80”)
C、=SUM(D2:D7,”>=80”)
D、=SUMIF(D2:D7,”>=80”)
8.在EXCEL中,筛选出同时满足语文大于80.英语大于85,数学大于90以上的数据,以下哪个表格设置正确( )
9.从计算思维角度分析,计算N的阶乘有两种方法,一种是递归法,二种是( )
A、迭代法
B、人工智能
C、牛顿莱布尼兹
D、矩阵相乘
10.有线局域网最常用的媒体控制方式( )
A、CSMA/CA
B、CSMA/CB
C、CSMA/CC
D、CSMA/CD
11.TCP/IP中,TCP协议工作在( )
A.网络层
B.传输层
C.应用层
D.数据链路层
12.欲想每张幻灯片都有
切换上一张、下一张等,不用单独设置每张幻灯片,可以在( )视图设置完成
A、幻灯片浏览
B、幻灯片母板
C、阅读
D、普通
13.复杂的声波由许多不同振幅和( )频率组成
A、正弦声波
B、锯齿声波
C、正切声波
D、余切声波
14.多媒体的基本特征是多样性、交互性和( )
A、连续性
B、便捷性
C、集成性
D、协调性
15.如果有人在微信上恶意中伤诽谤你,下列哪一个措施更为妥当( )
A、联系微信运营商,注销对方帐号
B、对其进行报复也对他进行人身攻击
C、报警并保留相关证据
D、跟其进行沟通,沟通让其撤销言论
16.计算机中IP地址与MAC地址描述错误的是( )
A、MAC地址是产品出厂前由制造商进行设置
B、IP地址是基于当前网络的拓扑结构进行分配
C、MAC地址常用十六进制表示
D、IP地址与MAC地址长度相等
17.下列图中的设备是什么( )
A、路由器
B、网卡
C、交换机
D、VPN
18.下列什么软件没有编辑、排列等文字处理的功能( )
A、WPS文字
B、OFFICE WORD
C、VISIO
D、ADOBO PAGEMAKER
19.删除表格STUDENT的语句是( )
A、TRUNCATE TABLE STUDENT
B、DELETE TABLE STUDENT
C、DROP TABLE STUDENT
D、CLEAR TABLE STUDENT
20.1000个已排序的数,若用二分法最多几次可以查找到指定的数( )
A、5
B、10
C、15
D、20
21.已知二进制数X=11001011,Y=10101101,⊕为“异或”运算符,求X⊕Y⊕Y的值( )
A、11001011
B、11100110
C、001011
D、01100110
22.以下中文字符集中,包含汉字最多的是( )
A、GB2312
B、BLG5
C、GBK
D、UTF-8
23.PYTHON是一种面向对象的( )
A、编译型语言
B、解释型语言
C、顺序型语言
D、脚本型语言
24.静态图象采用非压缩真彩色的文件格式是什么( )
A、JEPG
B、BMP
C、TGA
D、TIFF
25.虚拟现实的特点有交互性,想象性和( )
A、真实性
B、虚拟性
C、交互性
D、沉浸性
二、案例分析题(每题1分,共10分)
案例一:在多媒体课程的分组讨论中,A小组的同学们对常见的文本,声音,图象和视频格式,小王解释了文本采( 26 )压缩,小张说明了声音WAV采用了( 27 )压缩方法,小李解释图象格式真色彩且有透明特性的存储格式是( 28 ),视频常用的全高清视频的分辨率是( 29 )胡老师总结道,多媒体数据之所以要压缩处理是基于数据具有冗余度和人类不敏感因素。比如说人类的视觉敏感度就有一定限度,图像色彩、亮度层次、轮廓的微自我变化一般不宜察觉,这就产生了( 30 )冗度。
26. A、有损压缩
B、无损压缩
C、全带编码
D、 子带编码
27. A、有损压缩
B、无损压缩
C、全带编码
D、子带编码
28. A、BMP
B、PNG
C、JPEG
D、GIF
29. A、480P
B、1080P
C、2048P
D、4096P
30. A.时间
B.空间
C.视觉
D.统计
案例二:小伟同学即将毕业,应聘到一家创意设计公司做视频处理工作。为了在家里就能工作,需配置一台高性能电脑,教计算机课程的张老师给出了如下建议:所购电脑的内核最好是( 31 )的,内存为( 32 ),操作系统和应用程序最好安装在( 33 )盘里,视频处理软件建议采用( 34 ),为了连接高清显示设备最好配置( 35 )接口。
31. A.单核
B.双核
C.四核
D.八核
32.A.8GB
B.16GB
C.8GHz
D.16GHz
33.A.HD
B.CD
C.DVD
D.SSD
34.A.Goldwave
B.Photoshop
C.Premiere
D.Authorware
35.A.VGA
B.DVI
C.HDMI
D.FW1394
三、填空题(每小题 2 分,共 20分)
36.打印机的显示模式C (青) M (品红) K (黑)和 。
37.CPU字节长度和操作系统及应用软件的关系为CPU字长 操作系统长度 应用软件字长。
38.在微型计算机中执行的的过程如图所示,该题空自处为 。
39.在excel表格中,要统计数据表中的男,女职工的各类职称人数。此时要按"职称"分类。还要按“性别"分类,可以使用 功能。
40.在excel工作簿中,隐藏工作表或表格的选项卡是 。
41.疫情期间,有关部门可以通过技术来随时随地查找人们的行动轨迹,进行疫情防控。
42.在IPV6地址中,FFA5:0:0:0:0:0:A3 的最简沾零压缩法形式为 。
43.把一个不便于记忆的字符串映射成一个IP地址的服务是
44.如图所示为某SQL语句的查询结果,现在还需要按外语成绩降序排序,则应使用的SQL子句是 。
45.算法效率中,计算效率的复杂度有时间标准,和 。
四、简答题(本大题共4小题,每小题5分,共20分。).
46.小明的笔记本电脑通过无线的方式连接到网络,突然有一天无法连接到网络,请说出可能有那些问题(至少三点)
47.写出一下文档中所使用的排版格式
48.某班共36人,本学期所学课程有:大学英语、计算机、大学语文、大学数学、C语言。请新建一个excel表格,用来保存全版同学的期末考试成绩信息。
(1)表格中至少有那些字段?
(2)用函数对每位同学的总成绩进行求和。
(3)为每位同学的总成绩进行排序,求出每位同学的名次。
49.如图49数组a中有8个元素,分别为1,8,9,0,2,6,3,9 首位下标从0开始。
(1)该流程图的功能是( )
(2)最后的输出结果是( )
50. 已知网站位于 D:\mylib 文件夹中,主页文件是 index.asp,希望通过 IIS 建立虚拟目录的方式将网站发布,虚拟目录别名为dreamxiaohu。请根据题目要求以及图示完成图2以及图3空白处的配置。
图1
图2 图3
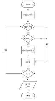
51.以下有 25 个数字存储到数组 a 中:25,5,76,100,31,41,52,37,55,77,78,41,32,74,21,36,48,72,14,66,78,96,15,88,45。在如图流程图中,变量 i 从 0 开始。
(1)当 count 第一次加 1 时,变量 i=________。
(2)当 count 第二次加 1 时,变量 i=________。
(3)程序结束时,输出 count=________。
五、应用题(本大题共2小题,每小题5分,共10分)
52.左侧有 10 行 10 列的数,请根据图 1 的数值设计一个流程图,按照顺序依次输出右侧图 2 里的内容。
|
63 |
12 |
8 |
64 |
49 |
1 |
78 |
60 |
12 |
21 |
|
52 |
75 |
84 |
96 |
46 |
45 |
63 |
21 |
21 |
10 |
|
54 |
63 |
63 |
63 |
63 |
12 |
95 |
12 |
2 |
3 |
|
63 |
85 |
98 |
34 |
12 |
45 |
46 |
1 |
21 |
96 |
|
85 |
96 |
78 |
20 |
99 |
98 |
20 |
2 |
12 |
78 |
|
96 |
4 |
56 |
20 |
9 |
96 |
75 |
2 |
12 |
56 |
|
20 |
5 |
6 |
85 |
63 |
63 |
20 |
93 |
12 |
2 |
|
12 |
1 |
3 |
2 |
78 |
63 |
32 |
96 |
12 |
21 |
|
12 |
85 |
10 |
0 |
71 |
52 |
12 |
78 |
21 |
21 |
|
86 |
63 |
1 |
2 |
3 |
25 |
321 |
3 |
32 |
3 |
图1
|
1 |
0 |
0 |
0 |
1 |
1 |
0 |
0 |
0 |
1 |
|
0 |
1 |
0 |
0 |
0 |
1 |
1 |
1 |
1 |
0 |
|
0 |
1 |
1 |
1 |
1 |
0 |
1 |
0 |
0 |
1 |
|
1 |
1 |
0 |
0 |
0 |
1 |
0 |
1 |
1 |
0 |
|
1 |
0 |
0 |
0 |
1 |
0 |
0 |
0 |
0 |
0 |
|
0 |
0 |
0 |
0 |
0 |
0 |
1 |
0 |
0 |
0 |
|
0 |
1 |
0 |
1 |
1 |
1 |
0 |
1 |
0 |
0 |
|
0 |
1 |
1 |
0 |
0 |
1 |
0 |
0 |
0 |
1 |
|
0 |
1 |
0 |
0 |
1 |
0 |
0 |
0 |
1 |
1 |
|
0 |
1 |
1 |
0 |
1 |
1 |
1 |
1 |
0 |
1 |
图2
53.有一段字符串长为 w 的数组 d 由字符 0 和 1 组成。其中,有且只有一段 1,其他全为 0,请设计一个流程图,找出第一个和最后一个 1 的位置并输出。(例如:d[ ]=“000000000000000000001111111100000000000000”,找到并输出第一个 1 和最后一个 1的位置)。












浙公网安备 33010602011771号