概述
基于内存存储的,NoSql数据库(非关系型数据库),存储结构 key-value
开源的、使用C语言编写、支持网络、可基于内存亦可持久化的日志型、Key-Value数据库,并提供多种语言的API
Redis的特点:
- Redis将数据存储到内存中,故读写速度非常快
- Redis提供了丰富的数据类型。String、List、Set、ZSet(SortedSet)、Hash
- Redis数据的切换非常方便,数据复制到其他装有redis的容器中
- Redis中的所有操作都是原子性的,从而保证数据的原子性

String:一个key上只能存一个值 存储字符和字符串(做缓存使用)



List:一个key可以有多个值(值有下标) 相当于Java的LinkedList(做任务队列)链表结构

Set:无序的集合,可以过滤重复(值可以有多个但不重复)

ZSet:可排序的Set(多值,不可重复)(可以做排行榜,因为排序)SortedSet

Hash: Key((Key-value),(Key-value)....)格式

持久化
redis是内存型的数据库,所以数据安全必须考虑,redis支持将数据持久化到磁盘。
RDB:(Snapshotting:快照)
- RDB 将数据库的快照(snapshot)以二进制的方式保存到磁盘中。
不适于实时性持久化,但其数据体量小,执行速度快,适合做数据版本控制
如果数据量巨大,则创建子进程的时间长,导致redis卡顿,要谨慎设置save参数时间间隔大些。或软件允许,可以每天在闲时手动同步(凌晨后。。。)
将生成的快照文件留在原地,则可以在redis重启后,保持数据状态。
将产生的快照文件,复制到其他redis服务中,可以方便的将数据移植过去
RDB有两种触发方式:1.自动触发 2.手动触发
- 自动触发:
①、save:这里是用来配置触发 Redis的 RDB 持久化条件,也就是什么时候将内存中的数据保存到硬盘。比如“save m n”。表示m秒内数据集存在n次修改时,自动触发bgsave(这个命令下面会介绍,手动触发RDB持久化的命令)默认如下配置:

当然如果你只是用Redis的缓存功能,不需要持久化,那么你可以注释掉所有的 save 行来停用保存功能。可以直接一个空字符串来实现停用:save ""
②、stop-writes-on-bgsave-error :默认值为yes。当启用了RDB且最后一次后台保存数据失败,Redis是否停止接收数据。这会让用户意识到数据没有正确持久化到磁盘上,否则没有人会注意到灾难(disaster)发生了。如果Redis重启了,那么又可以重新开始接收数据了
③、rdbcompression ;默认值是yes。对于存储到磁盘中的快照,可以设置是否进行压缩存储。如果是的话,redis会采用LZF算法进行压缩。如果你不想消耗CPU来进行压缩的话,可以设置为关闭此功能,但是存储在磁盘上的快照会比较大。
④、rdbchecksum :默认值是yes。在存储快照后,我们还可以让redis使用CRC64算法来进行数据校验,但是这样做会增加大约10%的性能消耗,如果希望获取到最大的性能提升,可以关闭此功能。
⑤、dbfilename :设置快照的文件名,默认是 dump.rdb
⑥、dir:设置快照文件的存放路径,这个配置项一定是个目录,而不能是文件名。默认是和当前配置文件保存在同一目录。
也就是说通过在配置文件中配置的 save 方式,当实际操作满足该配置形式时就会进行 RDB 持久化,将当前的内存快照保存在 dir 配置的目录中,文件名由配置的 dbfilename 决定。
2.手动触发
手动触发Redis进行RDB持久化的命令有两种:
1、save
该命令会阻塞当前Redis服务器,执行save命令期间,Redis不能处理其他命令,直到RDB过程完成为止。
显然该命令对于内存比较大的实例会造成长时间阻塞,这是致命的缺陷,为了解决此问题,Redis提供了第二种方式。
2、bgsave
执行该命令时,Redis会在后台异步进行快照操作,快照同时还可以响应客户端请求。具体操作是Redis进程执行fork操作创建子进程,RDB持久化过程由子进程负责,完成后自动结束。阻塞只发生在fork阶段,一般时间很短。
基本上 Redis 内部所有的RDB操作都是采用 bgsave 命令。
ps:执行执行 flushall 命令,也会产生dump.rdb文件,但里面是空的.

RDB机制的运行原理
- 在某些时刻redis通过fork(分流、岔开)产生子进程、一个父进程的快照(副本),其中有和父进程当前时刻相同的数据。
- 父进程继续处理client请求,子进程负责将快照(副本)写入临时文件
- 子进程写完后,用临时文件替换原来的快照文件,然后子进程退出。
配置:

RDB的优势与劣势:
①、优势
1.RDB是一个非常紧凑(compact)的文件,它保存了redis 在某个时间点上的数据集。这种文件非常适合用于进行备份和灾难恢复。
2.生成RDB文件的时候,redis主进程会fork()一个子进程来处理所有保存工作,主进程不需要进行任何磁盘IO操作。
3.RDB 在恢复大数据集时的速度比 AOF 的恢复速度要快。
②、劣势
1、RDB方式数据没办法做到实时持久化/秒级持久化。因为bgsave每次运行都要执行fork操作创建子进程,属于重量级操作(内存中的数据被克隆了一份,大致2倍的膨胀性需要考虑),频繁执行成本过高(影响性能)
2、RDB文件使用特定二进制格式保存,Redis版本演进过程中有多个格式的RDB版本,存在老版本Redis服务无法兼容新版RDB格式的问题(版本不兼容)
3、在一定间隔时间做一次备份,所以如果redis意外down掉的话,就会丢失最后一次快照后的所有修改(数据有丢失)
AOF:Append Of File(追加文件)
AOF则以协议文本的方式,将所有对数据库进行过写入的命令(及其参数)记录到AOF文件,以此达到记录数据库状态的目的。
AOF文件会不断增长(可能比快照文件大几倍),在极端情况下,在极端情况下可能会对硬盘空间造成压力。
Redis重启时,需要重新执行一个可能非常大的AOF时间会很长。
AOF同步时间间隔小,数据更安全,理论上至多丢失1秒的数据,比RDB更擅长做更实时的持久化。
- redis将每一个写操作(执行成功),写入一个aof文件。
- Redis重启 时只要从头到尾执行一次aof文件,即可恢复数据;也可以将aof文件复制到别的服务器,做数据移植
注意:在重启时,要恢复数据,如果RDB文件和AOF文件同时存在,以AOF为准。
Redis 目前支持三种 AOF 保存模式,它们分别是:
- AOF_FSYNC_NO :不保存。
- AOF_FSYNC_EVERYSEC :每一秒钟保存一次。
- AOF_FSYNC_ALWAYS :每执行一个命令保存一次。
配置:
Appendonly yes #启动AOF
Appendfsync always #每次收到写命令就立即强制写入磁盘,保证完全的持久化,但产生极大的IO开销(不推荐使用)
Appendfsync everysec #每秒钟强制写入磁盘一次,在性能和持久化方面做了很好的折中(推荐使用)
Appendfsync no #由操作系统决定何时同步,如果系统宕机则导致redis丢失不定量数据
Appendfilename “appendonly.aof” #设置aof文件名
AOF重写:
为了减少AOF文件的体量,可以手动发送bgrewriteaof命令,则会创建子进程,生成更小体量的AOF文件,然后替换掉旧的、大体量的AOF文件。
配置:
Auto-aof-rewrite-percentage 100
Auto-aof-rewrite-min-size 64mb
在体量超过64mb,且比上次重写后的体量增加了100%时自动触发重写
Redis集群:3以前一主多从,3以后多主多从
Java-redis:(jedis)

Redis面试题
1、什么是redis?
redis是一个高性能的key-value数据库,它是完全开源免费的,而且redis是一个NOSQL类型数据库,是为了解决高并发、高扩展,大数据存储等一系列的问题而产生的数据库解决方案,是一个非关系型的数据库
2、Reids的特点
Redis本质上是一个Key-Value类型的内存数据库,很像memcached,整个数据库统统加载在内存当中进行操作,定期通过异步操作把数据库数据flush到硬盘上进行保存。因为是纯内存操作,Redis的性能非常出色,每秒可以处理超过 10万次读写操作,是已知性能最快的Key-Value DB。
Redis的出色之处不仅仅是性能,Redis最大的魅力是支持保存多种数据结构,此外单个value的最大限制是1GB,不像 memcached只能保存1MB的数据,因此Redis可以用来实现很多有用的功能,比方说用他的List来做FIFO双向链表,实现一个轻量级的高性 能消息队列服务,用他的Set可以做高性能的tag系统等等。另外Redis也可以对存入的Key-Value设置expire时间,因此也可以被当作一 个功能加强版的memcached来用。
Redis的主要缺点是数据库容量受到物理内存的限制,不能用作海量数据的高性能读写,因此Redis适合的场景主要局限在较小数据量的高性能操作和运算上。
3、使用redis有哪些好处?
3.1 速度快,因为数据存在内存中,类似于HashMap,HashMap的优势就是查找和操作的时间复杂度都是O(1)
3.2 支持丰富数据类型,支持string,list,set,sorted set,hash
String
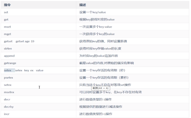
常用命令:set/get/decr/incr/mget等;
应用场景:String是最常用的一种数据类型,普通的key/value存储都可以归为此类;
实现方式:String在redis内部存储默认就是一个字符串,被redisObject所引用,当遇到incr、decr等操作时会转成数值型进行计算,此时redisObject的encoding字段为int。
Hash
常用命令:hget/hset/hgetall等
应用场景:我们要存储一个用户信息对象数据,其中包括用户ID、用户姓名、年龄和生日,通过用户ID我们希望获取该用户的姓名或者年龄或者生日;
实现方式:Redis的Hash实际是内部存储的Value为一个HashMap,并提供了直接存取这个Map成员的接口。如图所示,Key是用户ID, value是一个Map。这个Map的key是成员的属性名,value是属性值。这样对数据的修改和存取都可以直接通过其内部Map的Key(Redis里称内部Map的key为field), 也就是通过 key(用户ID) + field(属性标签) 就可以操作对应属性数据。当前HashMap的实现有两种方式:当HashMap的成员比较少时Redis为了节省内存会采用类似一维数组的方式来紧凑存储,而不会采用真正的HashMap结构,这时对应的value的redisObject的encoding为zipmap,当成员数量增大时会自动转成真正的HashMap,此时redisObject的encoding字段为int。整编:微信公众号,搜云库技术团队,ID:souyunku
List
常用命令:lpush/rpush/lpop/rpop/lrange等;
应用场景:Redis list的应用场景非常多,也是Redis最重要的数据结构之一,比如twitter的关注列表,粉丝列表等都可以用Redis的list结构来实现;
实现方式:Redis list的实现为一个双向链表,即可以支持反向查找和遍历,更方便操作,不过带来了部分额外的内存开销,Redis内部的很多实现,包括发送缓冲队列等也都是用的这个数据结构。
Set
常用命令:sadd/spop/smembers/sunion等;
应用场景:Redis set对外提供的功能与list类似是一个列表的功能,特殊之处在于set是可以自动排重的,当你需要存储一个列表数据,又不希望出现重复数据时,set是一个很好的选择,并且set提供了判断某个成员是否在一个set集合内的重要接口,这个也是list所不能提供的;
实现方式:set 的内部实现是一个 value永远为null的HashMap,实际就是通过计算hash的方式来快速排重的,这也是set能提供判断一个成员是否在集合内的原因。
Sorted Set
常用命令:zadd/zrange/zrem/zcard等;
应用场景:Redis sorted set的使用场景与set类似,区别是set不是自动有序的,而sorted set可以通过用户额外提供一个优先级(score)的参数来为成员排序,并且是插入有序的,即自动排序。当你需要一个有序的并且不重复的集合列表,那么可以选择sorted set数据结构,比如twitter 的public timeline可以以发表时间作为score来存储,这样获取时就是自动按时间排好序的。整编:微信公众号,搜云库技术团队,ID:souyunku
实现方式:Redis sorted set的内部使用HashMap和跳跃表(SkipList)来保证数据的存储和有序,HashMap里放的是成员到score的映射,而跳跃表里存放的是所有的成员,排序依据是HashMap里存的score,使用跳跃表的结构可以获得比较高的查找效率,并且在实现上比较简单。
4、redis相比memcached有哪些优势?
4.1 memcached所有的值均是简单的字符串,redis作为其替代者,支持更为丰富的数据类型
4.2 redis的速度比memcached快很多 (3) redis可以持久化其数据
5、Memcache与Redis的区别都有哪些?
5.1 存储方式 Memecache把数据全部存在内存之中,断电后会挂掉,数据不能超过内存大小。Redis有部份存在硬盘上,这样能保证数据的持久性。
5.2 数据支持类型 Memcache对数据类型支持相对简单。Redis有复杂的数据类型。
5.3 使用底层模型不同 它们之间底层实现方式 以及与客户端之间通信的应用协议不一样。Redis直接自己构建了VM 机制 ,因为一般的系统调用系统函数的话,会浪费一定的时间去移动和请求。
6、redis适用于的场景?
Redis最适合所有数据in-momory的场景,如:
6.1 会话缓存(Session Cache)
最常用的一种使用Redis的情景是会话缓存(session cache)。用Redis缓存会话比其他存储(如Memcached)的优势在于:Redis提供持久化。
6.2 全页缓存(FPC)
除基本的会话token之外,Redis还提供很简便的FPC平台。回到一致性问题,即使重启了Redis实例,因为有磁盘的持久化,用户也不会看到页面加载速度的下降,这是一个极大改进,类似PHP本地FPC。
6.3 队列
Reids在内存存储引擎领域的一大优点是提供 list 和 set 操作,这使得Redis能作为一个很好的消息队列平台来使用。Redis作为队列使用的操作,就类似于本地程序语言(如Python)对 list 的 push/pop 操作。
如果你快速的在Google中搜索“Redis queues”,你马上就能找到大量的开源项目,这些项目的目的就是利用Redis创建非常好的后端工具,以满足各种队列需求。例如,Celery有一个后台就是使用Redis作为broker,你可以从这里去查看。
6.4 排行榜/计数器
Redis在内存中对数字进行递增或递减的操作实现的非常好。集合(Set)和有序集合(Sorted Set)也使得我们在执行这些操作的时候变的非常简单,Redis只是正好提供了这两种数据结构。所以,我们要从排序集合中获取到排名最靠前的10个用户–我们称之为“user_scores”,我们只需要像下面一样执行即可:
当然,这是假定你是根据你用户的分数做递增的排序。如果你想返回用户及用户的分数,你需要这样执行:
ZRANGE user_scores 0 10 WITHSCORES
Agora Games就是一个很好的例子,用Ruby实现的,它的排行榜就是使用Redis来存储数据的,你可以在这里看到。
6.5 发布/订阅
最后(但肯定不是最不重要的)是Redis的发布/订阅功能。发布/订阅的使用场景确实非常多。
7、redis的缓存失效策略和主键失效机制
作为缓存系统都要定期清理无效数据,就需要一个主键失效和淘汰策略.
在Redis当中,有生存期的key被称为volatile。在创建缓存时,要为给定的key设置生存期,当key过期的时候(生存期为0),它可能会被删除。
1、影响生存时间的一些操作
生存时间可以通过使用 DEL 命令来删除整个 key 来移除,或者被 SET 和 GETSET 命令覆盖原来的数据,也就是说,修改key对应的value和使用另外相同的key和value来覆盖以后,当前数据的生存时间不同。整编:微信公众号,搜云库技术团队,ID:souyunku
比如说,对一个 key 执行INCR命令,对一个列表进行LPUSH命令,或者对一个哈希表执行HSET命令,这类操作都不会修改 key 本身的生存时间。另一方面,如果使用RENAME对一个 key 进行改名,那么改名后的 key的生存时间和改名前一样。
RENAME命令的另一种可能是,尝试将一个带生存时间的 key 改名成另一个带生存时间的 another_key ,这时旧的 another_key (以及它的生存时间)会被删除,然后旧的 key 会改名为 another_key ,因此,新的 another_key 的生存时间也和原本的 key 一样。使用PERSIST命令可以在不删除 key 的情况下,移除 key 的生存时间,让 key 重新成为一个persistent key 。
2、如何更新生存时间
可以对一个已经带有生存时间的 key 执行EXPIRE命令,新指定的生存时间会取代旧的生存时间。过期时间的精度已经被控制在1ms之内,主键失效的时间复杂度是O(1),
EXPIRE和TTL命令搭配使用,TTL可以查看key的当前生存时间。设置成功返回 1;当 key 不存在或者不能为 key 设置生存时间时,返回 0 。
最大缓存配置 在 redis 中,允许用户设置最大使用内存大小 server.maxmemory 默认为0,没有指定最大缓存,如果有新的数据添加,超过最大内存,则会使redis崩溃,所以一定要设置。redis 内存数据集大小上升到一定大小的时候,就会实行数据淘汰策略。
redis 提供 6种数据淘汰策略:
volatile-lru:从已设置过期时间的数据集中挑选最近最少使用的数据淘汰
volatile-ttl:从已设置过期时间的数据集中挑选将要过期的数据淘汰
volatile-random:从已设置过期时间的数据集中任意选择数据淘汰
allkeys-lru:从数据集中挑选最近最少使用的数据淘汰
allkeys-random:从数据集中任意选择数据淘汰
no-enviction(驱逐):禁止驱逐数据
注意这里的6种机制,volatile和allkeys规定了是对已设置过期时间的数据集淘汰数据还是从全部数据集淘汰数据,后面的lru、ttl以及random是三种不同的淘汰策略,再加上一种no-enviction永不回收的策略。
使用策略规则:
1、如果数据呈现幂律分布,也就是一部分数据访问频率高,一部分数据访问频率低,则使用allkeys-lru
2、如果数据呈现平等分布,也就是所有的数据访问频率都相同,则使用allkeys-random
三种数据淘汰策略:
ttl和random比较容易理解,实现也会比较简单。主要是Lru最近最少使用淘汰策略,设计上会对key 按失效时间排序,然后取最先失效的key进行淘汰
8、为什么redis需要把所有数据放到内存中?
Redis为了达到最快的读写速度将数据都读到内存中,并通过异步的方式将数据写入磁盘。所以redis具有快速和数据持久化的特征。如果不将数据放在内存中,磁盘I/O速度为严重影响redis的性能。在内存越来越便宜的今天,redis将会越来越受欢迎。
如果设置了最大使用的内存,则数据已有记录数达到内存限值后不能继续插入新值。
9、Redis是单进程单线程的
redis利用队列技术将并发访问变为串行访问,消除了传统数据库串行控制的开销
10、redis的并发竞争问题如何解决?
Redis为单进程单线程模式,采用队列模式将并发访问变为串行访问。Redis本身没有锁的概念,Redis对于多个客户端连接并不存在竞争,但是在Jedis客户端对Redis进行并发访问时会发生连接超时、数据转换错误、阻塞、客户端关闭连接等问题,这些问题均是
由于客户端连接混乱造成。对此有2种解决方法:
10.1 客户端角度,为保证每个客户端间正常有序与Redis进行通信,对连接进行池化,同时对客户端读写Redis操作采用内部锁synchronized。
10.2 服务器角度,利用setnx实现锁。
注:对于第一种,需要应用程序自己处理资源的同步,可以使用的方法比较通俗,可以使用synchronized也可以使用lock;第二种需要用到Redis的setnx命令,但是需要注意一些问题。
11、redis常见性能问题和解决方案
11.1 Master写内存快照,save命令调度rdbSave函数,会阻塞主线程的工作,当快照比较大时对性能影响是非常大的,会间断性暂停服务,所以Master最好不要写内存快照。整编:微信公众号,搜云库技术团队,ID:souyunku
11.2 Master AOF持久化,如果不重写AOF文件,这个持久化方式对性能的影响是最小的,但是AOF文件会不断增大,AOF文件过大会影响Master重启的恢复速度。Master最好不要做任何持久化工作,包括内存快照和AOF日志文件,特别是不要启用内存快照做持久
化,如果数据比较关键,某个Slave开启AOF备份数据,策略为每秒同步一次。
11.3 Master调用BGREWRITEAOF重写AOF文件,AOF在重写的时候会占大量的CPU和内存资源,导致服务load过高,出现短暂服务暂停现象。
11.4 Redis主从复制的性能问题,为了主从复制的速度和连接的稳定性,Slave和Master最好在同一个局域网内。
12、redis事物的了解CAS(check-and-set 操作实现乐观锁 )?
和众多其它数据库一样,Redis作为NoSQL数据库也同样提供了事务机制。在Redis中,MULTI/EXEC/DISCARD/WATCH这四个命令是我们实现事务的基石。相信对有关系型数据库开发经验的开发者而言这一概念并不陌生,即便如此,我们还是会简要的列出
Redis中
事务的实现特征:
12.1 在事务中的所有命令都将会被串行化的顺序执行,事务执行期间,Redis不会再为其它客户端的请求提供任何服务,从而保证了事物中的所有命令被原子的执行。
12.2 和关系型数据库中的事务相比,在Redis事务中如果有某一条命令执行失败,其后的命令仍然会被继续执行。
12.3 我们可以通过MULTI命令开启一个事务,有关系型数据库开发经验的人可以将其理解为"BEGIN TRANSACTION"语句。在该语句之后执行的命令都将被视为事务之内的操作,最后我们可以通过执行EXEC/DISCARD命令来提交/回滚该事务内的所有操作。这两个Redis命令可被视为等同于关系型数据库中的COMMIT/ROLLBACK语句。
12.4 在事务开启之前,如果客户端与服务器之间出现通讯故障并导致网络断开,其后所有待执行的语句都将不会被服务器执行。然而如果网络中断事件是发生在客户端执行EXEC命令之后,那么该事务中的所有命令都会被服务器执行。
12.5 当使用Append-Only模式时,Redis会通过调用系统函数write将该事务内的所有写操作在本次调用中全部写入磁盘。然而如果在写入的过程中出现系统崩溃,如电源故障导致的宕机,那么此时也许只有部分数据被写入到磁盘,而另外一部分数据却已经丢失。Redis服务器会在重新启动时执行一系列必要的一致性检测,一旦发现类似问题,就会立即退出并给出相应的错误提示。此时,我们就要充分利用Redis工具包中提供的redis-check-aof工具,该工具可以帮助我们定位到数据不一致的错误,并将已经写入的部分数据进行回滚。修复之后我们就可以再次重新启动Redis服务器了。
13、WATCH命令和基于CAS的乐观锁?
在Redis的事务中,WATCH命令可用于提供CAS(check-and-set)功能。假设我们通过WATCH命令在事务执行之前监控了多个Keys,倘若在WATCH之后有任何Key的值发生了变化,EXEC命令执行的事务都将被放弃,同时返回Null multi-bulk应答以通知调用者事务
执行失败。例如,我们再次假设Redis中并未提供incr命令来完成键值的原子性递增,如果要实现该功能,我们只能自行编写相应的代码。其伪码如下:
val = GET mykey
val = val + 1
SET mykey $val
以上代码只有在单连接的情况下才可以保证执行结果是正确的,因为如果在同一时刻有多个客户端在同时执行该段代码,那么就会出现多线程程序中经常出现的一种错误场景--竞态争用(race condition)。比如,客户端A和B都在同一时刻读取了mykey的原有值,假设该值为10,此后两个客户端又均将该值加一后set回Redis服务器,这样就会导致mykey的结果为11,而不是我们认为的12。为了解决类似的问题,我们需要借助WATCH命令的帮助,见如下代码:
WATCH mykey
val = GET mykey
val = val + 1
MULTI
SET mykey $val
EXEC
和此前代码不同的是,新代码在获取mykey的值之前先通过WATCH命令监控了该键,此后又将set命令包围在事务中,这样就可以有效的保证每个连接在执行EXEC之前,如果当前连接获取的mykey的值被其它连接的客户端修改,那么当前连接的EXEC命令将执行失败。这样调用者在判断返回值后就可以获悉val是否被重新设置成功。
14、使用过Redis分布式锁么,它是什么回事?
先拿setnx来争抢锁,抢到之后,再用expire给锁加一个过期时间防止锁忘记了释放。
这时候对方会告诉你说你回答得不错,然后接着问如果在setnx之后执行expire之前进程意外crash或者要重启维护了,那会怎么样?
这时候你要给予惊讶的反馈:唉,是喔,这个锁就永远得不到释放了。紧接着你需要抓一抓自己得脑袋,故作思考片刻,好像接下来的结果是你主动思考出来的,然后回答:我记得set指令有非常复杂的参数,这个应该是可以同时把setnx和expire合成一条指令来用的!对方这时会显露笑容,心里开始默念:摁,这小子还不错。整编:微信公众号,搜云库技术团队,ID:souyunku
15、假如Redis里面有1亿个key,其中有10w个key是以某个固定的已知的前缀开头的,如果将它们全部找出来?
使用keys指令可以扫出指定模式的key列表。
对方接着追问:如果这个redis正在给线上的业务提供服务,那使用keys指令会有什么问题?
这个时候你要回答redis关键的一个特性:redis的单线程的。keys指令会导致线程阻塞一段时间,线上服务会停顿,直到指令执行完毕,服务才能恢复。这个时候可以使用scan指令,scan指令可以无阻塞的提取出指定模式的key列表,但是会有一定的重复概率,在客户端做一次去重就可以了,但是整体所花费的时间会比直接用keys指令长。
16、使用过Redis做异步队列么,你是怎么用的?
一般使用list结构作为队列,rpush生产消息,lpop消费消息。当lpop没有消息的时候,要适当sleep一会再重试。
如果对方追问可不可以不用sleep呢?list还有个指令叫blpop,在没有消息的时候,它会阻塞住直到消息到来。
如果对方追问能不能生产一次消费多次呢?使用pub/sub主题订阅者模式,可以实现1:N的消息队列。
如果对方追问pub/sub有什么缺点?在消费者下线的情况下,生产的消息会丢失,得使用专业的消息队列如rabbitmq等。
如果对方追问redis如何实现延时队列?我估计现在你很想把面试官一棒打死如果你手上有一根棒球棍的话,怎么问的这么详细。但是你很克制,然后神态自若的回答道:使用sortedset,拿时间戳作为score,消息内容作为key调用zadd来生产消息,消费者用zrangebyscore指令获取N秒之前的数据轮询进行处理。整编:微信公众号,搜云库技术团队,ID:souyunku
到这里,面试官暗地里已经对你竖起了大拇指。但是他不知道的是此刻你却竖起了中指,在椅子背后。
17、如果有大量的key需要设置同一时间过期,一般需要注意什么?
如果大量的key过期时间设置的过于集中,到过期的那个时间点,redis可能会出现短暂的卡顿现象。一般需要在时间上加一个随机值,使得过期时间分散一些。
18、Redis如何做持久化的?
bgsave做镜像全量持久化,aof做增量持久化。因为bgsave会耗费较长时间,不够实时,在停机的时候会导致大量丢失数据,所以需要aof来配合使用。在redis实例重启时,会使用bgsave持久化文件重新构建内存,再使用aof重放近期的操作指令来实现完整恢复重启之前的状态。
对方追问那如果突然机器掉电会怎样?取决于aof日志sync属性的配置,如果不要求性能,在每条写指令时都sync一下磁盘,就不会丢失数据。但是在高性能的要求下每次都sync是不现实的,一般都使用定时sync,比如1s1次,这个时候最多就会丢失1s的数据。
对方追问bgsave的原理是什么?你给出两个词汇就可以了,fork和cow。fork是指redis通过创建子进程来进行bgsave操作,cow指的是copy on write,子进程创建后,父子进程共享数据段,父进程继续提供读写服务,写脏的页面数据会逐渐和子进程分离开来。
19、Pipeline有什么好处,为什么要用pipeline?
可以将多次IO往返的时间缩减为一次,前提是pipeline执行的指令之间没有因果相关性。使用redis-benchmark进行压测的时候可以发现影响redis的QPS峰值的一个重要因素是pipeline批次指令的数目。
20、Redis的同步机制了解么?
Redis可以使用主从同步,从从同步。第一次同步时,主节点做一次bgsave,并同时将后续修改操作记录到内存buffer,待完成后将rdb文件全量同步到复制节点,复制节点接受完成后将rdb镜像加载到内存。加载完成后,再通知主节点将期间修改的操作记录同步到复制节点进行重放就完成了同步过程。
21、是否使用过Redis集群,集群的原理是什么?
Redis Sentinal着眼于高可用,在master宕机时会自动将slave提升为master,继续提供服务。
Redis Cluster着眼于扩展性,在单个redis内存不足时,使用Cluster进行分片存储。
浙公网安备 33010602011771号