生成微信小程序码、URL Scheme、URL Link等方法
前言
链接方式跳转或者通过接口生成的二维码,需要获取access_token,需要服务端去获取并缓存 (APPID和APPSECRET在微信小程序后台查看获取)
https://api.weixin.qq.com/cgi-bin/token?grant_type=client_credential&appid=APPID&secret=APPSECRET
参数说明:

access_token使用说明:

** 1、获取小程序码(通过该接口生成的小程序码,永久有效,数量暂无限制)**
uni.request({
url: "https://api.weixin.qq.com/wxa/getwxacodeunlimit?access_token=" + access_token,//access_token从服务端获取
method: 'POST',
responseType: 'arraybuffer', //设置响应类型
data: {
path: 'pages/index/index', // 必须是已经发布的小程序存在的页面(否则报错)
scene: encodeURIComponent('id=123&code=xxx'),//小程序端需要 decodeURIComponent(query.scene)
width: 360,//最小 280px,最大 1280px
auto_color: true, // 默认false, 自动配置线条颜色,如果颜色依然是黑色,则说明不建议配置主色调
},
success: function(res) {
console.log('获取二维码信息', res) //返回的是ArrayBuffer对象
const qrcode = "data:image/PNG;BASE64," + uni.arrayBufferToBase64(res.data);
console.log("base64的二维码图片地址", qrcode);
}
})
复制代码
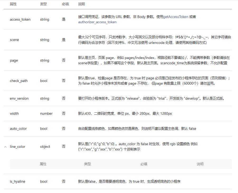
具体接口入参如下图所示:

注意:当生成体验版或开发版,不需要页面路径已经发布。
2.获取URL Scheme
2.1 加密scheme
通过该接口生成的Scheme,只有30天有效期;
2023-12-19 起不再有永久scheme链接;
IOS可以直接跳,安卓需要适配weixin://xxx这种协议头;
在微信应用内非小程序中,则都可以直接点击weixin://类协议跳转;
URL Scheme格式
weixin://dl/business/?t=TICKET&cq=CUSTOM PARAMETER
其中参数含义如下:

生成密文链接方式:
uni.request({
url: "https://api.weixin.qq.com/wxa/generatescheme?access_token=" + access_token, // access_token从服务端获取
method: 'POST',
data: {
expire_type: 1, //到期失效的 scheme 码失效类型,失效时间:0,失效间隔天数:1
// expire_time: 1606737600, //到期失效的 scheme 码的失效时间,为 Unix 时间戳,最长有效期为30天. expire_type为 0 必填
expire_interval: 30, //到期失效的 scheme 码的失效间隔天数,最长间隔天数为30天. expire_type为 1 时必填
jump_wxa: {
path: 'pages/index/index',// 必须是已经发布的小程序存在的页面(否则报错)
query:'id=666&code=xxx',//传递的参数,小程序端在APP.onLaunch直接获取参数
env_version: "release"//正式版为release,体验版为trial, 开发版为develop
}
},
success: function(res) {
console.log('获取scheme', res.data.openlink) // weixin://dl/business/?t=DSTHnSHeQgj
}
})
2.2 明文scheme
明文 URL Scheme 没有有效期的概念,可长期有效,但需要在微信小程序后台配置路径白名单。
前往微信公众平台登录进入小程序,点击菜单最后一项 进入设置 > 基本设置,找到隐私设置,如图:

URL Scheme格式
weixin://dl/business/?appid=APPID&path=PATH&query=QUERY&env_version=ENV_VERSION
其中参数含义如下:

示例:
window.open('weixin://dl/business/?appid=项目appid&path=pages/index/index&query=isApp%3Dtrue', '_blank')
注意:
生成体验版或开发版需要页面路径发布,且要在微信外打开,微信内打开仍是正式版。
3、获取URL Link
通过该接口生成的Link,只有30天有效期;
Link链接内部也是通过scheme跳转的,还不如直接使用方法2的scheme跳转;
uni.request({
url: "https://api.weixin.qq.com/wxa/generate_urllink?access_token=" + access_token, // access_token从服务端获取
method: 'POST',
data: {
path: 'pages/index/index',// 必须是已经发布的小程序存在的页面(否则报错)
query:'id=888&code=xxx',//传递的参数,小程序端在APP.onLaunch直接获取参数
expire_type: 1, //到期失效的 URL Link 失效类型,失效时间:0,失效间隔天数:1
// expire_time: 1606737600, //到期失效的 URL Link 的失效时间,为 Unix 时间戳,最长有效期为30天. expire_type为 0 必填
expire_interval: 30, //到期失效的 URL Link 的失效间隔天数,最长间隔天数为30天. expire_type为 1 时必填
},
success: function(res) {
console.log('获取link', res.data.url_link) // https://wxaurl.cn/xrkrXas4HBf
}
})
复制代码
接口具体入参如下图所示:

注意:
URL Scheme 和 URL Link 都不能在小程序内部直接使用“跳转到另一个小程序”;它们只能从微信外(短信、邮件、浏览器、App 等)唤起微信并打开当前小程序的指定页面。
经测试验证,URL Scheme 和 URL Link也可在微信APP内的消息、朋友圈文字等可直接点击跳转,就除了微信小程序内跳转不行。
在小程序内实现跳转其他小程序,只能使用微信提供的导航类 API(wx.navigateToMiniProgram / navigator 组件),而不是 Scheme/Link。
生成体验版或开发版需要页面路径发布,且要在微信外打开,微信内打开仍是正式版。
4、 微信小程序内跳转其他微信小程序
复制代码
// 点击按钮后跳转到另一个小程序
wx.navigateToMiniProgram({
appId: 'wx1234567890abcdef',
path: 'pages/index/index?foo=bar', // 可带参数
envVersion: 'release',
success(res) {},
fail(err) {}
})
// 或在 wxml 里用 navigator 组件:
跳转另一个小程序
5、h5 跳小程序
5.1、使用jweixin-1.6.0.js
a、首先需要在H5页面中引入JSSDK,它可以让H5页面的js文件执行微信小程序的部分API命令。H5页面引入JSSDK的代码如下所示
b、跳转至小程序页面方法
wx.miniProgram.navigateTo()
wx.miniProgram.navigateBack()
wx.miniProgram.switchTab()
wx.miniProgram.reLaunch()
wx.miniProgram.redirectTo()
上述API的使用与微信小程序中页面跳转的API使用规范是一样的,以wx.miniProgram.navigateTo()为例,该方法的API格式如下所示。
// 判断当前环境是否为小程序
const ua = navigator.userAgent.toLowerCase();
if (ua.match(/MicroMessenger/i) == 'micromessenger') {
wx.miniProgram.getEnv((res) => {
if (res.miniprogram) {
console.log('在小程序内');
} else {
console.log('不在小程序内');
}
});
} else {
console.log('不在微信浏览器内');
}
// 小程序跳转方法
wx.miniProgram.navigateTo({
url:'/pages/index/index', // 指定跳转至小程序页面的路径
success: (res) => {
console.log(res); // 页面跳转成功的回调函数
},
fail: (err) => {
console.log(err); // 页面跳转失败的回调函数
}
});
// 通过链接与小程序通讯传参
// 静态参数传输
wx.miniProgram.navigateTo({
url:'/pages/index/index?id=1', // id:所需参数
success: (res) => {
console.log(res); // 页面跳转成功的回调函数
},
fail: (err) => {
console.log(err); // 页面跳转失败的回调函数
}
});
// 动态参数传输
let id = 1;
wx.miniProgram.navigateTo({
url:'/pages/index/index?id=' + id, // id:所需参数(动态参数需放在引号外小程序才可识别)
success: (res) => {
console.log(res); // 页面跳转成功的回调函数
},
fail: (err) => {
console.log(err); // 页面跳转失败的回调函数
}
});
注意事项:
跳转 tabBar 页面只可使用 wx.miniProgram.switchTab() 方法,其他方法均无效。
wx.miniProgram.switchTab() 方法不可以携带参数,如跳转页面为 tabBar 页面则无法通过跳转路径实现H5与小程序之间的传参。
小程序官方文档
5.2、使用URL Scheme 和 URL Link
在h5直接使用location.href跳转 或者window.open
注意: 不要在微信小程序内直接使用url scheme或url link方式, 或间接用h5做中转再跳也是不行,跳不过去的。
在微信小程序的
官方文档和社区多次明确:web-view 内不支持跳转其他小程序,只能退回到宿主小程序后,由用户再次点击才能调 wx.navigateToMiniProgram。

浙公网安备 33010602011771号