day16--数组使用、多维数组、Arrays类
-
普通的for循环
-
For-each循环
-
数组作方法入参
-
数组作返回值



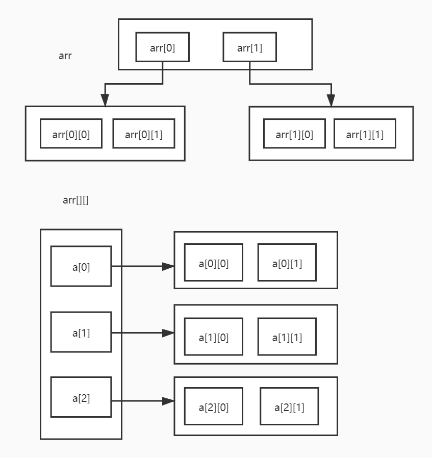
多维数组
-
多维数组可以看成数组的数组,比如二维数组就是一个特殊的一维数组,其每个元素都是一个一维数据。
-
二维数据:
int a [ ] [ ]=new int[2] [5];
-
解析:以上二维数组a可以看成一个两行五列的数组。


Arrays类
-
数组的工具类 java.util.Arrays
-
由于数组对象本身并没有什么方法可以供我调用,但API中提供了一个工具类Arrays供我们使用,从而可以对数据对象进行一些基本的操作。
-
查看JDK帮助文档。
-
Arrays类中的方法都是static修饰的静态方法,在使用的时候可以直接使用类名进行调用,而“不用”使用对象来调用。(注意:是“不用”而不是“不能”)
-
具体以下常用功能:
-
给数组赋值:通过fill方法。
-
对数组排序:通过sort方法按升序。
-
比较数组:通过equals方法比较数组中元素是否相等。
-
查找数组元素:通过binarySearch方法能对排序好的数组进行二分查找法操作。
-



浙公网安备 33010602011771号