dcybd

导航

 

1.表格展示总任务量,已花费时间,剩余时间

总任务量 已花费时间 剩余时间
90h 72 18

2.任务看板截图

3.燃尽图

4.每日会议截图

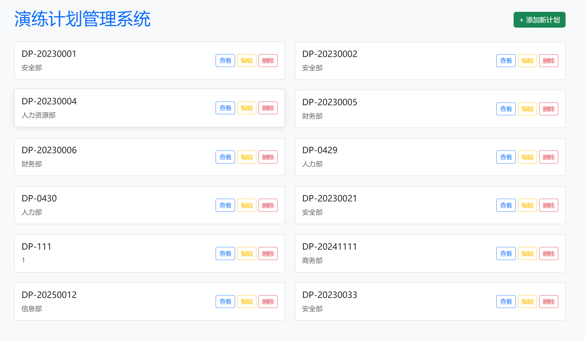
5.最新做好的功能
(1)完成演练计划管理模块的计划表的删除操作
点击计划表的删除选项,

弹出提示让用户再次确认可进行删除,避免用户犯简单错误进行误删

(2)开始进行演练评估反馈功能的开发,实现了界面框架

(2)完成演练计划管理模块的功能整合

(3)

posted on 2025-05-14 16:13  大厂预备队  阅读(19)  评论(0)    收藏  举报