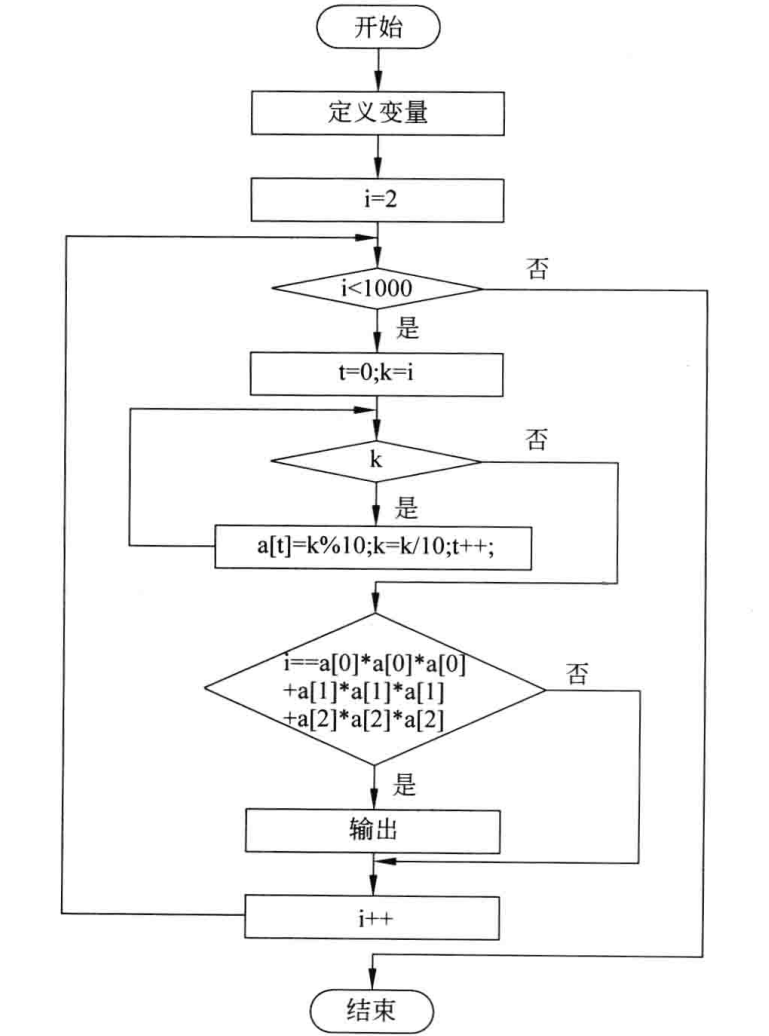
27.阿姆斯特朗数


#include <stdio.h>
int main()
{
int i,m,k,n;
for(n=1; n<=1000; ++n) //开始循环
{
k=n; //初始化
m=0;
while(k>0) //开始分解,求各个位数阶乘之和。
{
i=k%10;
m+=i*i*i;
k=k/10;
}
if(m==n&&m!=1) //判断是否符合
{
printf("%d ", m);
}
}
return 0;
}
浙公网安备 33010602011771号