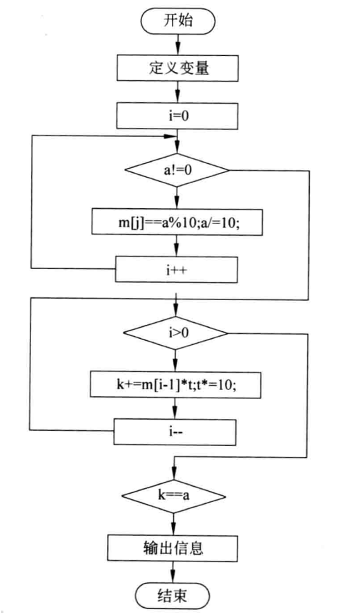
25.回文数


代码实现:
#include<bits/stdc++.h>
using namespace std;
int main()
{
int a,b,i,k,g=0;
scanf("%d%d",&a,&b);
for(i=a;i<=b;i++)
{
g=0;
k=i;
while(k>0)
{
g=g*10+k%10;
k=k/10;
}
if(g==i)
{
printf("%d\n",i);
}
}
return 0;
}
浙公网安备 33010602011771号