4.抓交通肇事犯
问题描述:
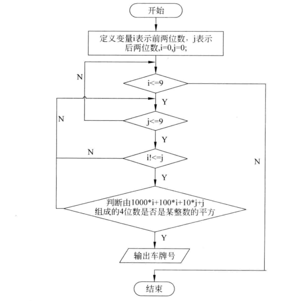
一辆卡车违反交通规则,撞人后逃跑。现场有三人目击该事件,但都没有记住车号,只记下车号的一些特征。
甲说:牌照的前两位数字是相同的;
乙说:牌照的后两位数字是相同的,但与前两位不同;
丙是数学家,他说:四位的车号刚好是一个整数的平方。
请根据以上线索求出车号。
问题分析:
按照题目的要求造出一个前两位数相同、后两位数相同且相互间又不同的 4 位整数,然后判断该整数是否是另一个整数的平方。
该题目是数值计算问题,求解不定方程。
对于这种求解不定方程组的问题,一般采用穷举循环。
首先设计双层循环穷举出所有由前两位数和后两位数组成的 4 位数车牌;
然后在最内层穷举出所有平方后值为 4 位数并且小于车牌号的数;
最后判断该数是否与车牌相等,若相等则打印车牌。、、
流程图:

代码:
int main()
{
int i = 0;//i代表前两位车牌号数字
int j = 0;//j代表后两位车牌号数字
int k = 0;//k代表车牌号
int temp = 0;
for (i = 0; i <= 9; i++)
{
for (j = 0; j <= 9; j++)
{
//判断前两位数和后两位数字是否不同
if (i != j)
{
//组成4位车牌号
k = 1000 * i + 100 * i + 10 * j + j;
//判断k是否是某个数的平方,若是则输出k
for (temp = 31; temp <= 99; temp++)
{
if (temp * temp == k)
{
printf("车牌号为:%d\n", k);
}
}
}
}
}
return 0;
}
浙公网安备 33010602011771号