缓存常见面试题(1)
(1)第一问,在项目中缓存是如何使用的?缓存如果使用不当会造成什么后果?
答:一个一个来看
(1)在项目中缓存是如何使用的?
这个,你结合你自己项目的业务来,你如果用了那恭喜你,你如果没用那不好意思,你硬加也得加一个场景吧
(2)为啥在项目里要用缓存呢?
用缓存,主要是俩用途,高性能和高并发
那么问题来了,如果不用缓存会是什么效果?
每次查询数据都要从数据库查,严重消耗数据库性能

用了缓存之后,我们来看下图所示:保证了高性能

接下来我们再看缓存是如何实现高并发的

(2)第二问,redis和memcached有啥区别?
这个事儿吧,你可以比较出N多个区别来,但是我还是采取redis作者给出的几个比较吧(第2,3点不重要)
1)Redis支持服务器端的数据操作:Redis相比Memcached来说,拥有更多的数据结构和并支持更丰富的数据操作,通常在Memcached里,你需要将数据拿到客户端来进行类似的修改再set回去。这大大增加了网络IO的次数和数据体积。在Redis中,这些复杂的操作通常和一般的GET/SET一样高效。所以,如果需要缓存能够支持更复杂的结构和操作,那么Redis会是不错的选择。
2)内存使用效率对比:使用简单的key-value存储的话,Memcached的内存利用率更高,而如果Redis采用hash结构来做key-value存储,由于其组合式的压缩,其内存利用率会高于Memcached。
3)性能对比:由于Redis只使用单核,而Memcached可以使用多核,所以平均每一个核上Redis在存储小数据时比Memcached性能更高。而在100k以上的数据中,Memcached性能要高于Redis,虽然Redis最近也在存储大数据的性能上进行优化,但是比起Memcached,还是稍有逊色。
4)集群模式:memcached没有原生的集群模式,需要依靠客户端来实现往集群中分片写入数据;但是redis目前是原生支持cluster模式的,redis官方就是支持redis cluster集群模式的,比memcached来说要更好
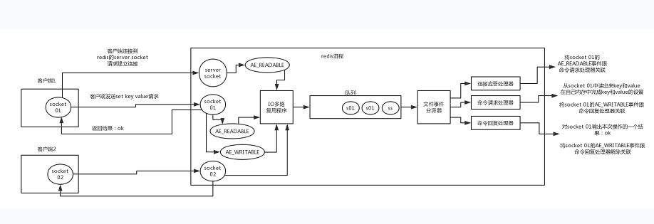
(3)第三问,redis的线程模型
1)文件事件处理器(下面整个图就是一个文件事件处理器)(redis内部核心原理图)
io多路复用程序(非阻塞,相当于可以多线程走法,接收socket就压入队列)的作用就是负责监听各个socket,然后把产生事件的socket压入队列
下图中的三个事件处理器虽然是单线程的,但是它是基于内存的,所以可能处理一个事件或命令只需要2ms,几毫秒,很快


(4)redis都有哪些数据类型?分别在哪些场景下使用比较合适?
第一类:string

第二类:hash


第三类:list

第四类:set

第五类:sorted set

(5)第五问,redis的过期策略都有哪些?内存淘汰机制都有哪些?手写一下LRU代码实现?
答:过期策略:①定期删除②惰性删除

上面的两种过期策略可能还是无法解决一些问题
答案是:走内存淘汰机制。
内存淘汰机制:


手写一下LRU代码实现

浙公网安备 33010602011771号