集群部署时的分布式session问题
首先说一下分布式session问题是什么?
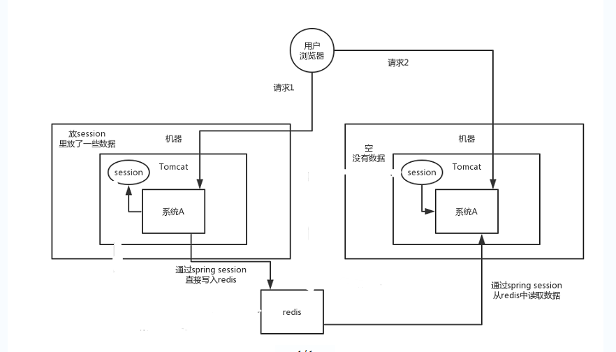
如下图所示,假如用户浏览器第一次发送请求(假设是写数据的请求)的时候,请求被分配到左边的服务器上面,然后往左边服务器的session里面存数据。然后用户浏览器第二次发送请求(假设是读数据的请求)的时候,请求被分配到右边的服务器上面,然后到右边服务器的session里面去取数据,肯定是取不到的。原因就是两边服务器的session数据不是一致的,不是同步的

面试题
集群部署时的分布式session如何实现?
面试官心里分析
面试官问了你一堆dubbo是怎么玩儿的,你会玩儿dubbo就可以把单块系统弄成分布式系统,然后分布式之后接踵而来的就是一堆问题,最大的问题就是分布式事务、接口幂等性、分布式锁,还有最后一个就是分布式session。
当然了,分布式系统中的问题何止这么一点,非常之多,复杂度很高,但是这里就是说下常见的几个,也是面试的时候常问的几个。
面试题剖析
session是啥?浏览器有个cookie,在一段时间内这个cookie都存在,然后每次发请求过来都带上一个特殊的jsessionid cookie,就根据这个东西,在服务端可以维护一个对应的session域,里面可以放点儿数据。
一般只要你没关掉浏览器,cookie还在,那么对应的那个session就在,但是cookie没了,session就没了。常见于什么购物车之类的东西,还有登录状态保存之类的。
这个不多说了,懂java的都该知道这个。
但是你单块系统的时候这么玩儿session没问题啊,但是你要是分布式系统了呢,那么多的服务,session状态在哪儿维护啊?
其实方法很多,但是常见常用的是两种:
第一种:tomcat + redis
这个其实还挺方便的,就是使用session的代码跟以前一样,还是基于tomcat原生的session支持即可,然后就是用一个叫做Tomcat RedisSessionManager的东西,让所有我们部署的tomcat都将session数据存储到redis即可。如下图所示,redis就起一个“中间桥梁”的作用,保持两边服务器的session里的数据同步,相一致

在tomcat的配置文件中,配置一下 ,如果是单机版的redis就按下面的方式配
<Valve className="com.orangefunction.tomcat.redissessions.RedisSessionHandlerValve" />
<Manager className="com.orangefunction.tomcat.redissessions.RedisSessionManager"
host="{redis.host}"
port="{redis.port}"
database="{redis.dbnum}"
maxInactiveInterval="60"/>
如果是redis集群版(基于redis哨兵支持的redis高可用集群来保存session数据),就按下面的方式来配 (小疑问:下面的配置文件为什么是配3台哨兵ip地址?)
<Valve className="com.orangefunction.tomcat.redissessions.RedisSessionHandlerValve" />
<Manager className="com.orangefunction.tomcat.redissessions.RedisSessionManager"
sentinelMaster="mymaster"
sentinels="<sentinel1-ip>:26379,<sentinel2-ip>:26379,<sentinel3-ip>:26379"
maxInactiveInterval="60"/>
第二种方式:spring session + redis
分布式会话的这个东西重耦合在tomcat中,如果我要将web容器迁移成jetty,难道你重新把jetty都配置一遍吗?
因为上面那种tomcat + redis的方式好用,但是会严重依赖于web容器,不好将代码移植到其他web容器上去,尤其是你要是换了技术栈咋整?比如换成了spring cloud或者是spring boot之类的。还得好好思忖思忖。
所以现在比较好的还是基于java一站式解决方案,spring了。人家spring基本上包掉了大部分的我们需要使用的框架了,spirng cloud做微服务了,spring boot做脚手架了,所以用sping session是一个很好的选择。如下图所示,redis作为两台服务器 公共的session存储器,相当于公共的session大仓库

pom.xml
<dependency>
<groupId>org.springframework.session</groupId>
<artifactId>spring-session-data-redis</artifactId>
<version>1.2.1.RELEASE</version>
</dependency>
<dependency>
<groupId>redis.clients</groupId>
<artifactId>jedis</artifactId>
<version>2.8.1</version>
</dependency>
spring配置文件中
<bean id="redisHttpSessionConfiguration"
class="org.springframework.session.data.redis.config.annotation.web.http.RedisHttpSessionConfiguration">
<property name="maxInactiveIntervalInSeconds" value="600"/>
</bean>
<bean id="jedisPoolConfig" class="redis.clients.jedis.JedisPoolConfig">
<property name="maxTotal" value="100" />
<property name="maxIdle" value="10" />
</bean>
<bean id="jedisConnectionFactory"
class="org.springframework.data.redis.connection.jedis.JedisConnectionFactory" destroy-method="destroy">
<property name="hostName" value="${redis_hostname}"/>
<property name="port" value="${redis_port}"/>
<property name="password" value="${redis_pwd}" />
<property name="timeout" value="3000"/>
<property name="usePool" value="true"/>
<property name="poolConfig" ref="jedisPoolConfig"/>
</bean>
web.xml
<filter>
<filter-name>springSessionRepositoryFilter</filter-name>
<filter-class>org.springframework.web.filter.DelegatingFilterProxy</filter-class>
</filter>
<filter-mapping>
<filter-name>springSessionRepositoryFilter</filter-name>
<url-pattern>/*</url-pattern>
</filter-mapping>
示例代码
@Controller
@RequestMapping("/test")
public class TestController {
@RequestMapping("/putIntoSession")
@ResponseBody
public String putIntoSession(HttpServletRequest request, String username){
//因为上面在web.xml里面配了过滤器,所以下面的request.getSession是获取的redis里的session数据
request.getSession().setAttribute("name", “leo”);
return "ok";
}
@RequestMapping("/getFromSession")
@ResponseBody
public String getFromSession(HttpServletRequest request, Model model){
//因为上面在web.xml里面配了过滤器,所以下面的request.getSession是获取的redis里的session数据
String name = request.getSession().getAttribute("name");
return name;
}
}
上面的代码就是ok的,给sping session配置基于redis来存储session数据,然后配置了一个spring session的过滤器,这样的话,session相关操作都会交给spring session来管了。接着在代码中,就用原生的session操作,就是直接基于spring sesion从redis中获取数据了。
实现分布式的会话,有很多种很多种方式,我说的只不过比较常见的两种方式,tomcat + redis早期比较常用;近些年,重耦合到tomcat中去,通过spring session来实现。

浙公网安备 33010602011771号