多项式之和
一、问题描述:

二、设计思路:
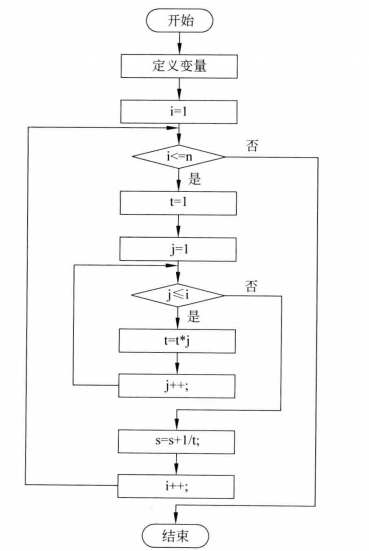
三、程序流程图:

四、代码实现:
#include<stdio.h> int main() { double S=0; int i,j,x; double temp=1; printf("请输入一个数字求到这个数字的多项式之和\n"); scanf("%d",&x); for(i=0;i<x;i++) { temp=1; for(j=1;j<=i+1;j++) { temp*=j; } S+=1/temp; } printf("%f",S); return 0; }


浙公网安备 33010602011771号