阿姆斯特朗数
一、问题描述:

题目有带点错误是5的三次方
二、设计思路:

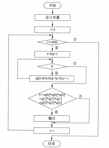
三、程序流程图:

四、代码实现:
#include<bits/stdc++.h> int main() { int n,a[3],i,m=0; for(n=2;n<1000;n++) { int k=n;m=0; for( i=0;k;i++) { a[i]=k%10; k/=10; } for(;i>=0;i--) { m+=pow(a[i],3); } if(n==m) { printf("%d\n",n); } } return 0; }

和水仙花数一个道理,至是不一定为三位数字了,可以自主扩大数组a[i]的个数来存储每一位数字,然后分别三次方

浙公网安备 33010602011771号