会员
众包
新闻
博问
闪存
赞助商
HarmonyOS
Chat2DB
所有博客
当前博客
我的博客
我的园子
账号设置
会员中心
简洁模式
...
退出登录
注册
登录
bzsc
博客园
首页
新随笔
联系
订阅
管理
回文数
一、问题描述:
二、设计思路:
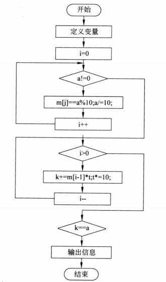
三、程序流程图:
四、代码实现
posted @
2023-05-08 23:01
软件拓荒人
阅读(
18
) 评论(
0
)
收藏
举报
刷新页面
返回顶部
公告