求车速
一、问题描述:

二、设计思路:

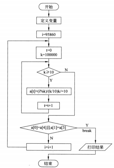
三、程序流程图:

四、代码实现:
#include<stdio.h>
int main()
{
int t,a[5];
long int i,k;
for(i=95860;;i++)
{
for(t=0,k=100000;k>=10;t++)
{
a[t]=(i%k)/(k/10);
k/=10;
}
if((a[4]==a[0])&&(a[3]==a[1]))
{
float V=0;
V=(i-95859.0)/2;
printf("该车的速度为:%0.2f\n",V);
printf("新的对称数为:%ld\n",i);
printf("\n");
break;
}
}
return 0;
}
int main()
{
int t,a[5];
long int i,k;
for(i=95860;;i++)
{
for(t=0,k=100000;k>=10;t++)
{
a[t]=(i%k)/(k/10);
k/=10;
}
if((a[4]==a[0])&&(a[3]==a[1]))
{
float V=0;
V=(i-95859.0)/2;
printf("该车的速度为:%0.2f\n",V);
printf("新的对称数为:%ld\n",i);
printf("\n");
break;
}
}
return 0;
}

今天去了植物园,昨天去了漫展,太好玩了,我的五一假期到此结束啦,该收心了,我会狂泻(写)代码的,(doge.jpg)。

浙公网安备 33010602011771号