寒假第二天
寒假第二天
https://blog.csdn.net/weixin_41779359/article/details/86234058
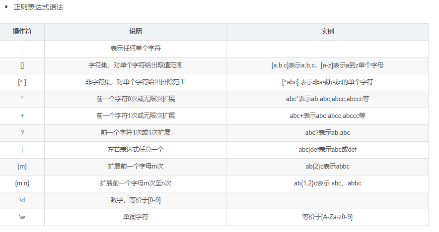
今天对于正则表达式进行深入学习:
还是上篇博客谈及的博主,在第三章中有讲到该方法爬虫正则表达式的用法,如下图:(可以打开链接深入学习)

例如上篇博客的 .*? 结合例子 <.*?> 就是 在< 之后单个字符匹配任意次数。
参考链接:https://zhidao.baidu.com/question/297472922.html
问题就是为什么不能用 .* 非要用 .*? :因为 .*是贪婪匹配;而.*?是非贪婪匹配(匹配到符合规定的最小范围)
例如:<H1>Chapter 1 - 介绍正则表达式</H1>
使用/<.*>/匹配的结果为:H1>Chapter 1 - 介绍正则表达式</H1。
使用/<.*?>/匹配结果为:H1。

浙公网安备 33010602011771号