5.22打卡




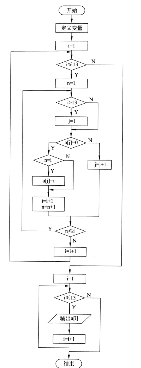
3.程序流程图

4.代码实现
#include<bits/stdc++.h> using namespace std; int a[14]; main() { int i, j=1, n; printf("ħÊõʦÊÖÖеÄÅÆÔʼ³ÌÐòÊÇ£º\n"); for(i=1;i<=13;i++) { n=1; do { if(j>13) j=1; if(a[j]) j++; else { if(n==1) a[j]=i; j++; n++; } }while(n<=1); } for(i=1;i<=13;i++) printf("%d ", a[i]); printf("\n"); }
5.测试截图


浙公网安备 33010602011771号