5.20打卡



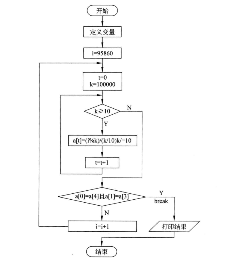
3.程序流程图

4.代码实现
#include<bits/stdc++.h> using namespace std; int main() { int t, a[5]; long int k, i; for(i=95860;;i++) { for(t=0,k=100000;k>=10;t++) { a[t]=(i%k)/(k/10); k/=10; } if((a[0] == a[4]) && (a[1] == a[3])) { printf("Àï³Ì±íÉϳöÏÖµÄеĶԳÆÊýΪ£º%d%d%d%d%d\n", a[0],a[1],a[2],a[3],a[4]); printf("¸Ã³µµÄËÙ¶ÈΪ£º%.2f\n", (i-95859)/2.0); break; } } }
                    
                
                
            
        
浙公网安备 33010602011771号