4.17打卡

二.设计思路
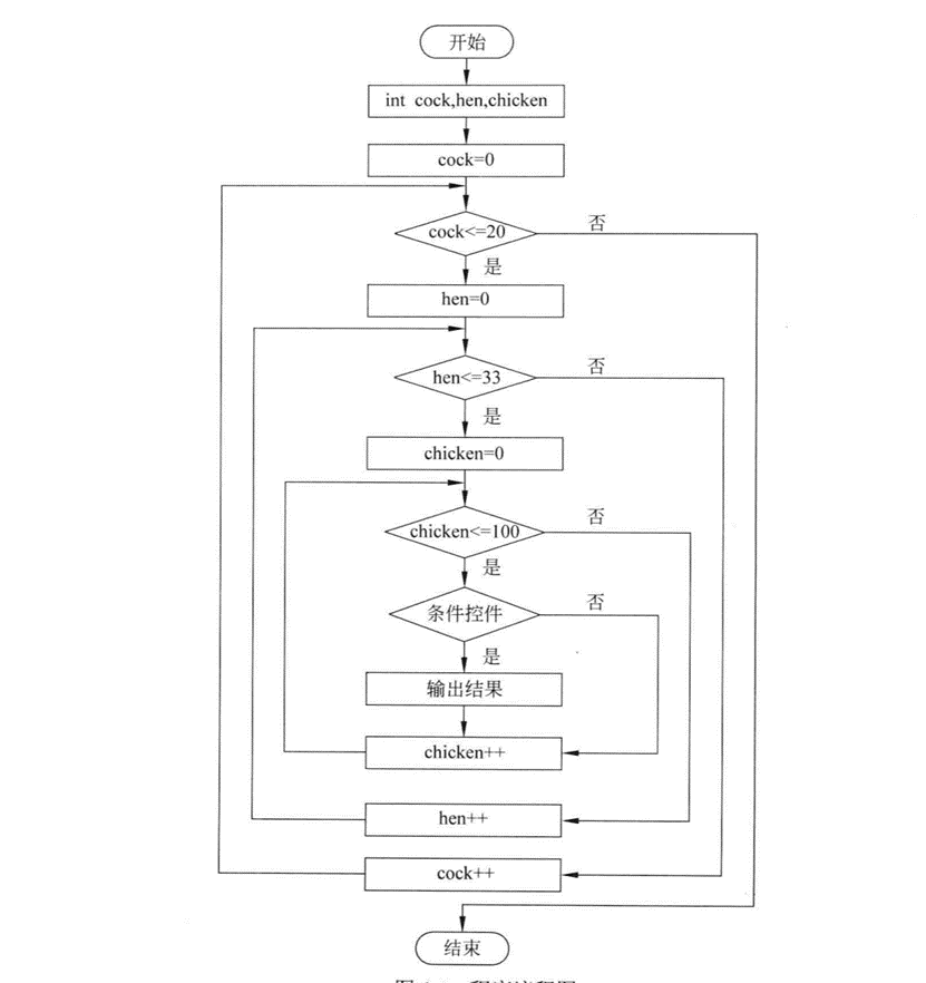
1.初始化cock,hen,chicken;
2.套入循环
①最外层循环控制cock值小于等于20;
②内层循环控制hen值小于等于33,cock增加;
③内层循环控制chicken小于等于100,hen增加;
④代入cock,hen和chicken的值进行运算,如果价格总和等于100,则进行下一步输出结果,不等的话chicken继续增加;
#include<bits/stdc++.h> using namespace std; int main(){ int cock , hen, chicken; for(cock = 0; cock <= 20; cock ++) { for(hen = 0; hen <= 33; hen ++) { for (chicken = 0; chicken <= 100 ; chicken ++) { if(cock + hen + chicken == 100 && cock * 5 + hen * 3 + chicken / 3.0 == 100) { cout <<"cock is" << cock << ", "<< "hen is" << hen <<", "<< "chicken is" << chicken <<endl; } } } } return 0; }


浙公网安备 33010602011771号