基本运算符
基本运算符
- 算术运算符
- 比较运算符
- 赋值运算符
- 逻辑运算符
- 成员运算符
- 身份运算符
一、算术运算符
+(加) -(减) *(乘) /(除) //(取整除) %(取模) **(幂)

二、比较运算符
== 判断值是否相等
!= 值不等于

三、赋值运算符
=
- 增量赋值
n = 0
n = n + 1 # n += 1
n = n - 1 # n -= 1
n = n * 1 # n *= 1
n = n / 1 # n /= 1

- 链式赋值
# x = 1
# y = x
# z = y
x = y = z = 1
- 交叉赋值
方式1:利用中间变量
m = 10
n = 999
tmp = m
m = n
n = tmp
print(m, n)
方式2:交叉赋值
m, n = n, m
print(m, n)
-
解压赋值
如果我们想把列表中的多个值取出来依次赋值给多个变量名,可以这么做:
nums = [11, 22, 33, 44, 55]
方式1:依次赋值
a = nums[0]
b = nums[1]
c = nums[2]
d = nums[3]
e = nums[4]
print(a, b, c, d, e)
11 22 33 44 55 # 结果
方式2:解压赋值
a, b, c, d, e = nums #左右两边个数相等
print(a, b, c, d, e)
11 22 33 44 55 # 结果
进阶用法:可以打破上述规则 特殊符号 *
a, *_, e = nums
print(a, *_, e) # 结果为: 11 [22, 33, 44] 55
a, *_ = nums
a, b, *_ = nums
*可以接受多余的元素,组织成列表赋值给后面的变量名
下划线单独作为变量名,通常表达的意思是指向的值没啥用
四、逻辑运算符
在Python中逻辑运算符就三个
and 与
用于连接多个条件并且多个条件必须都成立才可以
or 或
用于连接多个条件但只要有一个条件成立即可
not 非
取反
print(2 > 1 and 1 != 1 and True and 3 > 2)
print(2 > 1 or 1 != 1 or True or 3 > 2)
print(not True)
三个符号混合如果混合使用是有优先级的
但是我们在编写的时候应该人为的规定好优先级

五、成员运算符
判断某个个体在不在某个群体内
关键字:in(在) not in(不在)
nums_list = [11, 22, 33, 44, 55]
num = input('请输入您要查询的数字:') # 输入:11
print(int(num) in nums_list) # 输出:True
print(int(num) not in nums_list) # 输出:False
print('j' in 'jason j') # 输出:True
print('jason' in {'username': 'jason', 'age': 18}) # 输出:False
字典默认暴露给外界的只有K
print('username' in {'username': 'jason', 'age': 18}) # 输出:True

六、身份运算符
判断两个数据的值和内存地址是否相等
符号:==(只判断值) is(判断内存地址)
s1 = ['jason', 'kevin', 'tony', 'jackson']
s2 = ['jason', 'kevin', 'tony', 'jackson']
print(s1 == s2) # True
# print(id(s1),id(s2))
print(s1 is s2) # False
值相等内存地址不一定相等
内存地址相等值一定相等

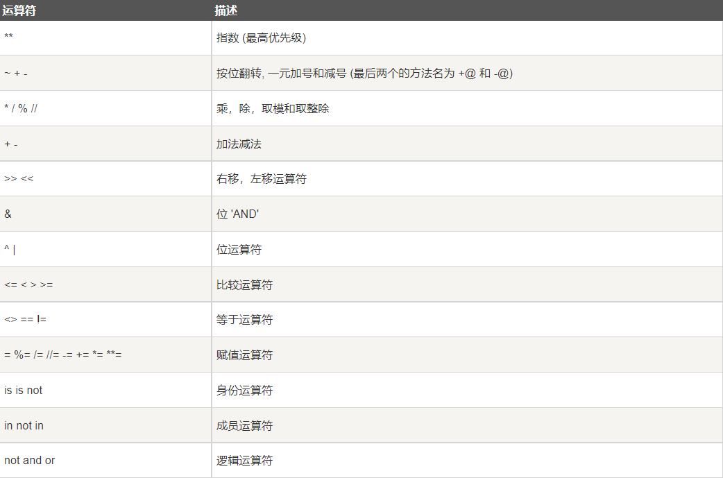
Python运算符优先级


浙公网安备 33010602011771号