第八周软件工程学习知识总结(《数据结构与算法》《数据科学概论 》)
一.数据结构与算法
第一章、线性表
一.线性表的逻辑结构:n个类型相同数据元素(data element)的有限序列
数据元素可由若干数据项(data item)组成
二.线性表的特点
1.同一性:类型相同
2.有穷性:由有限个数据元素组成
3.有序性:相邻数据元素之间存在着次序
三.有序线性表
一个线性表 (linear list) 是 n 个类型相同数据元素(homogeneous data element) 以线性 (linear, 一维结构) 的方式排列。线性表的元素可以是没有顺序的 (non-ordered) 或是有顺序的 (ordered);如果是有顺序的线性表,它的顺序可以是递增的 (increasing, 由小而大排序) 或递减的 (decreasing, 由大而小排序)。我们将先介绍有序线性表 (ordered liner list),且考虑其顺序为递增的。
1.有序线性表的数据可以是整数 (integer)、有理数 (ratioanl number)、实数 (real number)。
2.有序线性表的元素不可以是复数 (complex number),因为复数不能比较大小,无顺序可言。
3.有序线性表的数据可以是包含学号、姓名、专业、生年月日、入学年月、电邮帐号、手机号的学生数据。学生数据可以依照学号或姓名排序。
有序线性表的存储是一维的空间:

有序线性表的基本操作:
initial(L) : 初始化线性表 L,此时的线性表是空的,没有任何元素。
getSize(L) : 取得线性表 L 的長度,返回元素个数。
getCapacity(L) : 取得线性表 L 的内存容量。(不适合固定数组线性表)
getElem(L, i) : 从 L 取出第 i 个位置的元素 e,i0;返回 e 。
search(L, e) : 搜寻元素 e 在 L 中的位置,若成功,返回 e 的索引 (下标);否则,返回 -1。
delete(L, e) : 从 L 删除元素 e。搜寻第一个等于 e 的元素位置,假设为 i,将位置 i 之后的元素往前移一个位置,返回 i 的值。若 L 没有任何元素等于 e, 返回 -1。下图 n 为线性表元素个数。
destroy(L) : 将线性表 L 销毁。(不适合固定数组线性表)
clear(L) : 将线性表 L 清空。
is_empty(L) : 检查线性表 L 是否为空表。

使用数组实现有序线性表
在 C 程序语言可使用数组 (array) 实现有序线性表:
固定数组 (fixed-size array):
#define MAXSIZE 100 // 有序线性表元素上限,可以是任何正整数
typedef struct {
ElemType elem[MAXSIZE]; // 元素类型的固定数组
int size; // 有序线性表的元素个数,0 至 MAXSIZE;初始值为 0。
} List;
动态数组 (dynamic array):
#define SEGMENT 50 // 有序线性表元素每段长度
typedef struct {
ElemType *elem; // 元素类型的动态数组指针
int size; // 有序线性表的元素个数,初始值为 0。
int capacity; // 有序线性表内存容量。
} List;
固定数组的有序线性表
有序线性表基本操作介面:
使用 C 程序语言的固定数组 (fixed-size array) 实现有序线性表。
// 初始化线性表 L,将 size设为 0。
void initial(List *L);
// 线性表 L 的長度,返回元素个数,即 size。
int getSize(List L);
// 从 L 取出位置 i 的元素 e, 0i<size,返回 e,否则,返回 -1。
ElemType getElem(List L, int i);
// 搜寻元素 e 在 L 中的位置。若成功,返回 e 的位置;否则,返回 -1。
int search(List L, ElemType e);
// 将元素 e 插入到 L 适当的位置。若成功,返回 e 的位置;
// 否则,返回 -1。
int insert(List *L, ElemType e);
使用 C 程序语言的固定数组 (fixed-size array) 实现有序线性表。
有序线性表基本操作介面:
// 从 L 删除元素 e。若成功,返回 e 原来的位置;否则,返回 -1。
int delete(List *L, ElemType e);
// 将线性表 L 清空。
void clear(List *L);
// 檢查线性表 L 是否為空表。若是空,返回 1;否则,返回 0。
int is_empty(List L);
假设线性表的元素是介于 0 与 99 之间的随机整数,且线性表最多是 100 个元素。写一个 C 程序语言的程序实现固定数组的有序线性表。主程序中,创建两任意长度的线性表 L1 与 L2,打印两个线性表。(1) 将 L1 和 L2 合并 (merge);若两个表的总元素超过线性表的上限,舍弃超出的 L1 与 L2 元素;打印合并后的线性表。(2) 自 L1 中移除 (remove) 所有 L2 的元素;打印移除后的线性表。
执行代码如下:











运行结果如下


二、数据科学概论
一.Web Scraping
1.Web Scraping介绍:
数据集或API形式中不存在许多数据。许多这些数据存在于互联网上,在我们与之互动的网页中。在不等待提供者创建API的情况下访问这些数据的一种方法是使用一种称为Web Scraping的技术。
Web Scraping允许我们将网页加载到Python中,并提取我们想要的信息。然后,我们可以使用正常的数据分析工具,如pandas和numpy来处理数据。
为了进行Web Scraping,我们需要了解我们正在使用的网页的结构,然后找到一种以合理的方式提取该结构的部分的方法。
当我们了解Web Scraping时,我们将大量使用请求库,它使我们能够下载一个网页,以及美丽的soup库,它使我们能够提取网页的相关部分。
2、为什么要进行web scraping
1.如果只会通过浏览器访问互联网,我们将会丧失许多的可能。尽管浏览器可以很方便处理JavaScript脚本,展示图片,以人类可读的方式处理对象,但是web scraper更适合于收集和处理大量数据。因而,你不用一次只在一个小窗口里浏览一个页面,你可以一次性浏览上千甚至上百万的页面。
2.其次,web scraper还可以做传统搜索引擎做不了的工作。如果你用搜索引擎搜索“去往A市最便宜的航班”,那么你可能得到大量的广告或者是一些航班搜索站点。搜索引擎只知道这些网站的内容页面,却不知道针对具体问题的准确答案。然而一个开发良好的web scraper可以造访若干网站,记录通往A市的航班的价格,最终告诉你购票的最佳时间。
3.有些人可能会问,为什么不使用某些API呢?当然,如果恰好你能找到适合你的API,那再好不过。但是,也有一些原因导致某些你想要的API不存在:
(1)某些你想要获得数据的站点,不提供相应的API
(2)你需要的数据量较小、有限,所以站点管理员不认为这需要一些API
(3)该数据源的管理者,没有相应的基础设施和技术能力进行API的开发
即使存在相应的API,也会存在种种原因使得你的目的不能被满足
3.网络结构(Webpage Structure)
网页以超文本标记语言(HTML)编码. HTML不像Python那样是一种编程语言,但它是一种标记语言,有自己的语法和规则。 当浏览器,如Chrome或Fire fox,下载网页时,它会读取HTML以了解如何呈现网页并显示给您。
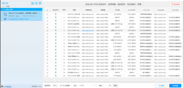
二.利用后羿采集器进行网络数据采集
1.实际操作:
进入京东商城采集有关华为手机的所有型号,在搜索栏中键入华为,后点击搜索按钮元素一次,后点击手机分类选项,提取列表中有关华为手机的数据,并进行采集以及导出的数据。









浙公网安备 33010602011771号