堃鑫集团第三周工作汇报
本周工作内容
- 宇乾:完成了技术方案生成提示词工程v1.0的交付,并且接收到了工程师的修订反馈意见。节后将按照问题反馈进行版本修订。
2.财务:与财务进行座谈后,财务部门提出来三大类问题。
(1)数据保密性问题。---已解决
(2)科德铭通设备的库存实时更新问题。---需要做一个仓库管理系统,开发周期长,暂不考虑。
(3)印花税表格填写,正坤,宇乾,昊昌的研发部收支表统计。---已解决印花税。
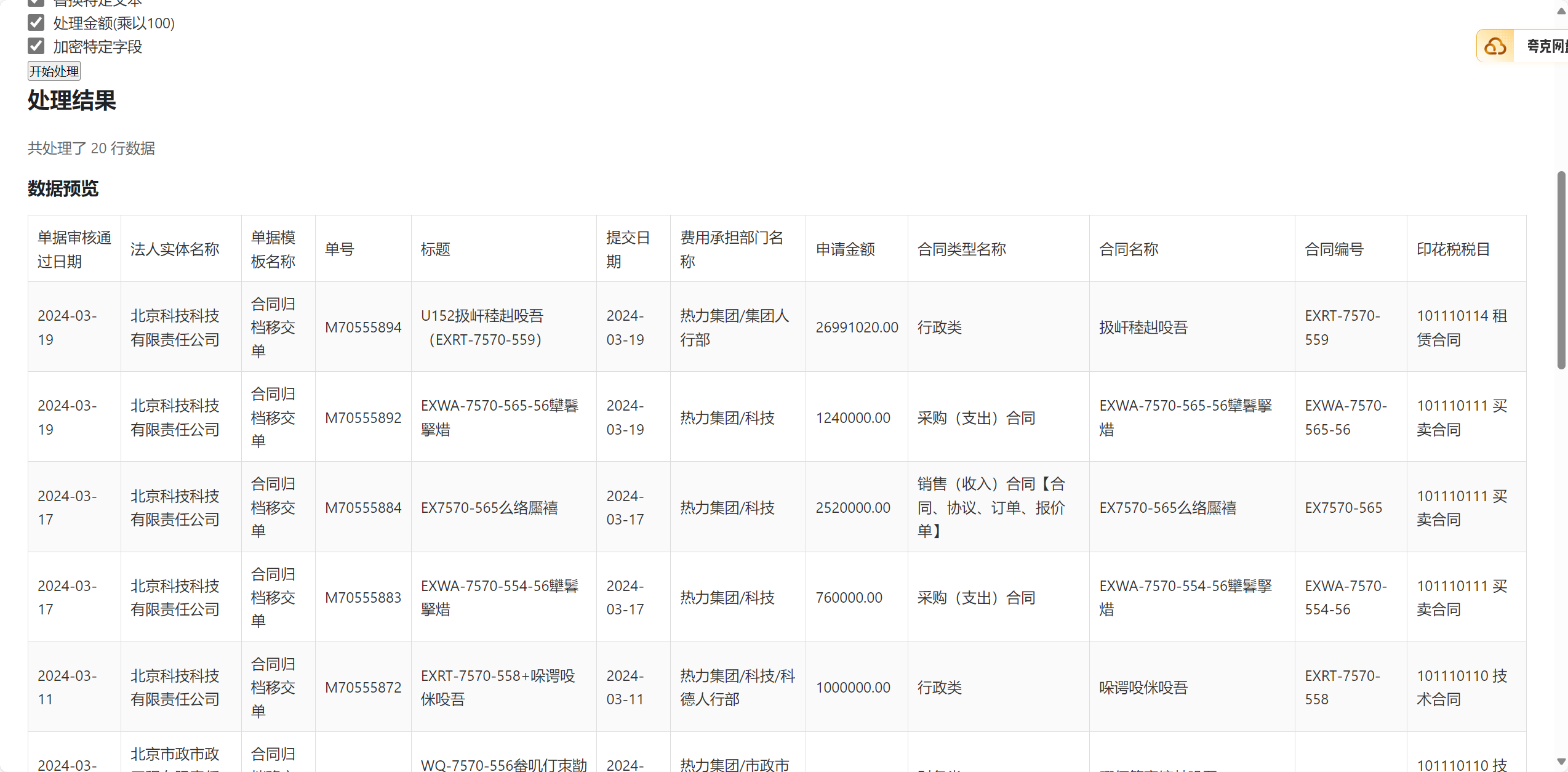
财务数据保密性问题:
出于数据安全考虑,无法将财务数据直接交于AI处理,会产生企业财务数据泄露重大事故。对此设计了财务数据表的加密程序,该程序在本地加密处理财务Excel表,进行编码后的表格可交与ai处理,处理后的表格可进行解密操作。加密步骤如下:

首先点击加密页面,其次上传Excel。

可在加密页面进行加密选项选择,加密方式包括,日期年份减去一年,集团信息名词替换,合同等其他可进行选择性编码加密。

点击开始处理后,加密结果遍显示在页面上。点击下载,即可下载该加密表格。

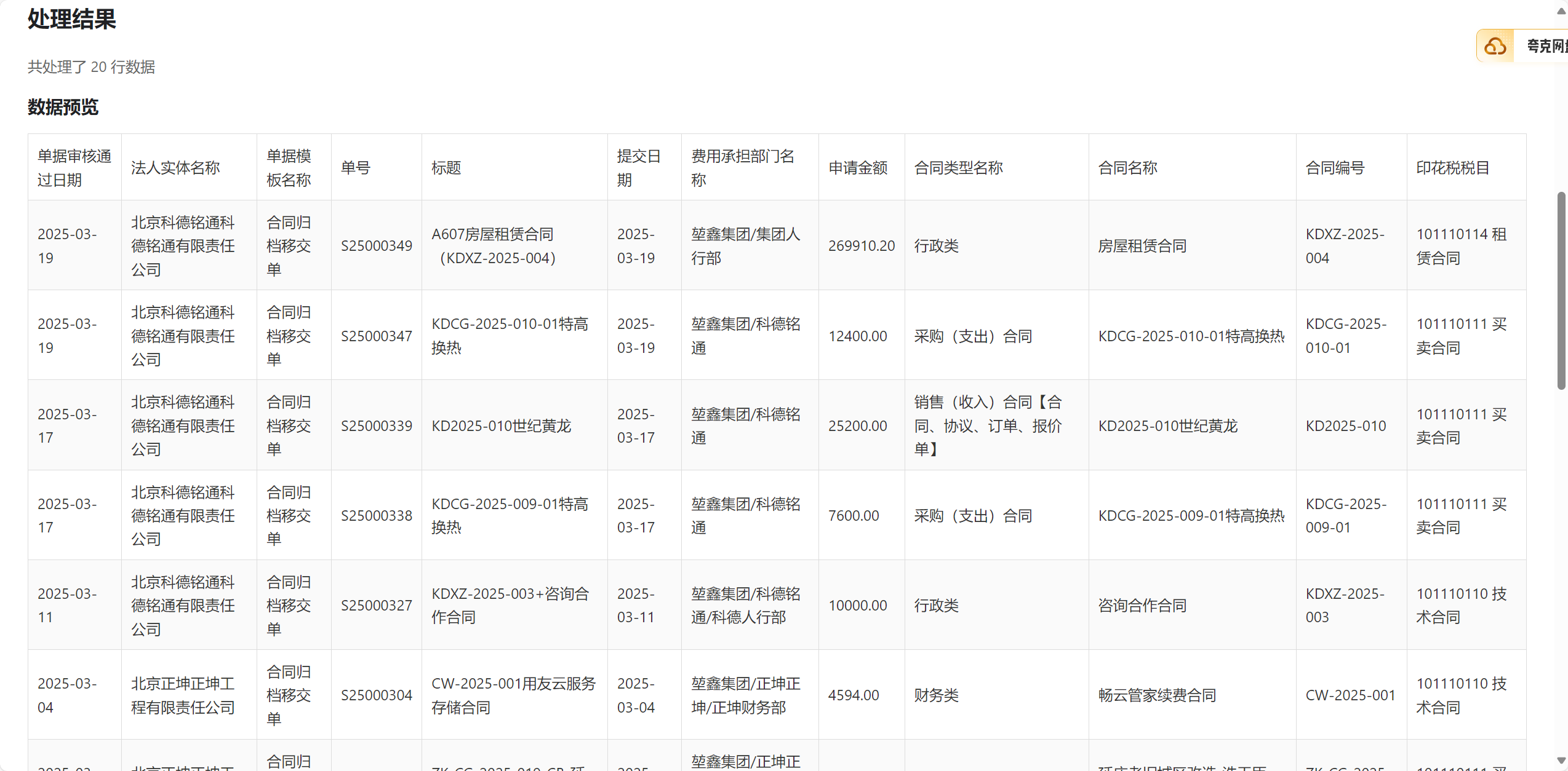
解密时,则将AI处理好的表格在解密界面上传,设置好需要解密的表头后,点击开始处理,即可完成解密。

解密表格也可下载为Excel。
印花税表格的一键填写:
趋于表格信息的按列填写,AI可做到该填写需求,但是需要构造提示词,且操作有些繁琐并且涉及数据泄露。编写本地页面程序完成列表填写与税率计算,方便快捷。



数据表格下载完成后,可进行直接复制➕格式刷,便可完成模板式填写。
下周工作内容
1.与正坤进行方案生成的沟通。
2.宇乾业务招标信息的获取。
近期及第一阶段的工作主要集中于企业需求获取上,部分完成或已完成的项目,可为后期进行技术积累与需求获取的争取度保证上做一个很好的铺垫。
浙公网安备 33010602011771号