用户认证实验报告
拓扑图:

要求:

需求1:

需求2:

需求3:

需求4:

需求5:

需求6:






需求7:





[sw2]int g 0/0/2
[sw2-GigabitEthernet0/0/2]port link-type access
[sw2-GigabitEthernet0/0/2]port default vlan 10
[sw2-GigabitEthernet0/0/2]int g 0/0/3
[sw2-GigabitEthernet0/0/3]port link-type access
[sw2-GigabitEthernet0/0/3]port default vlan 20
[sw2-GigabitEthernet0/0/3]int g 0/0/1
[sw2-GigabitEthernet0/0/1]po li t
[sw2-GigabitEthernet0/0/1]po tr al v 10
防火墙ip

DHCP
[FW]dhcp enable
[FW]int g 1/0/1.1
[FW-GigabitEthernet1/0/1.1]dhcp select interface
[FW-GigabitEthernet1/0/1.1]int g 1/0/1.2
[FW-GigabitEthernet1/0/1.2]dhcp select interface




[FW]firewall zone name Trust_A
[FW-zone-Trust_A]set priority 70
[FW-zone-Trust_A]add interface GigabitEthernet 1/0/1.1
[FW]firewall zone name Trust_B
[FW-zone-Trust_B]set priority 80
[FW-zone-Trust_B]add interface GigabitEthernet 1/0/1.2



管理员配置



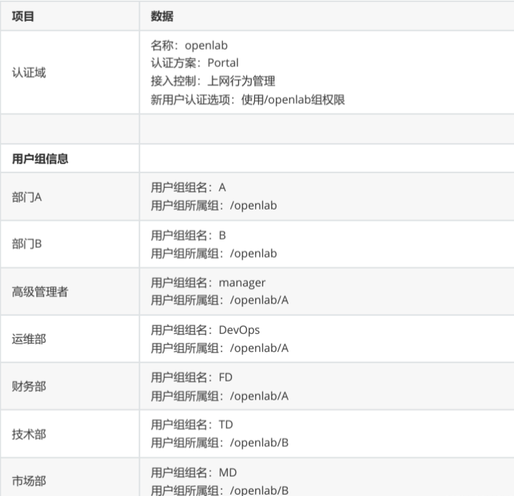
用户认证配置




用户认证策略配置

安全策略配置


浙公网安备 33010602011771号