推荐一些测序芯片中TPI胶膜的应用案例-芯晨微纳河南光电科技有限公司-专注于河南郑州激光切代加工(割雕刻打孔焊接打标镭雕剥离划线表面改性处理)-委外加工外协加工
TPI胶膜在测序芯片中有多种应用案例,常见于因美纳(Illumina)等品牌的测序芯片,主要用于芯片部件的键合与封装等,以下是具体介绍:
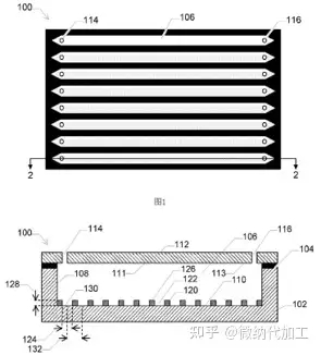
- Nextseq550测序芯片:采用Random FC结构,其组成包括基板-中间层-盖板,中间层使用了杜邦的TPI胶膜,且对TPI胶膜进行炭黑浸渍或苯基叠氮修饰,通过IR激光键合技术实现各层之间的连接,保证芯片结构的稳定性和密封性。
![v2-8b56aa436c6458e2b9d66918be09a71b_1440w]()
![v2-6a9a41c6e5d5bb238a290898c4823e94_1440w]()
- Hiseq2000测序芯片:属于Patterned FC类型,结构为基板-树脂纳米孔阵列-中间层-树脂纳米孔阵列-盖板,其中间层同样采用了杜邦的TPI胶膜,借助IR激光键合工艺,使芯片能够正常进行DNA样本的固定、扩增和测序等操作。
![v2-f1f51274785594dc58162b8d7a6492b9_1440w]()
![v2-1ea3473db0c3bd386acc09cc9f815f6e_720w.webp]()
![微信图片_20250228105745]()
- 电场辅助核酸捕获的流通池:在构建电场辅助核酸捕获的流通池(带ITO导电层)时,可先在D263B玻璃上沉积ITO膜,经O2 Plasma羟基化等一系列处理后,进行TPI激光切割,再对TPI膜O2 Plasma活化,在ITO表面沉积Au/Cr,最后通过IR激光键合,TPI胶膜在其中起到了关键的连接和绝缘等作用,保障流通池的正常功能。
- 超薄多层挠性板测序芯片:在制作超薄多层挠性板用于测序芯片相关部件时,可采用载板的无芯基板工艺、MSAP工艺搭配TPI材料。通过在载板表面压合TPI胶膜与铜箔等操作,形成多层挠性板,TPI胶膜可解决挠性板内层薄板制程加工皱折问题,同时降低常规多层挠性板采用纯胶压合带给HDI板的风险。
【厂家】芯晨微纳(河南)光电科技有限公司,专注于激光微纳代加工,公司拥有大幅面视觉激光器(CCD)、巡边切割机、雕刻机、打标机、焊接机及配套检测设备,加工内容包括但不限于激光切割、雕刻、打标、焊接、打孔、划线、毛化、表面改性处理等。可加工材料包括亚克力、木板、玻璃、纸张、服饰面料皮革鞋包布匹、塑料等。请搜索(1)拼多多店铺“芯晨微纳河南光电科技”(2)小红书“芯晨微纳私人订制”(3)淘宝店铺“芯晨微纳私人定制”(4)闲鱼店铺“芯晨微纳河南激光代加工”选购产品。支持一件包邮,一件代发,货源充足,价格最优!
另外,支持私人订制,承接各种毕业设计代加工,具有丰富的图纸设计和加工经验,欢迎垂询!!
image
关键词:河南省郑州市、激光代加工、激光焊接、激光打标、激光切割、激光雕刻、激光打孔、激光毛化、激光分切、亚克力代加工、亚克力激光加工、浇铸型亚克力板、挤压型亚克力板、光学玻璃BF33、D263T、D263B、CVD硅烷修饰、二代基因测序芯片键合(Flowcell Bonding)、基因测序技术支持、激光微纳代加工
简介:芯晨微纳(河南)光电科技有限公司,专注于激光微纳代加工、设备/耗材代理销售、设备租赁、技术推广服务,可处理材料类型及应用范围十分广泛,欢迎来电咨询(韩经理18236905768)。
主要业务:(1)激光焊接;(2)激光雕刻打标;(3)激光切割;(4)激光打孔;(5)激光表面改性(亲疏水/热处理/毛化/除锈等)(6)激光器、耗材、生物芯片等代理销售;(7)设备租赁(大幅面打标机、大幅面CCD视觉激光器);(8)技术支持
应用领域:广告设计代加工、不锈钢金属制品、生物医药、医疗器械、半导体、新能源、微电子、传感器、汽车配件、轨道交通、3C消费品、工艺礼品玩具、翡翠珠宝、家具装饰、鞋包服饰、商标绣花、食品包装、科研高校等
地址:河南省郑州市管城区文兴路与鼎尚街交叉口万盟电商园1号楼3楼
优势:免费打样+全面配合客户打样测试+个性化定制服务+价格全域最低
优势:拥有大功率大幅面CCD视觉激光切割雕刻机,可切割大尺寸亚克力板、PC/PP/PVC/ABS等面板,切割+雕刻同时作业,切割边缘光滑五毛刺,不需要二次打磨处理,全省价格最低
文章来源
网络、新闻采访、专利等公开信息,仅用于学习
文章由芯晨微纳(河南)光电科技有限公司搜集整理
好文要顶 关注我 收藏该文 微信分享





浙公网安备 33010602011771号